Материал: ТММ в_авиастроении

Внимание! Если размещение файла нарушает Ваши авторские права, то обязательно сообщите нам

5.3.2. Коэффициент удельного скольжения

Коэффициентом удельного скольжения называется отношение скорости скольжения Vсk к относительной скорости перемещения точки контакта вдоль сопряженного профиля (рис. 5.6).

О2 ω2

β2

τ

 

 

Vk2

 

Vk2

N2

Vτ

Vck

k1

k

 

W

Vk1

 

N1 β1

 

 

О1

 

ω1

 

 

 

 

 

 

 

 

Рис. 5.6. К определению удельного скольжения

 

ϑ =

V

,

 

 

(5.12)

 

 

Vτ

 

где

 

 

 

 

 

Vск = VK1τ VK2τ = l WKω12 = l WK (ω1 ± ω2 ) .

(5.13)

Знак «+» соответствует внешнему зацеплению, знак «–» внутреннему. Скольжение зубьев друг по другу вызывает износ рабочих поверхностей.

Только в полюсе зацепления W скорость скольжения равна нулю. Скольжение будет тем больше, чем дальше от полюса находится точка зацепления. Коэффициент удельного скольжения характеризует взаимное скольжение сопряженных профилей. Формулы для определения коэффициента удельного скольжения для различных точек профиля приведены в табл. 5.3. Коэффициенты скольжения зависят от коэффициентов смещения х1 и х2. Оптимальный выбор коэффициентов смещения

66

позволяет получить значения коэффициентов удельного скольжения, отвечающих условиям эксплуатации.

5.3.3. Коэффициент удельного давления

Этот коэффициент характеризует поверхностную прочность зуба и имеет значение при расчете на контактную прочность активных поверхностей зубьев, определяется по формуле:

m mN N

qk = ρ = 1 2 , (5.14)

N1k N2k

где ρ – приведенный радиус кривизны эвольвентных профилей в точке контакта.

 

 

 

 

 

 

 

 

 

 

 

 

 

 

 

 

 

 

 

В полюсе зацепления

qW =

 

mN1N2

 

 

 

 

 

 

 

 

N1w N2w

 

 

 

 

 

 

 

 

 

 

 

 

 

 

 

1

=

1

+

1

=

ρ1 + ρ2

.

 

 

 

 

 

 

 

 

 

ρ

ρ

ρ

 

 

 

 

 

 

 

 

 

 

 

 

 

2

 

ρ ρ

2

 

 

 

 

 

 

 

 

 

 

 

 

1

 

 

 

1

 

 

 

 

 

 

 

 

 

Коэффициент удельного давления изменяется в процессе зацепления, уменьшается при увеличении коэффициентов смещения х1 и х2. Рекомендуется выбирать коэффициенты смещения так, чтобы коэффициент q ≤1.

5.4. Определение общего передаточного отношения и разбивка

его по ступеням

Общее передаточное отношение (число) определяется по формуле:

u0 = nдв , (5.15)

nвых

где nвых = nOA – в случае, если редуктор установлен между двигателем и рабочей машиной, в которой кривошип ОА является входным звеном. Для авиационных ТВД и двигателей внутреннего сгорания частота вращения выходного звена (водила) соответствует частоте вращения винта nв .

67

Габариты зубчатой передачи во многом зависят от целесообразной разбивки общего передаточного числа по ступеням.

В многоступенчатой передаче, являющейся последовательным соединением простых ступеней и планетарных передач, общее передаточное отношение (число) равно произведению передаточных отношений отдельных ступеней:

u0 = u12u23 ... uIплuIIпл .

(5.16)

Так как последняя, тихоходная, ступень передачи является наиболее нагруженной, и от нее зависят вес и габариты всей конструкции, как указывалось выше, её следует выполнять многопоточной, например, планетарной с достаточно большим передаточным отношением и высоким КПД.

Если простая передача в составе сложного механизма представлена одной ступенью, то 1,5 ≤ u12 ≤ 6.

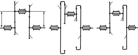
Широкое распространение получили двухступенчатые соосные простые передачи (рис. 5.7), основным достоинством которых является возможность получения меньших габаритов по длине.

Расчеты на прочность показывают, что для уменьшения габаритов передаточное отношение быстроходной ступени следует принимать больше, чем тихоходной, т.е. uБ > uТ .

2

2

1

2

2

 

 

 

w12

 

w2'3

 

 

a

 

a

2'

2

 

 

 

1

 

 

 

1

3

 

 

 

 

 

3

3

 

 

 

a)

 

 

б)

в)

Рис. 5.7. Простые соосные двухступенчатые передачи

В работе [14] рекомендуется применять формулы:

– для соосной схемы c внешним зацеплением (рис. 5.7, a)

68

u 1,133u uБ = 1,133u 1 ,

где u – полное передаточное отношение передачи.

– для соосной схемы и внутренним зацеплением на тихоходной ступени (рис 5.7, в)

u 1,133u uБ = 1,133u +1 .

Передаточное отношение тихоходной ступени

(5.17)

(5.18)

uТ =

u

.

(5.19)

 

 

uБ

 

Если

uБ > umax , то принимают

uБ = umax . После определения uБ и uТ по

формулам (5.17), (5.18) и (5.19) необходимо принять передаточные отношения ступеней в соответствии с единым рядом: 1,00; 1,12; 1,25; 1,4; 1,6; 1,8; 2,00; 2,24; 2,50; 2,80; 3,15; 3,55; 4,00; 4,50; 5,00; 5,60; 6,30; 7,10; 8,00; 9,00; 10,00…[14].

5.5. Подбор чисел зубьев одноступенчатой передачи при

заданном межосевом расстоянии

Исходными данными для подбора чисел зубьев являются межосевое расстояние aW12, модуль m12, передаточное отношение u12.

Вначале определяется возможное суммарное число зубьев из условия

z

Σ

= z

+ z

2

2αW12

.

(5.20)

 

 

1

 

 

m12

 

 

 

 

 

 

 

Число зубьев шестерни определяется по формуле

z1 = u zΣ+1. (5.21)

12

Полученное по формуле (5.21) число округляется обязательно до меньшего целого значения.

Тогда

69

z2 = u12z1.

(5.22)

Полученное по формуле (5.22) число зубьев можно округлять как в большую, так и в меньшую сторону до целого значения, имея в виду, что полученная сумма зубьев z1+ z2 не должна отличаться от zΣ более, чем на два зуба, иначе суммарное смещение xΣ получается значительно больше 1, а αw > 30°. В этом случае можно увеличить число зубьев z2 колеса на 1 или 2 зуба. Погрешность передаточного отношения ∆u12 при этом не должна превышать 5%.

5.6. Подбор чисел зубьев двухступенчатой соосной передачи

при заданном межосевом расстоянии

Исходными данными для подбора чисел зубьев передач по схемам а и в

(рис 5.7.) являются:

межосевое расстояние аW12, модули зацепления m12 и m2’3 и передаточное отношение (число) u13 Подбор производится в следующей последовательности, имея в виду, что u13 = uБuт :

1.По формулам (15.17) или (15.18) и (15.19) определяются uБ и uт ;

2.Так как передача соосная, то должно выполняться условие соосности

α

W12

= α

W23

, т.е.

m12

(z

+ z

2

)=

m23

(z

3

± z

2

)

при

α =α

,

(5.23)

 

 

 

 

 

2

1

 

2

 

 

 

 

W

 

 

 

 

 

 

 

 

 

 

 

 

 

 

 

 

 

 

 

где знак «минус» для внутреннего зацепления.

3.Из равенства (5.23) имеем

a

W

=

m12

(z

 

+ z

2

)=

m12

z (1+ u

Б

).

(5.24)

 

 

 

 

2

1

 

 

 

2

1

 

 

 

12

 

 

 

 

 

 

 

 

 

 

 

 

 

 

 

 

 

 

 

 

 

 

 

 

 

 

 

Откуда определяется число зубьев шестерни

 

z =

 

2aW

 

 

 

.

 

 

 

 

 

 

(5.25)

 

 

12

 

 

 

 

 

 

 

 

 

1

 

 

 

 

 

 

 

 

 

 

 

 

 

m (1

+ u

Б

)

 

 

 

 

 

 

 

 

 

 

12

 

 

 

 

 

 

 

 

 

 

 

Тогда

 

 

 

 

 

 

 

 

 

 

 

 

 

z2 = z1uБ.

 

 

 

 

 

 

 

 

 

 

 

 

(5.26)

 

 

 

 

 

 

 

 

 

 

 

 

 

 

 

70