2.3 Построение суточного плана-графика местной работы участка
Исходными данными для построения суточного плана-графика являются:
1. Перегонные времена хода сборных, вывозных поездов, а также маневровых и диспетчерских локомотивов по перегонам.
2. Объемы погрузки и выгрузки вагонов по каждой промежуточной станции.
3. Количество отцепляемых и прицепляемых груженых и порожних вагонов по промежуточным станциям по каждому сборному и вывозному поезду.
4. Время стоянок сборных поездов на промежуточных станциях.
5. Время на подачу (уборку) вагонов на грузовые фронты.
6. Время выполнения грузовых операций с вагонами.
Первый вариант суточного плана-графика представлен в приложении А.
2.4 Расчет показателей суточных планов графиков местной работы
На основании разработанных суточных планов-графиков местной работы с помощью расчетной таблицы определим нормы простоя вагонов по каждой промежуточной станции и участку в целом.
Простой местного вагона (в часах) исчисляется от момента его прибытия на станцию до момента отправления. Он определяется делением суммы вагоно-часов простоя на число местных вагонов:
,
(2.13)
где
– суммарные вагоно-часы простоя местных
вагонов на станции;
– число
местных вагонов, с которыми на станции
производятся грузовые операции.
Простой вагона под одной грузовой операцией определяется делением суммы вагоно-часов простоя местных вагонов на число грузовых операций:
,
(2.14)
где
– количество грузовых операций,
выполняемых на станции.
Коэффициент сдвоенных операций определяется как частное от деления суммы погруженных и выгруженных вагонов на количество фактически участвующих в грузовых операциях вагонов по формуле:
,
(2.15)
Расчет простоя вагонов по первому варианту суточного-плана графика местной работы сведем в таблицу 2.7.
Для сокращения экономических показателей разработаем второй вариант суточного плана-графика местной работы.
Композиции сборных поездов и продолжительность стоянок сборных поездов на промежуточных станциях для улучшенного варианта:
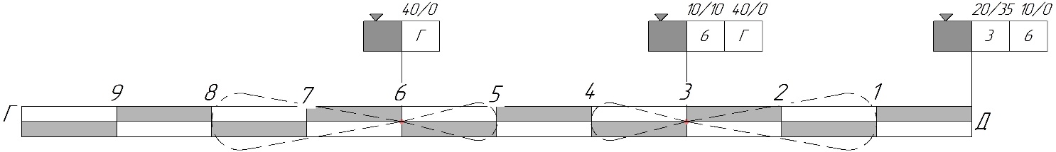
Композиция сборного поезда № 3402 представлена на рисунке 2.9.
Рисунок 2.9 – Композиция сборного поезда № 3402
Композиция сборного поезда № 3402:
Сборный поезд отправляется со станции Г в составе 30 груженых вагонов;
2. На станции 6 поездным локомотивом в голове производится отцепка 15 вагонов и прицепка в хвост 31 груженого вагона назначением на станцию Д.
В соответствии с формулой 2.4:
В соответствии с формулой 2.8:
По формуле 2.3:
4. На станции 3 поездным локомотивом в голове состава производится отцепка 15 вагонов.
В соответствии с формулой 2.6:
По формуле 2.3:
После выполнения работ на станции 3 сборный поезд имеет композицию из 51 груженного вагона.
Композиция сборного поезда № 3401 представлена на рисунке 2.10.
Рисунок 2.10 – Композиция сборного поезда № 3401
Композиция сборного поезда № 3401:
Сборный поезд отправляется со станции Д в составе 30 груженых и 35 порожних вагонов;
На станции 3 поездным локомотивом в голове состава производится отцепка 20 груженых и 35 порожних вагонов и прицепка в хвост состава 10 порожних вагонов назначением на станцию 6 и 40 груженых вагонов назначением на станцию Г.
В соответствии с формулой 2.4:
В соответствии с формулой 2.8:
По формуле 2.3:
3. На станции 6 поездным локомотивом в голове производится отцепка 10 порожних и 10 груженых вагонов.
В соответствии с формулой 2.4:
По формуле 2.3:
После выполнения работ на станции 6 сборный поезд имеет композицию из 40 груженых вагонов.
Стоянка вывозного поезда № 3502 на станции 6 складывается из следующих элементов:
1. Получение распоряжения на маневровую работу - 0,37 мин;
2. Проход к месту производства операции – 0,18 мин;
3. Прицепка локомотива к вагонам – 0,08 мин;
4. Соединение тормозных рукавов – 0,13 мин;
5. Открытие 2 концевых кранов в тормозной магистрали – 0,14 мин;
6. Проход к месту производства операции – 4,83 мин;
7. Изъятие тормозного башмака с осаживанием состава – 2,87 мин;
8. Сокращенное опробование автотормозов – 10 мин;
9. Выдача справки о тормозах формы ВУ-45 – 1 мин;
10. Доклад о выполнении маневровой работы – 0,3 мин.
Общее время нахождения на станции – 20 мин.
Стоянка вывозного поезда № 3501 на станции 6 складывается из следующих элементов:
1. Получение распоряжения на маневровую работу - 0,37 мин;
2. Укладка тормозного башмака с накатом – 0,87 мин;
3. Проход к месту производства операции – 9,1 мин;
3. Укладка тормозного башмака с накатом – 1,16 мин
4. Закрытие 2 концевых кранов автотормозной магистрали – 0,14 мин;
5. Разъединение тормозных рукавов – 0,12 мин;
6. Расцепление локомотива с вагонами – 0,08 мин;
7. Доклад о выполнении маневровой работы – 0,3 мин.
Общее время нахождения на станции – 13 мин.
Продолжительность стоянок сборных поездов на промежуточных станциях по улучшенному варианту представлена в таблице 2.6.
Таблица 2.6 – Продолжительность стоянок сборных поездов на промежуточных станциях по улучшенному варианту
Номер поезда |
Время стоянки на промежуточных станциях, мин |
||||||||
1 |
2 |
3 |
4 |
5 |
6 |
7 |
8 |
9 |
|
3402 |
|
|
15 |
|
|
41 |
|
|
|
3401 |
|
|
56 |
|
|
19 |
|
|
|
3502 |
|
|
|
|
|
20 |
|
|
|
3501 |
|
|
|
|
|
13 |
|
|
|
Расчет простоя вагонов по первому варианту суточного-плана графика местной работы сведем в таблицу 2.8.
Улучшенный вариант суточного плана-графика представлен в приложении Б.
Таблица 2.7 – Определение норм простоя местных вагонов на станциях участка Г – Д по первому варианту
Опорная станция |
№ поезда с которым прибыли вагоны |
Кол-во отцепленных вагонов |
Время прибытия поезда |
№ поезда с которым отправились вагоны |
Кол-во прицепляемых вагонов |
Время отправления |
Простой одного вагона, ч |
Ваг.-ч простоя группы вагонов |
Кол-во грузовых операций |
Простой местного вагона, ч |
Простой под грузовой операцией |
|
3 (с учетом 1) |
3401 |
20 |
0:45 |
3401 |
19 |
1:24 |
24,65 |
369,75 |
60 |
15,28 |
8,91 |
1,71 |
|
|
|
3403 |
1 |
13:45 |
13 |
13 |
|||||
3402 |
15 |
13:04 |
3801 |
10 |
22:06 |
9,03 |
90,3 |
|||||
|
|
|
3401 |
5 |
1:24 |
12,33 |
61,65 |
|||||
итого |
|
35 |
|
|
35 |
|
|
534,7 |
||||
6 (с учетом 4 и 5) |
3401 |
50 |
2:12 |
3402 |
31 |
12:21 |
10,15 |
314,65 |
145 |
11,83 |
9,38 |
1,26 |
|
|
|
3502 |
19 |
23:32 |
21,33 |
405,27 |
|||||
3402 |
10 |
11:41 |
3502 |
10 |
23:32 |
11,85 |
118,5 |
|||||
3403 |
55 |
14:33 |
3502 |
40 |
23:32 |
8,98 |
359,2 |
|||||
|
|
|
3401 |
15 |
1:24 |
10,85 |
162,75 |
|||||
итого |
|
115 |
|
|
115 |
|
|
1360,37 |
||||
8
|
3401 |
5 |
3:16 |
3402 |
5 |
11:11 |
7,91 |
39,55 |
35 |
17,82 |
10,18 |
1,75 |
3402 |
5 |
10:49 |
3402 |
5 |
11:11 |
24,36 |
121,8 |
|||||
3403 |
10 |
15:40 |
3402 |
10 |
11:11 |
19,51 |
195,1 |
|||||
итого |
|
20 |
|
|
20 |
|
|
356,45 |
||||
Всего |
|
170 |
|
|
170 |
|
|
2251,52 |
240 |
13,24 |
9,38 |
1,41 |
Таблица 2.8 – Определение норм простоя местных вагонов на станциях участка Г – Д по улучшенному варианту
Опорная станция |
№ поезда с которым прибыли вагоны |
Кол-во отцепленных вагонов |
Время прибытия поезда |
№ поезда с которым отправились вагоны |
Кол-во прицепляемых вагонов |
Время отправления |
Простой одного вагона, ч |
Ваг.-ч простоя группы вагонов |
Кол-во грузовых операций |
Простой местного вагона, ч |
Простой под грузовой операцией |
|
3 (с учетом 1 и 4) |
3401 |
55 |
0:45 |
3402 |
20 |
12:59 |
12,23 |
244,6 |
95 |
18,72 |
13,79 |
1,36 |
|
|
|
3401 |
35 |
1:41 |
24,9 |
871,5 |
|||||
3402 |
15 |
12:44 |
3401 |
15 |
1:41 |
12,95 |
194,25 |
|||||
итого |
|
70 |
|
|
70 |
|
|
1310,35 |
||||
6 (с учетом 5 и 8) |
3401 |
20 |
2:29 |
3402 |
20 |
11:59 |
9,5 |
190 |
145 |
10,62 |
7,33 |
1,45 |
3402 |
15 |
11:18 |
3502 |
15 |
22:12 |
10,9 |
163,5 |
|||||
3501 |
65 |
13:38 |
3502 |
54 |
22:12 |
8,57 |
462,78 |
|||||
|
|
|
3402 |
11 |
11:59 |
22,35 |
245,85 |
|||||
итого |
|
100 |
|
|
100 |
|
|
1062,13 |
||||
Всего |
|
170 |
|
|
170 |
|
|
2372,48 |
240 |
13,96 |
9,89 |
1,41 |
2.5 Экономическая оценка эффективности системы развоза местного груза на участке железной дороги
Для выбора оптимального варианта местной работы произведем их сравнение.
В качестве критерия оптимальности принимаем минимум эксплуатационных расходов:
,
(2.15)
где
– суммарные сопоставимые эксплуатационные
расходы по i-му
варианту, руб.;
– эксплуатационные
расходы, связанные с нахождением на
участке поездных локомотивов (с учетом
локомотивных бригад) по i-му
варианту, руб.;
– эксплуатационные
расходы, связанные с нахождением на
участке диспетчерских локомотивов (с
учетом локомотивных бригад) по i-му
варианту, руб.;
– эксплуатационные
расходы, связанные с содержанием на
промежуточных станциях участка маневровых
локомотивов по i-му
варианту, руб.;
– эксплуатационные
расходы, связанные с нахождением местных
вагонов на промежуточных станциях
участка по i-му
варианту, руб.
Расчет эксплуатационных расходов ведем методом расходных ставок по формулам:
,
(2.16)
где
– локомотиво-часы нахождения поездных
локомотивов, назначаемых под сборные
и вывозные поезда на участке, лок-ч.;
– единичная расходная ставка
локомотива-часа поездного локомотива,
руб.;
– единичная
расходная ставка бригадо-часа поездной
локомотивной бригады, руб.
,
(2.17)
где
– локомотиво-часы нахождения диспетчерских
локомотивов, лок-ч.
Расчет локомотиво-часов нахождения диспетчерских и поездных локомотивов на участке Г-Д по первому и улучшенному варианту представлен в таблицах 2.9 и 2.10 соответственно.
Таблица 2.9 – Расчет локомотиво-часов нахождения диспетчерских и поездных локомотивов на участке Г-Д по первому варианту
Номер поезда |
Время отправления с начальной станции, |
Время прибытия на конечную станцию |
Время работы поезда на участке, ч |
Сборные и вывозные поезда |
|||
3401 |
00:00 |
4:04 |
4,07 |
3402 |
10:23 |
14:06 |
3,72 |
3403 |
12:45 |
16:28 |
3,72 |
3502 |
23:12 |
0:58 |
1,77 |
Итого |
- |
- |
13,28 |
Диспетчерские локомотивы |
|||
3801 |
21:52 |
23:47 |
1,91 |
Итого |
- |
- |
1,91 |