Таблица 2.4 – Разложение составов местных поездов на участке Г-Д по улучшенному варианту
Станция |
Четное направление |
Нечетное направление |
|||||||||||
Сборный поезд 3402 |
Вывозной поезд 3502 |
Сборный поезд 3401 |
Вывозной поезд 3501 |
||||||||||
отцеплено |
прицеплено |
всего вагонов в поезде |
отцеплено |
прицеплено |
всего вагонов в поезде |
отцеплено |
прицеплено |
всего вагонов в поезде |
отцеплено |
прицеплено |
всего вагонов в поезде |
||
Д |
|
|
51/0 |
|
|
69/0 |
|
|
30/35 |
|
|
20/45 |
|
1 |
|
|
51/0 |
|
|
69/0 |
|
|
30/35 |
|
|
20/45 |
|
2 |
|
|
51/0 |
|
|
69/0 |
|
|
30/35 |
|
|
20/45 |
|
3 |
-15/0 |
20/0 |
51/0 |
|
|
69/0 |
-20/35 |
40/10 |
50/10 |
|
|
20/45 |
|
4 |
|
|
46/0 |
|
|
69/0 |
|
|
50/10 |
|
|
20/45 |
|
5 |
|
|
46/0 |
|
|
69/0 |
|
|
50/10 |
|
|
20/45 |
|
6 |
-15/0 |
31/0 |
46/0 |
|
69/0 |
69/0 |
-10/10 |
|
40/0 |
-20/45 |
|
0/0 |
|
7 |
|
|
30/0 |
|
|
|
|
|
40/0 |
|
|
|
|
8 |
|
|
30/0 |
|
|
|
|
|
40/0 |
|
|
|
|
9 |
|
|
30/0 |
|
|
|
|
|
40/0 |
|
|
|
|
Г |
|
|
30/0 |
|
|
|
|
|
40/0 |
|
|
|
|
Стоянки
сборного поезда на станциях
регламентируется временем выполнения
маневровой работы и технологических
операций с составом и определяются по
формуле:
,
(2.3)
где
– время на выполнение операций по
прицепке и отцепке вагонов;
– затраты времени на выполнение
дополнительных операций, связанных
передачей документов на отцепляемую
группу, с осмотром прицепляемых вагонов,
с передачей документов на прицепляемую
группу, с опробованием автотормозов и
выдачей справки машинисту формы ВУ-45,
принимаем 10 минут.
Продолжительность выполнения маневровой работы зависит:
а) от композиции состава сборного поезда (маневры с головы, хвоста или в середине состава);
б) от локомотива, которым производятся маневры (поездной или маневровый);
в) от характера выполняемых операций (прицепка, отцепка).
Продолжительность операций по обработке сборного поезда на каждой станции определяется по формулам руководства.
1. Маневры, выполняемые поездным локомотивом в головной части состава:
- отцепка вагонов:
,
(2.4)
где
- нормативные коэффициенты на выполнение
операций по отцепке вагонов в головной
части состава поездным локомотивом,
мин;
– среднее
число отцепляемых вагонов от сборного
(вывозного) поезда;
- прицепка вагонов:
,
(2.5)
где
– среднее число прицепляемых вагонов
к сборному (вывозному) поезду;
- отцепка и прицепка вагонов:
.
(2.6)
2. Маневры, выполняемые поездным локомотивом в хвостовой части состава:
- отцепка вагонов:
,
(2.7)
- прицепка вагонов:
,
(2.8)
- отцепка и прицепка вагонов:
.
(2.9)
3. Маневры, выполняемые маневровым локомотивом в хвостовой части состава:
- отцепка вагонов:
,
(2.10)
- прицепка вагонов:
,
(2.11)
- отцепка и прицепка вагонов:
.
(2.12)
Композиции сборных поездов и продолжительность стоянок сборных поездов на промежуточных станциях для первого варианта:
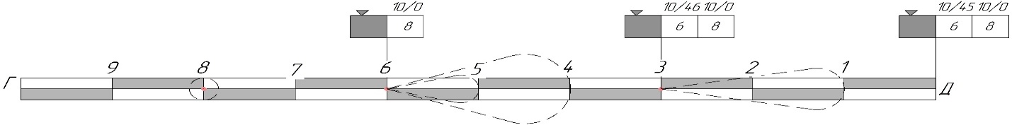
Композиция сборного поезда № 3402 представлена на рисунке 2.6.
Рисунок 2.6 – Композиция сборного поезда №3402
Композиция сборного поезда № 3402:
Сборный поезд отправляется со станции Г в составе 30 груженых вагонов;
На станции 8 маневровым локомотивом в хвосте состава производится одновременная отцепка 5 вагонов и прицепка 20 груженых вагонов назначением на станцию Д.
В соответствии с формулой 2.12:
По формуле 2.3:
3. На станции 6 поездным локомотивом в голове производится отцепка 10 вагонов и прицепка в хвост 31 груженого вагона назначением на станцию Д.
В соответствии с формулой 2.4:
В соответствии с формулой 2.8:
По формуле 2.3:
4. На станции 3 поездным локомотивом в голове состава производится отцепка 15 вагонов.
В соответствии с формулой 2.6:
По формуле 2.3:
После выполнения работ на станции 3 сборный поезд имеет композицию из 51 груженного вагона.
Композиция сборного поезда № 3401 представлена на рисунке 2.7.
Рисунок 2.7 – Композиция сборного поезда №3401
Композиция сборного поезда № 3401:
Сборный поезд отправляется со станции Д в составе 30 груженых и 35 порожних вагонов;
На станции 3 поездным локомотивом в голове состава производится отцепка 20 вагонов и прицепка в хвост состава 15 груженых вагонов назначением на станцию Г, 5 порожних вагонов на станцию 8 и 4 порожних вагонов на станцию 6.
В соответствии с формулой 2.4:
В соответствии с формулой 2.8:
По формуле 2.3:
3. На станции 6 поездным локомотивом в голове производится одновременная отцепка 49 вагонов и прицепка 15 груженых вагонов назначением на станцию Г.
В соответствии с формулой 2.6:
По формуле 2.3:
4. На станции 8 маневровым локомотивом в хвосте состава производится отцепка 5 вагонов.
В соответствии с формулой 2.10:
По формуле 2.3:
После выполнения работ на станции 8 сборный поезд имеет композицию из 30 груженых вагонов.
Композиция сборного поезда № 3403 представлена на рисунке 2.8.
Рисунок 2.8 – Композиция сборного поезда №3403
Композиция сборного поезда № 3403:
Сборный поезд отправляется со станции Д в составе 20 груженых и 45 порожних вагонов;
На станции 3 поездным локомотивом в голове состава производится прицепка 1 порожнего вагона назначением на станцию 6.
В соответствии с формулой 2.5:
По формуле 2.3:
3. На станции 6 поездным локомотивом в голове производится отцепка 56 вагонов.
В соответствии с формулой 2.4:
По формуле 2.3:
4. На станции 8 производится отцепка 10 вагонов с головы состава.
В соответствии с формулой 2.4:
По формуле 2.3:
Стоянка вывозного поезда на станции 6 складывается из следующих элементов:
1. Получение распоряжения на маневровую работу - 0,37 мин;
2. Проход к месту производства операции – 0,18 мин;
3. Прицепка локомотива к вагонам – 0,08 мин;
4. Соединение тормозных рукавов – 0,13 мин;
5. Открытие 2 концевых кранов в тормозной магистрали – 0,14 мин;
6. Проход к месту производства операции – 4,83 мин;
7. Изъятие тормозного башмака с осаживанием состава – 2,87 мин;
8. Сокращенное опробование автотормозов – 10 мин;
9. Выдача справки о тормозах формы ВУ-45 – 1 мин;
10. Доклад о выполнении маневровой работы – 0,3 мин.
Общее время нахождения на станции – 20 мин.
Стоянка диспетчерского локомотива на станции 3 складывается из следующих элементов:
1. Получение распоряжения на маневровую работу - 0,37 мин;
2. Проход к месту производства операции – 0,18 мин;
3. Прицепка локомотива к вагонам – 0,08 мин;
4. Соединение тормозных рукавов – 0,13 мин;
5. Открытие 2 концевых кранов в тормозной магистрали – 0,14 мин;
6. Проход к месту производства операции – 0,7 мин;
7. Изъятие тормозного башмака с осаживанием состава – 0,41 мин;
8. Сокращенное опробование автотормозов – 10 мин;
9. Выдача справки о тормозах формы ВУ-45 – 1 мин;
10. Доклад о выполнении маневровой работы – 0,3 мин.
Общее время нахождения на станции – 14 мин;
Продолжительность стоянок сборных поездов на промежуточных станциях по первому варианту представлена в таблице 2.5.
Таблица 2.5 – Продолжительность стоянок сборных поездов на промежуточных станциях
Номер поезда |
Время стоянки на промежуточных станциях, мин |
||||||||
1 |
2 |
3 |
4 |
5 |
6 |
7 |
8 |
9 |
|
3402 |
|
|
18 |
|
|
40 |
|
22 |
|
3401 |
|
|
39 |
|
|
36 |
|
17 |
|
3403 |
|
|
15 |
|
|
26 |
|
17 |
|
3502 |
|
|
|
|
|
20 |
|
|
|
3801 |
|
|
14 |
|
|
|
|
|
|