Материал: [SHipinsky_V.G.]_Oborudovanie_i_osnastka_upakovoch1(z-lib.org)

Внимание! Если размещение файла нарушает Ваши авторские права, то обязательно сообщите нам

камеру 6 и отверстия 7 крышки в тару 2 и заполняет ее до заданного уровня, контролируемого датчиком 5. Образующаяся при этом на поверхности жидкости пена отсасывается в конце дозирования из тары через трубку 4 и направляется по трубопроводу обратно в бак. При срабатывании датчика уровня 5, в результате контакта с поступающей жидкостью, пробка в кране 3 поворачивается на 90о в обратном направлении, закрывая магистраль вакуумного насоса и соединяя трубку 4 с атмосферой. При этом вакуум в таре исчезает, клапан 9 закрывается (шарик 10 под действием пружины 11 и собственного веса опускается на проходное отверстие) и подача жидкости прекращается. После этого заполненная тара удаляется, на ее место устанавливается следующая и цикл повторяется.

Рис.3.4. Дозатор уровневый с вакуумом в таре

Для контроля уровня жидкости в таре могут применяться электроемкостные, индукционные или фотоэлектрические датчики. Уменьшить же пенообразование при фасовании позволяет так называемый «шатровый налив» – когда жидкость через сливные отверстия 7 направляется на стенки тары и стекает по ним, а выделяющийся из нее газ удаляется по центральной газовой трубке 4.

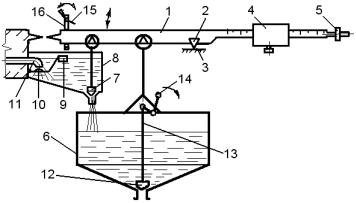
Весовые дозаторы применяются для фасования жидкой и пастообразной продукции как в потребительскую, так и в транспортную тару. Выполняются они с ручным, полуавтоматическим и автоматическим управлением.

Для фасования маловязких жидкостей применяется, в частности, рычажный весовой полуавтоматический дозатор (рис.3.5), состоящий из коромысла 1,

опирающегося призмой 2 на подушку 3, на одном плече которого установлена гиря 4 с уравновешивателем 5, а на втором – на соответствующих призмах подвешены весовой бак 6 и выпускной клапан 7 питателя 8. Поддержание требуемого уровня жидкости в питателе 8, осуществляется с помощью установленного на подвижном рычаге с поплавком 9 затвора 10, перекрывающего адекватно уровню сливное отверстие трубы 11, подающей жидкость из расходного бака. Клапан 12 сливного патрубка в весовом баке 6 открывается вручную посредством рычажной системы 13 с поворотной рукояткой 14. Фиксация коромысла 1 в нерабочем положении осуществляется поворотным упором 15 в арретире 16.

21

Рис.3.5. Рычажный весовой полуавтоматический дозатор для жидкостей

Вначале фасования жидкой продукции гирю 4 по шкале коромысла 1 устанавливают на заданную массу. Затем поворотом упора 15 в арретире 16 коромысло расфиксируется и его неуравновешенное плечо с весовым баком 6 и выпускным клапаном 7 приподнимается вверх. При этом жидкость из питателя 8 через открывшийся патрубок начинает выливаться в бак 6, а при достижении равновесия и перемещении коромысла в горизонтальное положение отверстие патрубка клапаном 7 полностью закрывается и подача жидкости автоматически прекращается. Этим обеспечивается точное взвешивание требуемой дозы продукта. По мере снижения уровня жидкости в питателе поплавок 9 опускается, затвор 10 установленный на его рычаге открывает сливное отверстие трубы 11, и жидкость поступает по ней в питатель из расходного бака. Далее поворотом упора 15 в исходное положение коромысло фиксируется, а затем поворотом рукоятки 14 в баке 6 открывается клапан 12, и отмеренная доза жидкости выливается из него через сливной патрубок в транспортную тару. Поле этого на место заполненной подается следующая тара и цикл повторяется. Дозаторами такого типа обеспечивается фасование жидкой продукции порциями от 5 до 50 кг с точностью ± 1% от их номинального значения.

3.2. Дозаторы пастообразной продукции

К пастам (от итал. pasta – тесто) относятся вещества и многокомпонентные смеси, обладающие свойствами вязкопластичного тела. По физическим свойствам, определяющим конструктивные особенности дозаторов, пасты подразделяются на высоковязкие (сметана, зубная и томатная пасты, гели) и пластичные (повидло, джемы, сливочное масло, творожная масса, шпатлевки, пластичные смазки).

Дозаторы объемные для высоковязких паст работают, как правило, при наличии разности давлений, создаваемой с помощью вакуума. Их мерная емкость обычно заполняется за счет всасывания продукта из расходного бака, а опорожняется за счет избыточного давления, создаваемого в ней с таким расчетом, чтобы отмеренная доза поступала в тару через фасовочный канал дозатора за требуемое время. Для фасования высоковязких паст применяются, например, работающий на данном принципе поршневой объемный дозатор с клапанами (рис.3.3). Для пластичных паст обычно применяются объемные дозаторы периодического действия. В этих дозаторах, как правило, под

22

воздействием избыточного давления осуществляется как заполнение мерной емкости фасуемым продуктом, так и выдача из нее отмеренной дозы в тару.

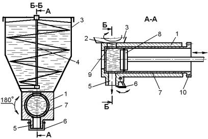
В частности шнеково-поршневой объемный дозатор такого типа применяется в автоматах модели АРТ и М6-АР2Т, предназначенных для упаковывания творога в брикеты массой 250 и 125 г. Он состоит из корпуса 1 (рис.3.6), сопрягающегося через загрузочное окно 2 с расходным баком 3, оснащенным шнековым питателем 4. Внутри корпуса 1, содержащего с противоположной стороны фасовочный патрубок 5 с качающимся ножом 6, установлен мерный цилиндр 7 с поршнем 8, поворачивающийся своим загрузочным окном 9 на 180о с помощью зубчатого колеса 10. Привод всех исполнительных механизмов дозатора осуществляется от электродвигателя автомата через кулачковый вал и рычажные, зубчатую и цепную передачи.

Рис.3.6. Шнеково-поршневой объемный дозатор

В исходном положении цикла поршень 8 дозатора находится у торцевой стенки мерного цилиндра 7, а загрузочное окно 9 цилиндра сопрягается с окном 2 бака 3. Далее вращающимся шнеком 4 питателя фасуемый пластичный продукт нагнетается из бака 3 в совмещенные загрузочные окна и одновременно засасывается через них в полость мерного цилиндра 7 поршнем 8, перемещающимся от рычажной передачи движения. После наполнения полости заданной дозой продукта мерный цилиндр 7 поворачивается относительно продольной оси на 180о от шестерни передачи вращения, сцепляющейся с зубчатым колесом 10, и его окно 9 совмещается при этом с отверстием фасовочного патрубка 5. Затем поршень 8 движется в обратном направлении, выдавливая отмеренную дозу продукта из цилиндра 7 через фасовочный патрубок 5 в тару (обертку). При достижении поршнем 8 исходного положения выданная доза продукта отсекается от отверстия фасовочного патрубка 5 качающимся ножом 6, срабатывающим от рычажного привода. После этого поршень 8 опять перемещается от исходного положения, создавая разрежение (вакуум), и под воздействием разности давлений остатки продукта засасываются обратно из отверстия патрубка в мерный цилиндр для предотвращения их произвольного выпадения. Затем мерный цилиндр 7 поворачивается на 180о, поршень 8 с ножом 6 возвращаются тоже в исходное положение и цикл повторяется.

23

Одновременная выдача нескольких (например, трех) доз (рис.3.7)

обеспечивается стаканчиково-поршневым объемным дозатором. Он состоит из корпуса 1, содержащего параллельные горизонтальные цилиндрические отверстия, в которых с одного торца установлены мерные стаканы 2 с поршнями 3, со второго – закреплены фланцы 4 с фасовочными каналами 5, а между ними располагается общая загрузочная полость 6, в которую фасуемый пластичный продукт нагнетается через сопрягающееся окно расходного бака 7 вращающимся в нем шнеком 8 питателя. При этом мерные стаканы 2 дозатора через общий кронштейн, несущий упоры 9, соединяются со штоком 10 одного пневмопривода, а штоки расположенных в них поршней 3 через аналогичный кронштейн 11 соединяются со штоком 12 второго пневмопривода. Снизу с корпусом 1 сопрягается установленная в направляющих планка 13 с соплами 14, возвращаемая в исходное положение воздействующими на ее толкатель 15 пружинами 16 и перекрывающая при этом фасовочные каналы 5.

Рис. 3.7. Стаканчиково-поршневой объемный дозатор

В процессе работы дозатора пластичный фасуемый продукт загружается в расходный бак 7 и периодически вращающимся шнеком 8 подается вниз, заполняя загрузочную полость 6 в корпусе 1. Затем мерные стаканы 2, перемещаясь от срабатывающего пневмопривода вперед, прорезают эту полость и набирают в себя дозу продукта, а в конце хода герметично прижимаются торцами к сопрягающейся поверхности фланцев 4. При этом в конце движения стаканов находящиеся на кронштейне упоры 9 нажимают на толкатель 15 и, сжимая пружины 16, перемещают через него планку 13 вперед до совмещения фасовочных каналов 5 с отверстиями в соплах 14. Затем от второго срабатывающего пневмопривода в стаканах 2 начинают перемещаться поршни 3, выдавливая из них отмеренные дозы продукта через фасовочный канал 5 и совмещенное с ним отверстие сопла 14 в тару 17. После выдачи доз продукта поршни 3 и мерные стаканы 2 перемещаются приводами в исходное положение, при этом поршни начинают обратное движение несколько раньше стаканов, создавая в них разрежение (вакуум), и под воздействием разности давлений остатки продукта засасываются из фасовочных каналов 5 и сопел 14 обратно в стаканы. Вначале обратного движения стаканов упоры 9 отводятся кронштейном от толкателя 15 и, воздействующими на него сжатыми пружинами 16 планка 13 с соплами 14 перемещается в исходное положение,

24

герметично перекрывая своей сопрягающейся поверхностью фасовочные каналы 5 до следующего цикла.

Для фасования жидкой и пастообразной продукции наряду с рассмотренными применяются и другие разнообразные дозаторы, отличающиеся друг от друга принципом действия, конструктивным исполнением, производительностью, величиной фасуемых доз, точностью дозирования и другими характеристиками.

3.3. Закономерности дозирования жидкой и пастообразной продукции

Время полного цикла работы дозатора τц складывается из следующих

составляющих:

 

τц = τз + τо + τп + τд, с

(3.1)

где τз – длительность процесса заполнения мерной емкости дозатора; τо – длительность процесса опорожнения мерной емкости дозатора;

τп длительность процессов переключения механизмов дозатора с режима наполнения в режим опорожнения и обратно в исходное положение;

τд длительность дополнительных процессов, связанных с установкой, подъемом, опусканием и удалением заполненной тары из дозатора.

Время заполнения мерной емкости τз ковшовых объемных дозаторов определяется по формуле:

 

 

 

D

 

H

 

 

 

 

м

 

м

 

з

 

m V

2 g V

 

 

 

 

 

 

 

 

 

 

  

2 / 5

, с

(3.2)

где Dм и Hм – диаметр и высота мерной емкости, м; m – коэффициент пропорциональности;

g – ускорение свободного падения, м/с2;

V – скорость погружения мерной емкости в жидкость, м/с.

Время опорожнения мерной емкости τо ковшовых объемных дозаторов, т. е. время слива жидкости в тару при атмосферных условиях с учетом переменного коэффициента расхода определяется из соотношения:

 

 

 

 

 

 

1 n

 

 

о

 

2 S

м

n

H

2

 

 

 

 

 

 

ж

 

м

, с

(3.3)

1 n k

Sс dс 2 g

n 1

 

 

 

 

 

 

 

 

 

 

 

 

 

 

 

 

 

2

 

 

 

где Sм – площадь поперечного сечения мерной емкости дозатора, м2;ж – кинематическая вязкость жидкости, м2/с;

Sс – площадь поперечного сечения сливного отверстия, м2; dс – диаметр сливного отверстия, м;

n и k – коэффициенты, значения которых зависят от числа Рейнольдса, диаметра и длины сливного отверстия или насадки.

25