Материал: [SHipinsky_V.G.]_Oborudovanie_i_osnastka_upakovoch1(z-lib.org)

Внимание! Если размещение файла нарушает Ваши авторские права, то обязательно сообщите нам

Министерство образования Республики Беларусь

Учреждение образования «Гомельский государственный технический университет имени П.О. Сухого»

Кафедра «Обработка материалов давлением»

В. Г. Шипинский

ОБОРУДОВАНИЕ И ОСНАСТКА УПАКОВОЧНОГО ПРОИЗВОДСТВА

Часть I. Структура и функциональные устройства упаковочных машин

УЧЕБНОЕ ПОСОБИЕ

для студентов специальности I-36 20 02-03 «Упаковочное производство (технологии и оборудование упаковочного производства)»

Гомель 2013

УДК 621. 798.06(075.8)

ББК 30.61я73

Ш65

Шипинский В. Г.

Ш65 Оборудование и оснастка упаковочного производства. Часть I.

Структура и функциональные устройства упаковочных машин/

В. Г. Шипинский. – Гомель: ГГТУ им. П.О. Сухого, 2013. 153 с.: ил.

Приводятся основные понятия о производственном и технологическом процессах; структурно-функциональной классификации технологических

машин, комплексов и линий; их основных технических характеристиках и применяемых системах управления. Содержатся основные конструктивные исполнения и необходимые методики проектировочных расчетов типовых функциональных устройств, обеспечивающих дозирование и фасование продукции, автоматическую загрузку штучных изделий, транспортирование объектов обработки, подачу рулонных материалов и сварку конструктивных элементов упаковки.

Книга предназначена для студентов высших учебных заведений, обучающихся по специальности «Упаковочное производство». Будет полезна для инженерно-технических работников, занимающихся упаковочным технологическим оборудованием, комплексной автоматизацией производственных процессов, технологиями и оснасткой тароупаковочного производства, созданием и производством самой упаковки, а также товарообращением.

УДК 621. 798.06(075.8) ББК 30.61я73

Учреждение образования “Гомельский государственный технический университет имени П.О. Сухого”, 2013

2

ВВЕДЕНИЕ

Упаковывание продукции – это сложная многофункциональная задача, эффективное решение которой тесно связано с созданием и производством современных упаковочных материалов, функционально совершенной упаковки

исредств пакетирования грузов, разнообразного технологического оборудования, а также с производством самой продукции. Сложность технологического оснащения и комплексной автоматизации тароупаковочного производства обуславливается огромным разнообразием производимой продукции, видов упаковки и средств пакетирования грузов, их типоразмеров и конструктивных исполнений. Этими факторами, в свою очередь, определяется

ибольшая номенклатура разнообразных видов тароупаковочных машин, уровень универсальности, степень автоматизации, производительность и стоимость которых, как правило, зависят от широты номенклатуры и объемов выпуска упаковываемой продукции, то есть от типа производства.

Вструктуре производственного процесса операции упаковывания продукции и формирования из нее укрупненных грузовых единиц выполняются, как правило, на завершающих этапах. В обобщенном виде эта часть технологического процесса включает в себя такие этапы, как:

изготовление тары и других упаковочных средств;

подготовка тары, укупорочных средств и других элементов упаковки к упаковыванию;

подготовка к упаковыванию изготовленной продукции (изделий);

дозирование и фасование (укладка) продукции (изделий) в тару;

укупоривание тары, маркировка и оформление упаковочных единиц;

группирование упаковочных единиц и укладка в транспортную тару;

укупоривание транспортной тары и маркировка транспортных единиц;

подготовка средств пакетирования;

формирование из транспортных единиц с помощью средств пакетирования укрупненных грузовых единиц;

складирование укрупненных грузовых единиц и отгрузка товара потребителям.

Всвою очередь перечисленные этапы обычно состоят из нескольких последовательных операций, которые выполняются технологическими машинами, содержащими адекватные исполнительные устройства и механизмы. Эти машины часто объединяются сквозной транспортирующей системой, как между собой, так и с технологическим оборудованием по производству самой продукции, образуя работающие в едином технологическом ритме механизированные или автоматизированные комплексы и поточные линии, связанные общей системой управления.

1. СТРУКТУРНО-ФУНКЦИОНАЛЬНАЯ КЛАССИФИКАЦИЯ МАШИН УПАКОВОЧНОГО ПРОИЗВОДСТВА

Машина (франц. machine, от лат. machina) – механическое устройство с согласованно работающими частями, осуществляющее определенные целесообразные движения для преобразования энергии, материалов или

3

информации. Основное назначение машин – частичная или полная замена производственных функций человека с целью облегчения труда и повышения его производительности.

Машины, предназначенные для осуществления технологического процесса, называются технологическим оборудованием. Это оборудование можно классифицировать по функциональному назначению, уровню механизации и автоматизации технологического процесса и структуре построения.

Функциональная классификация технологического оборудования определяется выполняемыми на нем основными операциями или этапами упаковочного процесса. По функциональному назначению оно подразделяется, например, на оборудование, предназначенное для изготовления тары и других упаковочных средств, дозирования и фасования продукции (изделий) в тару, укупоривания тары, маркировки и декоративного оформления упаковочных единиц, упаковывания в транспортную тару, изготовления средств пакетирования, формирования укрупненных грузовых единиц и т. д.

По уровню механизации и автоматизации процесса технологическое оборудование подразделяется на оборудование с ручным управлением, а также полуавтоматическое и автоматическое оборудование.

В оборудовании с ручным управлением машиной производятся непосредственные воздействия на предметы труда, а человеком осуществляется загрузка исходных материалов или компонентов упаковки, выгрузка обработанных предметов труда, а также непосредственное управление рабочим циклом.

Полуавтоматическим называется такое оборудование, на котором загрузка исходных объектов обработки в машину и выгрузка из нее обработанных предметов труда выполняются рабочим вручную, а процесс непосредственного воздействия на предметы труда в течение цикла осуществляется автоматически.

Автоматическим называется самоуправляющееся оборудование, на котором без непосредственного участия человека, то есть автоматически, выполняются все действия технологического цикла, для которых оно предназначено, включая и переход к следующему циклу. Человек здесь только контролирует процесс работы, периодически пополняет исходными объектами обработки питатель автомата, подналаживает оборудование и удаляет отходы.

Гибкий производственный модуль (ГПМ) – это единица технологического оборудования, оснащенная автоматизированными устройствами переналадки, программного управления и средствами автоматизации технологического процесса, автономно функционирующая, осуществляющая многократные циклы и имеющая возможность встраивания в систему более высокого уровня.

Если автоматическое оборудование создается на базе универсальной технологической машины путем оснащения ее дополнительными устройствами и передачи цикловых функций, выполняемых человеком, механическому устройству – промышленному роботу, то такое оборудование называют

робото-технологическим комплексом (РТК).

4

Промышленным роботом в свою очередь называется автоматическая машина, стационарная или подвижная, состоящая из исполнительного устройства в виде манипулятора, имеющего несколько степеней подвижности, а также устройства программного управления и предназначенная для выполнения в производственном процессе двигательных и управляющих функций.

По принципу перемещения объектов обработки, пользуясь классификацией С. И. Артоболевского, все упаковочное технологическое оборудование можно разделить на три класса.

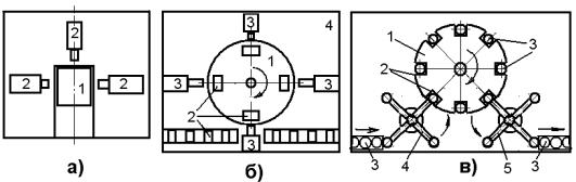
В технологическом оборудовании I-го класса изготавливаемый объект занимает одну позицию и в течение цикла является неподвижным или совершает ограниченные перемещения в пределах этой позиции. Таковыми являются упаковочные машины, в которых, например, тара 1 (рис.1.1а) занимает постоянное положение на рабочей позиции, а упаковываемые изделия, укупорочные средства, этикетки и другие необходимые элементы упаковки подаются к ней соответствующими исполнительными механизмами 2 для формирования готовой упаковочной единицы.

Рис. 1.1. Структурные схемы технологического оборудования

Втехнологическом оборудовании II-го класса изготавливаемый объект в процессе обработки дискретно или непрерывно последовательно перемещается по всем его рабочим позициям, при этом исполнительные механизмы (орудия труда) неподвижны и занимают на каждой позиции заданное им положение. К таковому относится, например, карусельное оборудование в котором вращающийся или периодически поворачивающийся рабочий стол 1 (рис.1.1б) несет на себе закрепленные с заданным шагом объекты обработки 2, а исполнительные механизмы 3 при этом с адекватным шагом закрепляются на станине 4 машины и работают в каждом цикле по параллельной схеме действия. Время рабочего цикла в таком оборудовании определяется продолжительностью наиболее длительной операции.

Втехнологическом оборудовании III-го класса изготавливаемый объект в процессе обработки непрерывно перемещается совместно с исполнительным механизмом, производящим на него технологическое воздействие. К таковым относятся, например, роторные фасовочные автоматы, содержащие во вращающемся технологическом роторе 1 (рис.1.1в) несколько фасовочных блоков 2 с дозаторами. Тара 3 поочередно устанавливается в эти блоки синхронно вращающимся транспортным ротором 4, затем в процессе вращения ротора заполняется из дозатора упаковываемым продуктом, а в конце цикла

5