Учинчи босқич – моделдан олинган назарий натижаларни амалдаги кузатиш натижаларига мос келишини аниқлаш.
Тўртинчи босқич – ўрганиладиган объект ҳақидаги маълумотларни жамлаш, таҳлил қилиш ва ривожлантириш.
Математик модел тузиш учун дастлаб масала расмийлаштирилади.
Масала мазмунига мос ҳолда зарур белгилар киритилади. Сўнгра катталиклар орасида формула ёки алгоритм кўринишида ёзилган функционал боғланиш
ҳосил қилинади. Масалан, жисмнинг тезлигини ифодалаш учун қуйидаги математик моделдан фойдаланилади: V = S/t, бу ифодада V–жисмнинг тезлиги,
S–жисмнинг босиб ўтган йўли, t–жисмнинг йўлни босиб ўтиши учун кетган
вақти.
Масала. Маълум масофадан ерга тушаётган бирор массали жисмнинг тезланишини ҳисоблаш моделини тузиш.
Бу масаланинг моделини тузиш учун бизга физика дарсларидан маълум бўлган қонунлардан фойдаланамиз. Бунда бизга Ньютоннинг иккинчи ва бутун
олам тортишиш қонунларининг математик ифодаси қўл келали. У қуйидагича:
F ma , F G |
mM |
. Бу икки формуладан ma G |
mM |
тенглик ҳосил қилиб, |
||
|
|
|
|
|||
R |
2 |
R |
2 |
|||
|
|
|
|
|
||
қуйидагича математик модел ҳосил қилинади: a G M
R 2
Бунда, М-Ернинг массаси, 5976*1021кг. R-Ернинг радиуси, 6,378*106м. G-
гравитацион доимийлик, 6,67*10-11 Н м2 . Бу сон қийматлар формулага қўйиб
кг 2
ҳисобланса, ҳар қандай жисмнинг Ерга эркин тушиш тезлиги келиб чиқади.
а 9,8м / с2 .
Масала. Банкка йилига А фоизли даромад олиш учун қўйилган Х сўм пулнинг Т йилдан кейинги ҳолатини ифодаловчи математик модел тузинг.
Бир йилда олинадиган даромад |
|
Х |
А сўм бўлади. |
|
|
|
|||||||
100 |
|
|
|
||||||||||
|
Х |
|
|
|
А |
|
|
|
|
|
|
||
Йил охирида банкдаги пул |
А Х Х ( |
|
1) сўм бўлади. |
||||||||||
|
|
|
|||||||||||
100 |
|
100 |
|
А |
|
|
А |
|
|||||
Иккинчи йил охирида олинадиган даромад |
Х ( |
1) |
|
сўм бўлади. |
|||||||||
|
100 |
||||||||||||
|
|
|
|
|
|
|
100 |
|
|
||||
Иккинчи йил охирида банкдаги пул қуйидагича ҳисобланади:
Х ( А 1) А Х ( А 1) Х ( А 1) ( А 1) Х ( А 1)2 100 100 100 100 100 100
Тйилдан кейин банкдаги пул қуйидагича ҳисобланади:
Х( А 1)Т
100
Назорат топшириқлари: 1 – даражали топшириқлар.
1.Математик модел тушунчасига таъриф беринг?
2.Математик модел тузиш қандай босқичларга бўлинади?
3.Математик модел қўлланилаётган объектларга мисол келтиринг?
106
4. Математик модел тушунчасини ўқитишда нималарга эътибор бериш керак?
2 – даражали топшириқлар.
5.Математик модел қўлланилаётган объектларга мисол келтиринг?
6.Математик модел, турлари ҳақида маълумотларни таҳлил қилинг.
7.Математик моделнинг турларида қандай фарқ мавжуд, таҳлил қилинг.
3– даражали топшириқлар.
8.Математик модел тузиш жараёнида нималарни эътиборга олиш керак?
9.Математик модел тузиш жараёни босқичларига изоҳ беринг.
4 – даражали топшириқлар.
1. Математик модел тузиш жараёнини тавсифлаб беринг.
2-асосий саволнинг баёни:
Ихтиёрий масалага алгоритм тузиш учун алгоритмни ифодалашнинг турли усулларидан фойдаланиш мумкин. Алгоритмларни сўзлар ёрдамида
ифодалашни кундалик ҳаётимизда кўп учрайдиган «Чой дамлаш алгоритми» мисолида қуйидагича тасвирлаш мумкин:
*Чойнак қопқоғи очилсин;
*Чойнакни қайноқ сув билан чайқалсин;
*Чойнакка бир чой қошиқ қуруқ чой солинсин;
*Чойнакка тўлгунча қайнаган сув қуйилсин;
*Чойнак қопқоғи ёпилсин;
*Чойнакни сочиқ билан ўраб, беш дақиқа дам берилсин.
Алгоритмни алгоритмик тил ёрдамида тузиш масаласини «Квадрат тенгламани ечиш» алгоритми орқали қуйидагича келтириш мумкин:
алг Квадрат тенгламани ечиш (ҳақ а,в,с, х1,х2, лит у)
арг а,в,с
натижа х1,х2,у бошл ҳақ D
D:=b2-4*a*c
агар D<0
бўлса у:= «ечим йўқ»
акс ҳолда у:= «ечими бор» агар D=0
бўлса x1 : b
2a
x2 : x1
акс ҳолда x1 : b 
D
2a
b 
D x2 : 2a
ҳал бўлди
107
ҳал бўлди
там.
Алгоритмни схемалар блоки ёрдамида тузишни қуйидаги мисоллар орқали қараб чиқамиз:
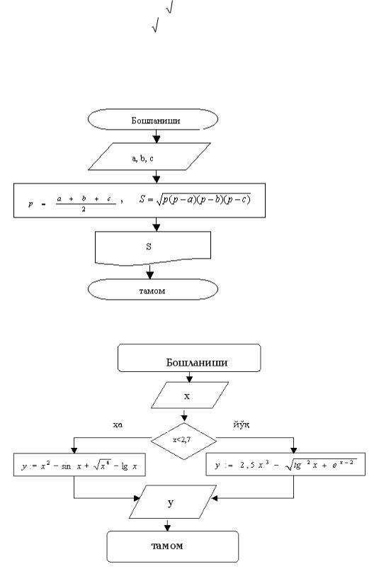
1-мисол. Томонлари а,в,с га тенг бўлган ихтиёрий учбурчакнинг юзини
ҳисоблаш алгоритмини тузинг.
|
|
|
|
sin x |
|
|
lg x |
|
x 2,7 |
|||
|
2 |
x |
4 |
|
||||||||
2-мисол. |
|
x |
|
|
, бу ерда |
|||||||
y |
|
|
|
|
|
|
|
|
x 2,7 |
|||
|
|
2,5x3 |
tg2 x ex 2 |
|
||||||||
|
|
|
|
|
|
|
|
|
|
|
|
|
функциянинг қийматини ҳисобланг. |
|
|
||||||||||
n |
|
3k2 |
5k |
|
|
|
|
|
|
|
||
3-мисол. P |
|
|
|
|
кўпайтмани ҳисобланг. |
|||||||
|
21k k |
3 |
||||||||||
k 1 |
|
|
|
|
|
|
|
|
|
|
||
1-мисолнинг алгоритми қуйидагича: |
|
|
||||||||||
бўлган ҳолда,
Бу расмда
чизи=ли
алгоритм тасвирланган.
2-мисолнинг алгоритми қуйидагича:
108
Бу расмда тармоқланувчи алгоритм тасвирланган.
3-мисолнинг алгоритми қуйидагича:
Бу расмда такрорланувчи алгоритм тасвирланган.
Юқорида кўрсатиб ўтилган алгоритмнинг дастурини юқори даражадаги
дастурлаш тиллари ҳисобланган Бейсик ва Паскал тилларида келтирамиз. Турли хил кўринишда берилган математик ифодаларни дастурлаш тилларида
ёзиш учун дастурлаш тилларининг стандарт функцияларидан фойдаланилади. Ҳар бир дастурлаш тили ўзининг стандарт функцияларига эга. Стандарт
функцияларнинг баъзиларини Бейсик ва Паскаль тилларида ифодаланиши қуйидаги жадвалда келтирилган:
Математик |
Бейсик тилида |
Паскаль тилида |
ифодалар |
ёзилиши |
ёзилиши |
sinx |
sin(x) |
sin(x) |
cosx |
cos(x) |
cos(x) |
tgx |
tan(x) |
Sin(x)/cos(x) |
ctgx |
1/tan(x) |
Cos(x)/sin(x) |
lnx |
log(x) |
ln(x) |
109
|
|
ex |
|
|
|
|
exp(x) |
|
|
|
|
|
|
|
exp(x) |
|
|||||||
|
| x | |
|
|
|
|
abs(x) |
|
|
|
|
|
|
|
abs(x) |
|
||||||||
|
|
|
|
|
|
|
|
|
|
|
sqr(x) |
|
|
|
|
|
|
|
sqrt(x) |
|
|||
|
|
|
x |
|
|
|
|
|
|
|
|
|
|
||||||||||
|
|
x2 |
|
|
|
|
|
x^2 |
|
|
|
|
|
|
|
sqr(x) |
|
||||||
|
lgx |
|
|
log10(x) -x бутун бўлса, |
|
|
|
|
|
|
Ln(x)/ln(10) |
|
|||||||||||
|
|
|
|
|
|
|
|
|
log(x)/log(10)-x ихтиё-рий |
|
|
|
|
|
|
||||||||
|
|
|
|
|
|
|
|
|
|
бўлган ҳолларда |
|
|
|
|
|
|
|
|
|
||||
|
|
xn |
|
|
|
|
|
x^n |
|
|
|
|
|
|
|
Exp(n*ln(x)) |
|
||||||
|
[x] |
|
|
|
|
int(x) |
|
|
|
|
|
|
|
int(x) |
|
||||||||
|
|
|
sin 4 |
|
|
|
|
2a |
|
bx2 |
|
|
|
|
|
|
|
||||||
Мисол. А) |
|
|
x |
x |
3e2x2 |
Б) |
x 3 |
|
5 bx |
|
|
ифодаларни дастурлаш |
|||||||||||
|
x2 ex 5 |
|
|
сtg 2 x 5 |
|
|
|
|
|
|
|||||||||||||
|
|
|
|
|
|
|
|
|
3 x y |
||||||||||||||
тилларида ёзинг.
А).1. Бейсик тилида ёзилиши: (SQR(X)+SIN(X)^4/(X^2+EXP(X+5))- 3*EXP(2*X^2).
2.Паскаль тилида ёзилиши:
(SQRT(X)+EXP(4*LN(SIN(X))))/(SQR(X)+EXP(X+5))-
3*EXP(2*SQR(X))
Б).1. Бейсик тилида ёзилиши:
(2*А*SQR(X-3)+B*X^2)/1/TAN(X-5)^2+(B*X)^(1/5)/(X-3)^(1/3).
2. Паскаль тилида ёзилиши:
((2*A*SQRT(X-3)+B*SQR(X))/SQR(COS(X-5)/ SIN(X-5))+EXP(1/5*LN(B*X))/EXP(1/3*LN(X-Y))
1-мисолнинг дастури: Бейсик тилида:
10 REM “Учбурчак юзи”
20 INPUT a,b,c
30 LET P=(a+b+c)/2
40 LET S=SQR(P*(P-a)*(P-b)*(P-c))
50 PRINT “S=”;S
60 END
Паскал тилида:
Program Uchburchak(input, output); var a,b,c,p, S: real;
begin read(a,b,c);
p:=0.5*(a+b+c);
S:= sqrt(p*(p-a)*(p-b)*(p-c)); writeln('s=';s);
110