отсека состоит из необогреваемых труб 159 4,5 мм (две трубы у котла производительностью 16 т/ч и три трубы у котла производительностью 25 т/ч). Опускная система первой ступени испарения включает в себя последние по ходу газов трубы конвективного пучка.
Вкачестве сепарационных устройств первой ступени испарения используют установленные в верхнем барабане щитки и козырьки, направляющие пароводяную смесь из экранных труб на уровень воды. Для выравнивания скоростей пара по всей длине барабана последний снабжают дырчатым паропроницаемым потолком. На всех котлах кроме котла производительностью 4 т/ч перед пароприемным потолком устанавливается горизонтальный жалюзийный сепаратор. Питательная воды поступает в водяное пространство барабана по трубопроводу 3.
Для осуществления внутрикотловой обработки воды по специальному трубопроводу 2 в верхний барабан вводится раствор тринатрийфосфата, который, вступая в химическую реакцию с растворенными в котловой воде солями, переводит их в нерастворимое состояние. Образующийся шлам по опускным трубам поступает в нижний барабан.
Внижнем барабане расположена перфорированная труба 5, через которую для котлов производительностью 4–10 т/ч осуществляется вся продувка котла. На котлах производительностью 16–25 т/ч через эти трубы осуществляется только периодическая продувка котла, а непрерывная ведется из солевого отсека верхнего барабана.
Для осуществления контроля над работой котла в верхнем барабане размещены котловой манометр и два водоуказательных стекла. Кроме того, на верхнем барабане установлены два предохранительных клапана, главный парозапорный вентиль, трубопровод отбора пара на собственные нужды. Котлы оснащены обдувочными аппаратами для очистки поверхностей нагрева от загрязнений. Обмуровка боковых стен котла выполнена натрубной и состоит из шамотобетона по сетке и изолированных плит. Для уменьшения подсосов воздуха в газовый тракт котла снаружи натрубная обмуровка покрывается металлической листовой обшивкой, которая приваривается к обвязочному каркасу. Хвостовыми поверхностями нагрева котла являются отдельно стоящие стандартные чугунные экономайзеры. КПД котла в зависимости от производительности составляет 90,3–92,8 % при работе на газовом топливе и 88,7–91,4 % при работе на мазуте.
25
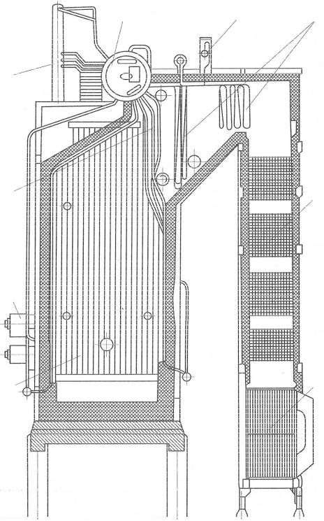
Паровой котел БМ-35. Приведенный на рис. 7 паровой котел БМ-35 производства Белгородского завода энергетического машиностроения является современным котлом с естественной циркуляцией, предназначенным для работы на природном газе и мазуте. Характеристики котла: производительность 50 т/ч; давление перегретого пара 3,9 МПа; температура перегретого пара 440 ОС.
Камерная топка 6 экранирована трубами 60 3 мм. Опускные трубы 83 4 мм расположены вне топки. На фронтальной стене котла установлены четыре газовые горелки 7 диффузионного типа. Смесеобразование газа с завихренным потоком воздуха осуществляется в амбразуре горелки и заканчивается в топке. Горизонтальный под топки не экранирован и выполнен из огнеупорного кирпича, уложенного на слой теплоизоляционного материала.
Задний экран на выходе из топки разведен и образует трехрядный фестон 8. В горизонтальном газоходе котла установлен пароперегреватель 3, а в опускной шахте – водяной экономайзер 4, состоящий из четырех пакетов, и воздухоподогреватель 5.
Пароперегреватель 3 котла состоит из двух ступеней и выполнен из труб 38 4 мм. Расположение труб коридорное. Насыщенный пар из барабана 1 по потолочным трубам поступает в первую по ходу пара ступень пароперегревателя и движется в ней противоточно по отношению к потоку дымовых газов. Далее пар поступает в коллектор, где расположен регулятор 2 перегрева пара – пароохладитель поверхностного типа, в который поступает охлаждающая питательная вода из питательной магистрали. Из регулятора перегрева пар поступает во вторую по ходу пара ступень пароперегревателя, где входные змеевики включены противоточно, а выходные – прямоточно по отношению к направлению движения продуктов сгорания. Над выходным коллектором пароперегревателя расположена главная паровая задвижка.
Водяной экономайзер 4 кипящего типа выполнен из стальных труб32 3 мм, расположенных в шахматном порядке. Отвод пароводяной смеси из верхнего коллектора последнего по ходу воды пакета осуществляется по четырем трубопроводам, подведенным к барабану. В горизонтальном и вертикальном направлениях змеевики пакетов экономайзера дистанционированы специальными планками и подвесками, изготовленными из жароупорной стали. В период растопки и остановки котла экономайзер может быть включен в линию рециркуляции воды, что обеспечивает его охлаждение в эти периоды.
26
1 |
2 |
3 |
9
8 |
4 |
7
5
6
Рис. 7. Паровой котел БМ-35: 1 – барабан; 2 – регулятор перегрева пара; 3 – пароперегреватели; 4 – водяной экономайзер; 5 – воздухоподогреватель; 6 – топка; 7 – горелка; 8 – фестон; 9 – выносной циклон
27
Воздухоподогреватель 5 стальной трубчатый двухходовой по воздуху состоит из шести секций. Диаметр труб 40 1,5 мм. Верхняя трубная доска воздухоподогревателя соединена с газоходом линзовым компенсатором, что обеспечивает его плотность с воздушной и газовой сторон при разных термических расширениях труб и кожуха. Подогрев воздуха в воздушном подогревателе 200–250 ОС.
Обмуровка котла облегченного типа закреплена на каркасе котла и выполнена в два слоя: первый, обращенный внутрь газохода, выложен из шамотного кирпича, второй – из изоляционной керамзитовой плитки. Уплотнение обмуровки осуществляется с помощью металлической обшивки.
Испарительная система котла выполнена по схеме двухступенчатого испарения. Испарительные контуры первой ступени испарения включены непосредственно в барабан. Разделение пароводяной смеси, поступающей из первой ступени, осуществляется в циклонах, установленных в барабане. Для очистки пара от влаги на выходе из барабана установлены жалюзийные сепараторы и за ними дырчатые распределительные щиты. Пар из выносных циклонов 9 второй ступени испарения подается в паровое пространство барабана под жалюзийные сепараторы и смешивается с основным потоком пара. Питательная вода подается через распределительные жалюзи под уровень воды в барабане. Питание водой второй ступени испарения каждого выносного циклона осуществляется из торцов барабана по двум трубам. Непрерывная продувка котла осуществляется из выносных циклонов.
Котел имеет восемь контуров естественной циркуляции: фронтальный, задний, два основных боковых экрана, расположенных в средней части боковых стен, и четыре экрана, расположенных с обеих сторон основных экранов. Основные боковые экраны включены в выносные циклоны второй ступени испарения. Все остальные контуры циркуляции включены в барабан – первую ступень испарения.
Паровой котел серии Е-1-9. Вертикально-водотрубный паровой котел (рис. 8) состоит из камерной топки 8, топочных экранов, двух барабанов (верхнего 1 и нижнего 9) и котельного пучка труб 10. Топка экранирована фронтальным экраном 5, переходящим в потолочный экран 4, а также боковыми экранами 3. Для топочных экранов и котельного пучка используют трубы 51 2,5 мм. Топочные экраны
28
включены в контуры циркуляции с помощью фронтального и четырех боковых коллекторов 6, вваренных в барабаны.
1 2
11
10
Б
9
11
А
10
Продувка
А – А
3 4
5
6
7
Б
8
Б – Б
6
7
А
3 8
Рис. 8. Вертикально-водотрубный паровой котел типа Е-1-9-1г: 1 – верхний барабан; 2 – главный паровой вентиль; 3 – боковой экран; 4 – потолочный экран; 5
– фронтальный экран; 6 – коллектор; 7 – горелка; 8 – камерная топка; 9 – нижний барабан; 10 – котельный пучок труб; 11 – дымовая труба
Горелка 7 расположена в нижней части фронтальной стены. Продукты горения проходят топку, поступают в котельный пучок, разделенный металлической перегородкой, что обеспечивает необходимую
29