Материал: 2455

Внимание! Если размещение файла нарушает Ваши авторские права, то обязательно сообщите нам

скорость газового потока, и через газоход в верхней части задней стены направляются в дымовую трубу 11. Продувка котла осуществляется из нижнего барабана. КПД котла 86 %.

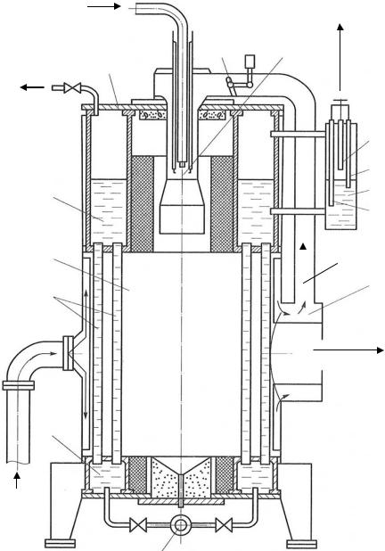
Паровой котел МЗК-7АГ. Вертикально-цилиндрический паровой котел МЗК-7АГ Московского завода котлоагрегатов – это котел с естественной циркуляцией (рис. 9).

К блоку управления

Газ

2 3

1

Пар

 

4

 

5

13

6

 

7

12

Воздух

11

8

 

Дымовые

газы

10

Воздух

9

Рис. 9. Паровой котел МЗК-7АГ: 1 – крышка; 2 – поворотная заслонка; 3 – горелка; 4, 5, 7 – электроды соответственно верхнего, нижнего и аварийного уровней воды; 6 – уровнемерная колонка; 8 – воздушный регистр; 9 – вентиль продувки; 10 – нижний коллектор; 11 – трубы; 12 – топка; 13 – верхний коллектор

30

Котел состоит из верхнего 13 и нижнего 10 кольцевых коллекторов, соединенных между собой прямыми вертикальными трубами 11, расположенными по концентрическим окружностям в шахматном порядке. Первый внутренний кольцевой ряд образует цилиндрическую топочную камеру. Шаг труб обеспечивает их крепление в трубных решетках вальцовкой или сваркой. Для обеспечения работы котла под наддувом при избыточном давлении 200–500 Па топочная камера выполняется газоплотной за счет применения плавниковых труб, сваренных между собой по плавникам.

Часть экранных труб, между которыми выходят топочные газы, установлена более редко и не имеет плавников. Радиационная поверхность выполнена из труб с наружным диаметром 38 мм.

Верхний кольцевой коллектор имеет съемную крышку 1, обеспечивающую доступ для осмотра, очистки и ремонта поверхностей нагрева и коллекторов. Нижний коллектор образован нижней трубной решеткой и штампованным упорным кольцом. Питательная вода поступает в верхний коллектор, опускается по менее обогреваемым конвективным трубам в нижний коллектор, а по экранным трубам пароводяная смесь поступает в верхний коллектор, где происходит отделение пара от воды.

Отвод пара осуществляется из верхнего коллектора через парозапорный вентиль, установленный на верхней крышке котла. Там же установлены два пружинных предохранительных клапана. На боковой поверхности верхнего коллектора установлены два водоуказательных прибора и манометр. Продувка котла из нижней кольцевой камеры осуществляется через вентиль 9.

Котел снабжен питательным насосом и дутьевым вентилятором. Воздух, необходимый для горения, подается вентилятором через патрубок в воздушный канал, образованный внутренней жаростойкой и наружной обшивками, являющийся одновременно и тепловой изоляцией котла. Нагретый воздух из кольцевого канала через воздуховод и воздушный регистр 8 подается в горелку 3 котла. На воздушном регистре предусмотрена поворотная заслонка 2, осуществляющая двухпозиционное регулирование подачи воздуха в зависимости от расхода используемого топлива.

Короткофакельная смесительная газовая горелка состоит из центральной трубы, по которой подается газ, запального устройства и двух электродов. Продукты горения через два окна, образованные трубами, двумя потоками расходятся по газоходу кольцеобразной

31

формы в противоположные стороны. Омывая на своем пути конвективные трубы, потоки соединяются на противоположной входу стороне в дымовую трубу.

2.2. Водогрейные котлы

Общие сведения. Водогрейные котлы, назначением которых является получение горячей воды заданных параметров, применяют для теплоснабжения систем отопления и вентиляции, бытовых и технологических потребителей. Водогрейные котлы, работающие обычно по прямоточному принципу с постоянным расходом воды, устанавливают не только на ТЭЦ, но и в районных отопительных, а также отопи- тельно-производственных котельных в качестве основного источника теплоснабжения.

Промышленность выпускает широкий ассортимент унифицированных по конструкции водогрейных котлов. Их характеризуют по теплопроизводительности, температуре и давлению воды, а также по роду металла, из которого они изготовлены. Чугунные котлы выпускаются теплопроизводительностью до 1–1,5 Гкал/ч, давление 0,7 МПа, с температурой горячей воды до 115 ОС. Стальные котлы изготавливаются в соответствии со шкалой теплопроизводительности на

4; 6,5; 10; 20; 30; 50; 100; 180 Гкал/ч (4,5; 7,5; 11,6; 23,2; 35; 58; 116 и 210 МВт).

Водогрейные котлы до 30 Гкал/ч обычно обеспечивают работу только в основном режиме с подогревом воды до 150 ОС при давлении воды на входе в котел 1,6 МПа. Для котлов мощностью выше 30 Гкал/ч предусматривается возможность работы как в основном, так и в пиковых режимах с подогревом воды до 200 ОС при максимальном давлении ее на входе в котел 2,5 МПа.

Водогрейные котлы типа ТГВ. Теплофикационные водогрейные котлы (ТВГ) выпускаются теплопроизводительностью 4 и 8 Гкал/ч. Это секционные сварные котлы, предназначеные для работы на газе с нагревом воды не более 150 ОС. На рис. 10 приведен котел ТГВ-8. Радиационная поверхность топки 12 и конвективная поверхность 11 нагрева состоят из отдельных секций, выполненных из труб 51 2,5 мм. Трубы в секциях конвективной поверхности расположены горизонтально, а в секциях радиационной поверхности – вертикально. Радиационная поверхность состоит из фронтально-потолочного экрана

32

и пяти секций экранов, три из которых двойного облучения (двухсветовые экраны 14).

 

 

 

 

 

7

 

 

Выход воды

Вход

1

5

6

8

8

8

10

 

 

2

3 4

 

 

 

 

 

 

 

 

 

 

 

 

 

 

 

9

воды

 

 

 

 

 

 

 

 

 

 

2

 

 

 

 

 

 

 

 

 

 

 

1

5

 

а)

 

 

А

 

 

 

 

 

 

 

 

 

 

А – А

 

Б

 

 

Б – Б

 

 

 

 

 

 

 

 

 

 

 

 

 

 

 

 

 

 

 

 

 

 

 

 

11

 

12

14

Вход

 

воды

15

 

13

16

 

Б

б)

А

Рис. 10. Водогрейный котел ТВГ-8: а – схема циркуляции воды; б – устройство котла; 1, 2 – нижние и верхние коллекторы конструктивной поверхности; 3, 5 – потолочно-фронтальные трубы; 4, 6 – нижний и верхний коллекторы потолочного экрана; 7 – левые боковые экраны; 8, 14 – двухсветные экраны; 9 – правый боковой экран; 10 – выход воды в теплосеть; 11 – конвективная поверхность нагрева; 12 – радиационная поверхность топки; 13 – воздушный канал; 15 – горелки; 16 – подподовые каналы

Котел оборудован подовыми горелками 15, которые размещены между секциями радиационной поверхности. Воздух от вентилятора поступает в воздушный канал 13, из которого подается в подподовые каналы 16, соединенные с горелками. Продукты сгорания топлива

33

движутся вдоль труб радиационной поверхности, проходят через окно в задней части топки и поступают в опускную шахту, омывая конвективную поверхность поперечным потоком.

Вода для подогрева поступает в два нижних коллектора 1 конвективной поверхности, пройдя последнюю, она собирается в верхних коллекторах 2 конвективной поверхности и далее по нескольким по- толочно-фронтальным трубам 3 направляется в нижний коллектор 4 потолочного экрана, откуда по потолочно-фронтальным трубам 5 поступает в верхний коллектор 6 этого экрана. После этого вода последовательно проходит экраны: левый боковой 7, три двухсветовых 8 и правый боковой 9. Нагретая вода через коллектор правого экрана выходит в теплосеть 10. КПД котлов этого типа составляет 91,5 %.

Водогрейные котлы типа ПТВМ. Котлы данного типа выпуска-

ют средней и большой теплопроизводительности (30, 50 и 100 Гкал/ч). Они работают на газообразном и жидком топливах. Конструкция котлов типа ПТВМ бывает с П-образной компоновкой и башенной. Давление воды на входе в котел 2,5 МПа. Температура воды на входе в котел в основном режиме 70 ОС, в пиковом режиме – 104 ОС. На выходе температура воды 150 ОС.

Водогрейный котел ПТВМ-30 (КВГМ-30-150М). Пиковый теп-

лофикационный водогрейный газомазутный котел (рис. 11) теплопроизводительностью 30 Гкал/ч имеет П-образную компоновку и состоит из топочной камеры 5, конвективной шахты 2 и соединяющей их поворотной камеры 6.

Все стены топочной камеры котла, а также задняя стенка и потолок конвективной шахты экранированы трубами 60 3 мм с шагом S = 64 мм. Боковые стены конвективной шахты закрыты трубами84 4 мм с шагом S = 128 мм.

Конвективная поверхность нагрева 3 котла, выполненная из труб28 3 мм, состоит из двух пакетов. Змеевики конвективной части собраны в ленты по шесть-семь штук, которые присоединены к вертикальным стойкам.

Котел оборудован шестью газомазутными горелками 4, установленными по три встречно на каждой боковой стенке топки. Диапазон регулирования нагрузки котлов – 30–100 % номинальной производительности. Регулирование производительности осуществляется путем изменения числа работающих горелок. Для очистки внешних поверхностей нагрева предусмотрено дробеочистительное устройство 1.

34