Материал: 2410

Внимание! Если размещение файла нарушает Ваши авторские права, то обязательно сообщите нам

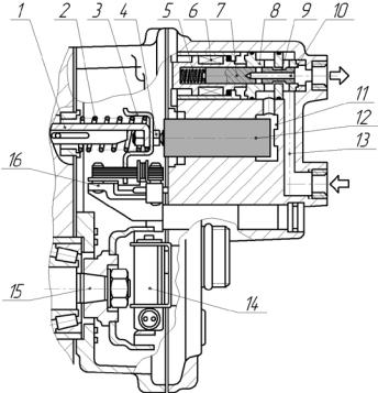
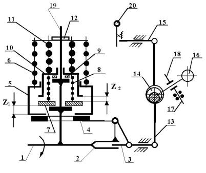
Рис. 1.13. Кинематическая схема двухрежимного регулятора:

1 – вал; 2 – втулка; 3 – муфта; 4 – грузы регулятора;

5 – тарелка пружины 6 минимальной частоты;

 

 

 

И

7 – тарелка пружины 8 корректора; 9 – прокладка

корректора; 10 – тарелка пружины 11 максимальной

частоты; 12 – регулировочнаяДгайка n max; 13 – двухплечий

рычаг; 14 – вал с эксцентриком, изменяющий

положение рейки 15; 16 – рычаг управления подачей

 

 

А

 

топл ва; 17 – винт холостого хода; 18 – винт

ном нальной подачи; 19 – ось грузов; 20 – рычаг

 

б

 

 

корректора пусковой подачи

и

 

 

С

 

 

 

После пуска двигателя, когда центробежная сила грузов 4 станет больше силы пружины 6, тарелка 5 поднимается на величину зазора Z1, снижая подачу топлива. В зависимости от режима работы двигателя требуемая подача топлива обеспечивается рычагом управления 16, который имеет эксцентрик (кулачок) 14, перемещая рычаг 13 и рейку насоса 15 в нужное положение. Холостой ход регулируется подпружиненным винтом 17. Если рычаг 16 повернуть до сжатия пружины, то подача топлива прекратится и двигатель остановится.

Для увеличения подачи топлива на режиме максимального крутящего момента служит прямой корректор, состоящий из тарелки корректора 7 и пружины 8. На частотах, близких к номинальному режиму, грузы 4, воздействуя на тарелку 5 и 7, сжимают пружину корректора 8 на величину зазора Z2. При снижении частоты вращения,

26

когда сила пружины 8 станет больше силы грузиков 4, они переместятся к оси вала 1 на величину зазора Z2, подача топлива будет увеличена. Зазор Z2 регулируется прокладками. Вместо цилиндрической пружины 8 возможна установка тарельчатой пружины.

Максимальная частота вращения вала двигателя зависит от усилия затяжки основной пружины 11, которое изменяется при помощи гайки 12. Подача топлива на номинальном режиме регулируется винтом 18.

На рис. 1.14 показаны внешняя и частичная скоростные характеристики двигателя, оборудованного двухрежимным регулятором. Изменение формы характеристики зависит от частоты вращения, перемещения Z1 и Z2 грузов, положения рычага 16.

 

 

 

И

 

 

Д

 

А

 

С

б

 

 

Рис. 1.14.иВнешняя и частичная характеристики двигателя, оборудованного насосом с двухрежимным регулятором:

1 6 – внешняя скоростная характеристика; 1/ 6/ – частичная скоростная характеристика; 1// 2// – характеристика, формирующая работу двигателя на холостом ходу

Внешняя скоростная характеристика обеспечивается, когда рычаг управления 16 упирается в винт 18, частичные – при положении рычага в зоне между винтами 18 и 17. В зоне между первыми (1–2) и вторым (4–6) режимами требуемая подача топлив устанавливается рычагом 16. На двигателе ЗИЛ-645 установлены форсунки с двумя

сопловыми распылителями. Диаметр сопловых отверстий 0,4 мм, ход иглы 0,25–0,3 мм, давление начала подъема иглы 17,5+0,5 МПа. Одно

27

сопловое отверстие подает топливо в объем, другое – на стенку камеры сгорания. Объемно-пленочное смесеобразование обеспечивает экономичную работу двигателя с жесткостью процесса сгорания, не превышающей 0,4–0,6 МПа/град.

Регулировку насоса на стенде желательно выполнять с форсунками, снятыми с двигателя. На форсунках должна быть метка той секции насоса, с которой она работает. При частоте вращения насоса 1400 мин –1 подача топлива за цикл должна быть равна 60 мм 3. При частоте вращения насоса 100 мин –1 (режим пуска) цикловая подача должна лежать в пределах 160–165 мм3.

Всережимные и двухрежимные регуляторы могут быть механического, гидравлического и электрического типов.

1.4. Устройство и принцип работы регуляторов с гидравлическим и электромагнитным управлением

На

рис

ДИ

меха

-

низм

непрямого

топ

-

ливного

насоса фирмы Р. Bosсh [12].

 

 

Рейка 1 топливного насоса имеет возвратную пружину 2 и указатель ее положения 3, который записывает датчик 16. При помощи

регулировочного винта 4 производится корректировка положения

и

 

рейки 1 и изменение цикловойАподачи топлива. Исполнительным ме-

ханизмом является поршень 12, который под действием давления в

С

влево, а пружина 1 возвращает

камере управления 11 перемещаетсяб

его в начальное положен е.

Регулирующий механизм состоит из катушки электромагнита 6, штока 7 (якоря) с проточкой 9 (золотником), вертикального и горизонтального сливного отверстия 10, регулирующей кромки 8.

При отсутствии питания на катушке 6 пружина 5 перемещает шток 7 в крайнее правое положение. Камера управления 11 соединяется через вертикальный и горизонтальный канал 10 с линией слива. Давление в камере управления 11 уменьшается и рейка 1, под действием усилия пружины 2, перемещается вправо, уменьшая подачу топлива.

При подаче определенной величины тока в катушку 6 (это зависит от положения педали и сопротивления в контуре катушки) возникает магнитодвижущая сила и шток 7 перемещается влево. Сливные отверстия 10 закрываются, а проточка золотника 9 устанавливается в

28

положение, при котором жидкость под давлением из подводящего канала 13 поступает в камеру управления 11. Давление действует на площадь сечение поршня, возникает усилие, которое перемещает рейку в сторону увеличения подачи топлива. При перемещении рейки 1 пружина 2 сжимается, увеличивая силу. Когда усилия со стороны поршня и пружины станут равными, рейка 1 остановится.

 

 

 

 

И

 

 

 

Д

 

 

А

 

 

Р с. 1.15. Регулятор насоса высокого давления

 

б

 

 

 

с г дравлическим приводом:

1 – рейка топл вного насоса; 2 – возвратная пружина;

3

и

 

 

 

– указатель хода рейки; 4 – регулировочный винт;

5 – пружина сердечника; 6 – катушка электромагнита;

7 – штокСс золотником управления; 8 – регулирующая кромка; 9 – проточка золотника; 10 – сливное отверстие; 11 – камера управления; 12 – поршень; 13 – подводящий

канал; 14 – датчик частоты циклов; 15 – вал кулачковый; 16 – датчик хода рейки

На контроллер (электронный блок управления) подается сигнал от датчика частоты вращения 14, от датчика положения (хода) рейки 16 и на катушку электромагнита 6 поступает величина тока, зависящая от нагрузки двигателя и частоты вращения его вала.

На рис. 1.16 показан разрез регулятора насоса высокого давле-

ния с исполнительным механизмом электромагнитного типа.

29

Рейка насоса 1 изменяет количество топлива, подаваемое плунжерной парой. Пружина 2 возвращает рейку 1 в начальное положение. При помощи указателя 3 и датчика 11 определяется ход рейки. Сердечник 5 и катушка 6 создают направленное электромагнитное поле, втягивающее якорь 8. Величина тока и сила магнитного поля катушки 6 зависят от сопротивления контура. Сопротивление выполнено в виде реостата и изменяется от положения педали управления.

 

 

И

 

Д

А

 

б

 

 

Р с. 1.16. Регулятор насоса высокого давления

ис электрическим приводом:

С1 – рейка топливного насоса; 2 – возвратная пружина; 3 – указатель хода рейки; 4 – регулировочный винт; 5 – сердечник; 6 – катушка электромагнита; 7 – шток; 8 – якорь; 9 – датчик частоты вращения; 10 – вал кулачковый; 11 – датчик хода рейки

При изменении положения якоря 8 перемещается шток 7 и рейка 1. Это приводит к регулированию подачи топлива. Датчик частоты вращения 9 и датчик хода рейки 11 передают сигналы в электронный блок, который в зависимости от частоты вращения коленчатого вала и нагрузки двигателя подает на катушку 6 требуемое (оптимальное) значение величины тока. Якорь 8 перемещается и устанавливает рейку 1 в нужное положение. Зубчатая рейка 1 перемещаясь, поворачива-

30