Материал: 2410

Внимание! Если размещение файла нарушает Ваши авторские права, то обязательно сообщите нам

Министерство образования и науки РФ Федеральное государственное бюджетное образовательное учреждение высшего образования

«Сибирский государственный автомобильно-дорожный университет (СибАДИ)»

Ю.П. Макушев,Л.Ю.Волкова,А.П.Жигадло

 

 

 

И

СИСТЕМЫ ПОДАЧИ ТОПЛИВАИ ВОЗДУХА

 

 

Д

ДВИГАТЕЛЕЙ ВНУТРЕННЕГО СГОРАНИЯ

 

 

А

 

 

б

 

Учебное пособие

и

 

 

С

 

 

 

Омск 2017

УДК 621.43.(075)

 

 

 

 

Согласно 436-ФЗ от 29.12.2010 «О защите детей от информации,

ББК 31.365

причиняющей вред их здоровью и развитию» данная продукция

М15

маркировке не подлежит.

 

 

 

Рецензенты:

д-р техн. наук, проф. В.В. Шалай (ОмГТУ); д-р техн. наук, проф. В.Р. Ведрученко (ОмГУПС)

Работа утверждена редакционно-издательским советом СибАДИ в качестве учебного пособия.

Макушев, Юрий Петрович.

СибАДИРедактор Н.И. Косенкова

 

М15 Системы подачи топлива и воздуха двигателей внутреннего сгорания [Электронный ресурс] : учебное пособие / Ю.П. Макушев,

Л.Ю. Волкова, А.П. Жигадло. Электрон. дан. Омск : СибАДИ, 2017. URL: http://bek.sibadi.org/cgi-bin/irbis64r_plus/cgiirbis_64_ft.exe. - Режим доступа: для авторизованных пользователей.

ISBN 978-5-93204-992-1.

Приведена методика расчета и выбора основных размеров насоса высокого давления и форсунок. Для оценки технического состояния и исследования топливной аппаратуры предложены датчики и измерительная аппаратура. Рассмотрены конструкции, принцип действия и расчет форсунок с электромагнитным и пьезоэлектрическим управлением. Дана методика расчета, диагностирования, указаны возможные неисправности агрегатов наддува двигателя и приведены способы их устранения.

Имеет интерактивное оглавление в виде закладок.

Предназначено для специалистов, бакалавров, магистров направлений подготовки 13.03.03 «Энергетическое машиностроение» профиля «Двигатели внутреннего сгорания», 23.03.02 «Наземные транспортно-технологические машины и комплексы», 23.03.03 «Эксплуатация транспортнотехнологических машин и комплексов» и может быть полезно для о учающихся других технических специальностей и направлений, а также инженерам и аспирантам.

Подготовлено на кафедре «Тепловые двигатели автотракторное электрооборудование».

Текстовое (символьное) издание (8,0 МБ)

Системные требования : Intel, 3,4 GHz ; 150 МБ ; Windows XP/Vista/7 ;

1 ГБ свободного места на жестком диске ; программа для чтения pdf-файлов

Adobe Acrobat Reader ; Google Chrome

Издание первое. Дата подписания к использованию 06.03.2017

Издательско-полиграфический комплекс СибАДИ. 644080, г. Омск, пр. Мира, 5 РИО ИПК СибАДИ. 644080, г. Омск, ул. 2-я Поселковая, 1

© ФГБОУ ВО «СибАДИ», 2017

ВВЕДЕНИЕ

Система (от греч. systema – целое, составленное из отдельных частей) – объективное единство закономерно связанных друг с другом узлов, агрегатов, выполняющих определенную задачу (например, питание двигателя внутреннего сгорания).

Из главных систем дизеля можно выделить систему питания топливом, систему снабжения воздухом (наддув), систему смазки и охлаждения.

Технико-экономические показатели дизеля, токсичность отработавших газов зависят в основном от способа смесеобразования, совершенства топливной аппаратуры, ее состояния и регулировки.

Система питания дизеля топливом в общем случае состоит из

дозировать порции топлива вДсоответствииИс нагрузкой и частотой вращения коленчатого вала;

обеспечивать равное количествоАтоплива от цикла к циклу и по отдельным цилиндрам;

обеспечивать необходимуюб интенсификацию, мелкость распыливания топлива и дально ойность;

количество топлива должно ыть согласовано с объемом воздуха, при котором обеспеч вается полное и бездымное сгорание;

обеспечиватьСстаб льность конструктивных и регулировочныхмым значениям завода-изготовителя.

С целью улучшения процесса сгорания впрыск топлива интенсифицируют, применяя насосы-форсунки, аккумуляторные системы подачи топлива. Для управления характеристикой впрыска топлива применяют электромагнитные или пьезоэлектрические форсунки.

Эффективное использование рабочего объема двигателей внутреннего сгорания можно достичь путем увеличения плотности заряда, применяя наддув воздуха и увеличение подачи топлива.

Для повышения давления воздуха на впуске применяются объемные и центробежные компрессоры. Повышение давления в цилин-

3

дре поршневого компрессора происходит путем сближения молекул, что достигается уменьшением объема замкнутого пространства или преобразованием кинетической энергии в энергию давления в диффузорах (центробежные компрессоры). Сжатие газа динамическим способом является основным принципом турбокомпрессорных машин. Турбокомпрессор (turbo лат.– вихрь) – центробежный или осевой лопаточный компрессор для сжатия и подачи воздуха (газа).

Турбокомпрессор часто называют агрегатом наддува. Агрегат (от лат. – aggrego – присоединяю) – укрупненный элемент машины (например, компрессор и турбина или электродвигатель и насос), обладающий полной взаимозаменяемостью и выполняющий определенную функцию.

Турбокомпрессор любого типа состоит из вращающегося лопаточного аппарата – рабочего колеса, в которомИот внешнего источни-

ка (двигателя, турбины, электродвигателя) рабочему телу (газу) со-

общается энергия. Неподвижные аппаратыД(диффузоры, спиральные

камеры) предназначены для изменения величины и направления скорости потока и давления. Сжатие газа в каналах рабочего колеса происходит в результате силового воздействия лопаток на поток газа.

Применение наддува снижает расход топлива по следующим

причинам:

1.

Высокий крутящий момент и повышенная мощность позво-

 

и

ляют иметь больше передаточныхАчисел коробок передач, что помо-

гает снизить общую ра очую частоту вращения вала двигателя.

2.

С

По сравнен ю сбравносильным «атмосферным» двигателем

двигатель с наддувом меет меньшие габаритные размеры и малый вес.

3. Наддув способствует повышению эффективного КПД двигателя (лучше условия для сгорания топлива).

В пособии рассмотрены устройство, расчет, диагностирование систем питания дизеля с механическим и электронным управлением, агрегаты наддува с перепуском газа мимо турбины и поворотом лопаток соплового аппарата турбины.

Студенты, обучающиеся по направлению подготовки 13.03.03 «Энергетическое машиностроение» профиля «Двигатели внутреннего сгорания» и других технических специальностей, должны в совершенстве владеть устройством, расчетом, техническим обслуживанием, диагностированием топливной аппаратуры и систем наддува современных дизельных двигателей.

4

1.ТОПЛИВНАЯ АППАРАТУРА ДИЗЕЛЯ

СГИДРОМЕХАНИЧЕСКИМ УПРАВЛЕНИЕМ

1.1.Устройство и принцип действия топливной аппаратуры дизеля с гидромеханическим управлением хода иглы

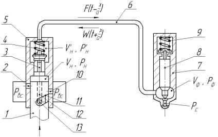
Топливная аппаратура дизеля служит для своевременной подачи под высоким давлением точно дозированной порции распыленного топлива в камеру сгорания.

На рис. 1.1 приведена схема топливной аппаратуры дизеля с механическим управлением насоса высокого давления, дозированием топлива отсечкой в конце подачи. В штуцере насоса установлен на-

гнетательный клапан перьевого типа с разгрузочным пояском. Фор-

 

 

 

И

сунка имеет гидромеханическое управление ходом иглы. Насос высо-

кого давления соединен с форсункой трубопроводом 6.

 

 

Д

 

А

 

б

 

 

и

 

 

 

СРис. 1.1. хема топливной аппаратуры дизеля

При нахождении плунжера 1 в нижнем положении топливо под давлением Рвс = 0,2 – 0,3 МПа, создаваемое подкачивающим насосом, заполняет пространство над плунжером Vн [1]. При движении плунжера 1 вверх под действием кулачка вала насоса и закрытии впускно-

го окна 2 топливо сжимается в объеме Vн над плунжером и давление Рн повышается.

Нагнетательный клапан 3 поднимается, преодолевая силу пружины 4. В штуцере 5 объемом V/н давление Р/н увеличивается. Прямая волна давления F(t – x/a) со скоростью звука a (примерно 1200 м/с) под давлением Рф поступает по трубопроводу 6 в объем

5