Материал: 2410

Внимание! Если размещение файла нарушает Ваши авторские права, то обязательно сообщите нам

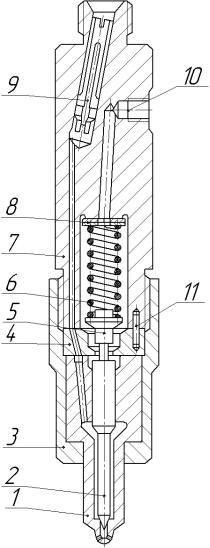
Рис. 1.6. Форсунка фирмы Bosch:

 

1

– корпус распылителя;

 

 

 

2

– игла;

 

 

Д

3

– гайка распылителя;

 

 

И

4

– «проставка»;

 

 

 

5

– штанга укороченная;

 

 

6

– пружина;

 

 

 

7

– корпус форсунки;

 

 

 

8

 

б

 

 

– регулировочные шайбы;

 

 

9

– фильтр;

 

 

 

 

10 – канал для отвода утечек;

 

 

 

и

 

 

 

11 – установочный штифтА

 

 

С

 

1

выполнены сопловые отверстия

В корпусе распыл теля

диаметром 0,2 – 0,5 мм. Пружина 6 имеет жесткость 200 – 300 Н/мм и предварительно сжата регулировочными шайбами 8 на 2 – 3 мм. Усилие пружины 6 через штангу 5 передается на иглу 2, которая закрывает сопловые отверстия. Давление открытия иглы зависит от величины усилия пружины 6, диаметра направляющей иглы 2 и для различных дизелей находится в пределах 20 – 35 МПа.

Форсунка при помощи трубопровода высокого давления соединяется со штуцером насоса. В зависимости от скоростных и нагрузочных режимов работы дизеля насос создает давление, игла 2 открывается (давление в трубопроводе больше давления открытия иглы) и топливо в распыленном виде поступает в камеру сгорания.

11

1.2. Устройство, регулирование и диагностирование топливного насоса дизеля КамАЗ -740

На рис. 1.7 и 1.8 показаны общий вид и разрез секции топливного насоса высокого давления (ТНВД) дизеля КамАЗ -740.

 

 

 

 

И

 

 

 

Д

 

 

А

 

 

б

 

 

и

 

 

 

С

 

 

 

 

Р с. 1.7. Общий вид насосной секции

Для ограничения максимальных частот вращения коленчатого вала двигателя и обеспечения необходимой цикловой подачи топлива на режиме пуска, холостого хода, номинальной мощности, максимального крутящего момента и других нагрузках у насоса высокого давления имеется регулятор. По конструктивному исполнению регуляторы бывают всережимные, двухрежимные и однорежимные. Регуляторы могут иметь прямые и обратные корректоры. Прямой корректор увеличивает подачу топлива на 10 – 20% при снижении частоты вращения (например, резко увеличивается нагрузка). Обратный корректор снижает подачу топлива при малых частотах вращения коленчатого вала для уменьшения сажи в отработавших газах. Применяют также корректоры цикловой подачи в зависимости от давления, создаваемого агрегатами наддува воздуха.

12

 

 

 

И

 

 

Д

 

А

 

б

 

 

и

 

 

 

РисС. 1.8. екция топливного насоса высокого давления дизеля КамАЗ - 740:

1 – корпус насоса; 2 – толкатель; 3 – пята толкателя; 4 – тарелка пружины толкателя; 5 – пружина толкателя; 6 – шайба: 7– плунжер; 8 – штифт; 9 – корпус насосной секции; 10 – втулка пружины; 11– корпус нагнетательного клапана; 12 – нагнетательный клапан; 13 – пружина нагнетательного клапана; 14 – упор пружины; 15 – штуцер; 16 – регулировочные шайбы; 17– стопорная шайба штуцера; 18 – фланец; 19, 21, 22 – уплотнительные кольца; 20 – прокладка нагнетательного клапана; 23 – левая рейка; 24 – поворотная втулка; А – полость напол-

нения; Б – винтовая кромка плунжера; В – сливная полость

В настоящее время в эксплуатации еще находятся дизели типа КамАЗ -740 с управлением насоса высокого давления при помощи

13

механического регулятора. Ниже приводятся его устройство и порядок регулирования.

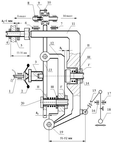
Рассмотрим принцип действия всережимного регулятора и методику его регулирования. На рис. 1.9 показана схема всережимного регулятора двигателя КамАЗ -740.

Положение рейки насоса 8 влияет на угол поворота поводка плунжера 10, его активный ход и величину подачи топлива, которая изменяется от нуля до 210 мм3 за впрыск. Рейка 8 перемещается влево и вправо при помощи рычага 13, на который действуют силы грузиков 2 и пружины регулятора 15.

Центробежная сила грузиков определяется выражением

F = m R ω2

,

(1.1)

ц

 

 

где m – масса грузов, кг; R – радиус вращения центра масс грузов, м;

ω =

π n

– угловая скорость вращения грузов 1/с; n – частота враще-

30

 

 

Д

ния грузов, мин –1.

 

 

 

 

При массе грузов 0,01 кг, радиусе вращения центра масс 0,02 м,

 

 

 

А

номинальной частоте вращения вала насосаИ1300 мин-1 с учетом пере-

даточного отношения привода регулятора, равного 2,3, центробежная

 

 

б

 

сила будет равна 200 Н. При равенстве плеч грузиков и их лапок уси-

лие на муфте будет равно 200 Н.

 

 

 

и

 

 

Для обеспечения постоянного положения рейки насоса, например на режиме ном нальной мощности, со стороны пружины регулятора должна быть обеспечена сила, равная центробежной силе грузиков. Например, при жесткости пружины регулятора в 50 Н/мм пружина должна быть растянута на 4 мм, создавая силу 200 Н.

Сила пружины равна

 

 

С

Fпр = су,

(1.2)

где с – жесткость пружины, Н/мм; у – величина растяжения пружины, мм.

При равенстве Fц и Fпр рейка находится в неподвижном состоянии, обеспечивая требуемую подачу топлива. Если Fц Fпр, рейка перемещается в сторону уменьшения подачи и наоборот.

При регулировке топливной аппаратуры пользуются понятием цикловая подача (подача за один ход плунжера). Циклом называют совокупность (множество) тактов, обуславливающих работу двигателя. Цикл четырехтактного двигателя включает такты впуск, сжатие, рабочий ход и выпуск. Рабочий цикл у четырехтактного двигателя

14

продолжается 7200, а такт – 1800. Примерно за 200 до ВМТ поршня на такте сжатия в воздух, сжатый в камере сгорания до температуры 500–600 ОС, подается под высоким давлением (40–60 МПа) распыленное топливо.

 

 

 

 

И

 

 

 

Д

 

 

А

 

 

б

 

 

и

 

 

 

С

 

 

 

 

Рис. 1.9. хема всережимного регулятора насоса

высокого давления типа 33 двигателя КамАЗ -740: 1 – державка грузов; 2 – грузы регулятора; 3 – муфта; 4 – болт регулировки общей подачи топлива; 5 – корпус насоса; 6 – болт регулировки пусковой подачи; 7 – болт ограничения хода рычага останова; 8 – рейка насоса;

9 – замок; 10 – поводок плунжера; 11 – рычаг регулятора; 12 – промежуточный рычаг; 13 – рычаг муфты грузов; 14 – прямой корректор; 15 – главная пружина регулятора;

16 – болт регулировки минимальной частоты вращения;

17 – болт ограничения максимальной частоты вращения;

18 – рычаг управления подачей топлива (регулятором); 19 – ось рычагов регулятора; 20 – обратный корректор; П – пружина; Ш – шайба; Г – гайка

15