Материал: [SHipinsky_V.G.]_Oborudovanie_i_osnastka_upakovoch2(z-lib.org)

Внимание! Если размещение файла нарушает Ваши авторские права, то обязательно сообщите нам

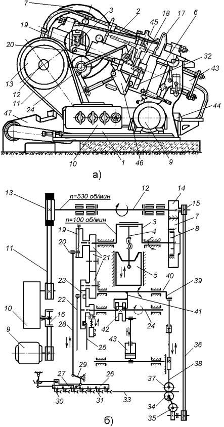
вала 3 через установленный на его второй консоли блок, состоящий из диска 19 с регулируемым кривошипом 20 и ведущей шестерни зубчатой передачи 21. В магазине 17 подаваемые полосы поочередно отделяет от стопы специальный магнитный распушитель, а затем они забираются вакуумными захватами, располагающимися на траверсе механизма 18, переносящей и укладывающей их в направляющие. Цикловые движения этой траверсы осуществляются от шатуна 22, сидящего на кривошипном пальце зубчатого колеса 23, установленного на консоли распределительного вала 24 и связанного с ведомой шестерней зубчатой передачи 21.

На второй же плоскости колеса 23 содержится кольцевая профильная канавка, в которой движется ролик второго шатуна 25, приводящего в движение поперечный досылатель, обеспечивающий перемещение уложенной полосы в направляющие механизма шаговой подачи, содержащего основную 26 и дополнительную 27 подвижные каретки, приводимые в действие с регулируемого кривошипа 20 через шатун 28 и двуплечий рычаг 29. Дополнительная каретка 27, несущая передающие собачки 30, располагается при этом в концевом пазу основной каретки 26, на которой в свою очередь с шагом подачи полосы установлены аналогичные толкающие собачки 31. При синхронных возвратно-поступательных движениях этих кареток в направляющих стола механизма подачи их собачки поочередно толкают полосу на шаг по направлению к штампу 32 и проскальзывают по полосе при обратном движении. Основную каретку всегда настраивают так, чтобы шаг рабочих собачек был равен шагу высечек в полосе. Регулировкой же хода и положения дополнительной каретки можно переналаживать пресс на изготовление корпусов другого диаметра без изменения положения магазина.

Отход отштампованной полосы 33 удаляется из пресса двухвалковым механизмом, нижний валок 34 которого располагается за штампом на уровне движения полосы и непрерывно вращается, получая движение через зубчатую 35 и клиноременную 36 передачи от шкива 15, установленного на промежуточном валу 12. А верхний валок 37 этого механизма, при выполнении в полосе штампом последней высечки через шатун 38 прижимается к нижнему кривошипом 39 распределительного вала 40, периодически приводимого во вращательное движение рычагом 41, связанным с программным кулачком 42 распределительного вала 24.

Пресс-автомат содержит пневматический амортизатор 43 и индивидуальный компрессор с дополнительным ресивером 44, а также устройство для удаления изготовленных изделий, состоящее из пневмосбрасывателя 45, наклонного отводящего лотка 46 и ленточного магнитного транспортера 47, отделяющего поступающие корпуса от колец, образующихся при обрубке фланца, и подающего эти кольца в накопительный бункер, а цельноштампованные корпуса жестяных банок – на дальнейшую обработку.

Работает пресс-автомат следующим образом. Вначале стопу фигурных полос жести вручную укладывают в магазин 17 полосоподавателя, а затем пресс включают в работу. При этом в магазине верхняя полоса поочередно отделяется от стопы магнитным распушителем и забирается вакуумными

181

захватами, располагающимися на подвижной траверсе механизма 18, переносящей и укладывающей ее в направляющие.

Рис. 16.17. Пресс-автомат модели А1-СПХ: а) – общий вид; б) – схема кинематическая принципиальная.

После этого поперечный досылатель, получающий движение от шатуна 25, перемещает уложенную полосу в направляющие механизма шаговой

182

подачи, содержащего основную 26 и дополнительную 27 подвижные каретки. При цикловых синхронных возвратно-поступательных движениях этих кареток их собачки 30 и 31, поочередно упираясь в торец полосы, продвигают ее с заданным шагом через штамп 32. При этом на каждом шаге подачи ползун 5 пресса совершает рабочий ход, при котором в смыкающемся штампе 32 из фигурной полосы вырубаются круглые заготовки и из них вытягивается два корпуса банки с образованием рельефа дна, обрубкой фланца и оформлением радиуса отбортовки фланца. При подъеме же ползуна в исходное положение в раскрывающемся штампе полоса 33 снимается с его пуансонов, отштампованные корпуса выталкиваются штоком из матрицы, а кольцевые отходы жести поднимаются прижимом из нижней части на плоскость разъема штампа. Далее струей сжатого воздуха, подаваемой из сопла пневмосбрасывателя 45, изготовленные корпуса и кольцевые отходы сдуваются из раскрытого штампа в наклонный отводящий лоток 46 и по нему перемещаются на ленточный магнитный транспортер 47, который отделяет поступающие корпуса от колец, направляемых в накопительный бункер, и транспортирует их из пресса на приемную позицию или на дальнейшую обработку. После выполнения штампом в подаваемой полосе последней высечки верхний валок 37 двухвалкового механизма прижимает ее к постоянно вращающемуся нижнему валку 34 и со скоростью в 1,5 – 2 раза превышающей скорость подачи они выбрасывают отход полосы из штампа и пресса. Вслед проштампованной полосе механизмом 18 подается из магазина 17 в направляющие механизма шаговой подачи следующая полоса и автоматическая цикловая работа пресса продолжается.

Технологическое оборудование для изготовления цельноштампованных корпусов жестяных банок сегодня предлагают в различных исполнениях многие фирмы. Например, фирма «Судроник» (Швейцария) производит высокопроизводительные автоматизированные линии модели «UNIPRESS

320», (рис.16.18) обеспечивающие изготовление цельноштампованных корпусов непосредственно из листовой жести с производительностью 450 штук в минуту.

Рис. 16.18. Автоматизированная линия модели «UNIPRESS 320» фирмы «Судроник» (Швейцария): 1 – пресс вытяжной; 2 – пресс вырубной; 3 – листоподаватель; 4 – транспортирующие устройства.

В состав этой линии входят два пресс-автомата, в первом из которых производится трехрядная вытяжка корпусов в материале, а во втором – их

183

вырубка из листа и при необходимости дополнительная вытяжка корпуса, а также автоматический листоподаватель и связывающие их в линию транспортирующие устройства.

16.4. Изготовление концов (донышек и крышек) жестяных банок

Технологический процесс изготовления концов (донышек и крышек) жестяных банок включает в себя следующие основные операции:

резка листов жести на полосы;

штамповка концов;

подвивка на концах фланца;

заливка в их подвитый фланец уплотнительной прокладки и ее сушка.

16.4.1. Резка листов жести на полосы и штамповка концов

Для штамповки концов (донышек и крышек) листовая жесть обычно предварительно разрезается на полосы аналогичным образом и на том же технологическом оборудовании, как и при изготовлении цельнотянутых корпусов металлических банок.

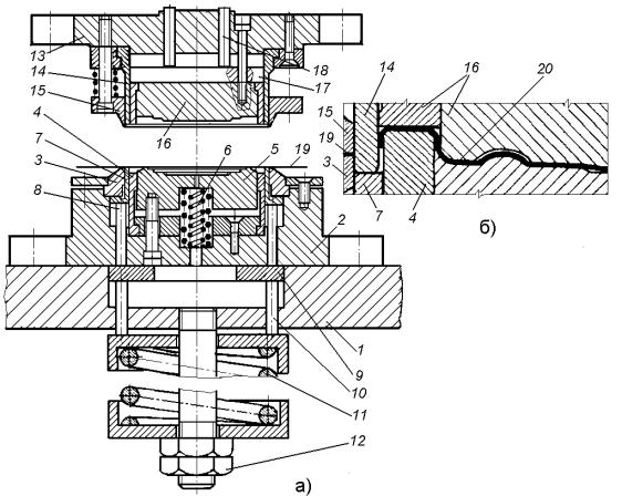
Штамповка концов производится за один ход ползуна пресса в комбинированном штампе, одно из конструктивных исполнений которого приведено на рис.16.19. Данный штамп состоит из двух сопрягающихся частей: нижней неподвижной, закрепляемой на подштамповой плите 1 (рис.16.19а), и верхней подвижной, прикрепляемой к ползуну пресса и совершающей вместе с ним цикловые возвратно-поступательные движения. На нижнем основании 2 штампа крепятся просечное кольцо 3, отбортовочное кольцо 4 и рельефная вставка 5, опирающаяся на блок пружин 6, а в отбортовочном кольце 4 располагается также протяжное кольцо 7, сидящее на толкателях 8, которые в свою очередь через опорную шайбу 9 и толкатели 10 опираются на пружину 11 буферного устройства 12 пресса. На плите же 13 верхней части штампа крепятся пуансон 14 со съемником 15, а также верхняя рельефная вставка 16, соединяющаяся через опорную пластину 17 с выталкивателями 18.

При работе полоса 19 подается на заданный шаг в открытый штамп и опускающимся ползуном пресса он смыкается. При этом съемник 15 прижимает полосу к торцу просечного кольца 3, а пуансон 14 высекает из нее круглую заготовку и прижимает ее к поднятому протяжному кольцу 7. Затем из краевого поля заготовки, огибающего торцевую часть отбортовочного кольца 4 (рис.16.19б), формируется фланец изготовляемого конца 20, а смыкающиеся вставки 5 и 16 на его плоскости выштамповывают рельефные кольца. При ходе же ползуна вверх и раскрытии штампа просеченная полоса 19 съемником 15 снимается с пуансона 14, а изготовленное изделие 20, находящееся в пуансоне, удаляется из него приподнятой рельефной вставкой 16, возвращаемой в нижнее исходное положение вместе с опорной пластиной 17 стопорящимися в конце хода выталкивателями 18. После удаления изготовленного изделия полоса 19 подается в штамп на следующий шаг и цикл повторяется.

Для сохранения целостности защитного покрытия на наружную поверхность полосы обычно наносят тонкий слой смазки. Целостность этого покрытия зависит также от величины зазора между деталями штампа,

184

формирующими на заготовке фланец изделия 20. Величина этого зазора обычно принимается равной полуторной толщине штампуемой жести.

Рис. 16.19. Штамп для изготовления концов

Для изготовления концов (донышек и крышек) металлических банок применяются специальные однокривошипные прессы простого действия, оснащенные устройствами автоматической подачи материала в штамп, а также удаления из пресса изделий и отходов, которые как по конструктивному исполнению, так и кинематической схеме во многом схожи с прессами для изготовления цельноштампованных корпусов, рассмотренными ранее в разделе

16.3.6.

Например, быстроходный пресс-автомат модели И9-СПГ,

предназначенный для однорядной штамповки из полосовой жести концов и подвивки на них фланца, состоит из литой двухстоечной открытой наклоненной станины 1 (рис.16.20), в которой располагаются однокривошипный простого действия пресс 2, магазин 3 со стопою полос, механизм 4 поштучного отделения полос от стопы и установки их в направляющие, механизм 5 шаговой подачи полос в штамп 6, закрепленный на наклонном столе 7, двухвалковый механизм удаления отхода полосы из штампа и механизмы, передающие движения от электродвигателя 8 всем исполнительным устройствам пресса. Пресс также оснащен приемным лотком 9, подвивочным устройством 10, выходной направляющей 11 и ленточным транспортером 12 со стопкособирателем.

При работе стопу однорядных фигурных полос вручную укладывают в магазин 3 пресса, а оттуда нижние из них поочередно забирают, отделяя с прогибом от стопы, вакуумные захваты механизма 4, а затем переносят и

185