Материал: [SHipinsky_V.G.]_Oborudovanie_i_osnastka_upakovoch2(z-lib.org)

Внимание! Если размещение файла нарушает Ваши авторские права, то обязательно сообщите нам

σср – сопротивление материала резанию, МПа;

qпрж – удельное давление прижатия материала, МПа.

Технологическое усилие разделительной операции можно существенно уменьшать за счет выполнения на пуансоне режущих кромок со скосами на величину tc (рис. 11.22).

Рис. 11.22. Схема штампа со скосами на пуансоне: 1 – пуансон; 2- прижим; 3 – матрица; 4 – упаковочное полотно; 5 – отделяемая упаковочная единица.

Экспериментально установлено, что при катете tc скоса соизмеримом с толщиной разделяемого материала δс, требуемое усилие Ртр разделительной операции составляет: Ртр = 0,6 · Рр. Если же tc > 2δс, то Ртр = 0,4 · Рр.

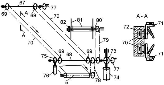
Транспортная система линии, состоящая из кинематически связанных с общим приводом (рис. 11.17) цепного транспортера 4 шагового перемещения упаковочного полотна, ленточного транспортера 5 вывода готовых упаковок из машины, а также устройства 14, обеспечивающего наматывание на вращающуюся катушку отходов упаковочного полотна 15. При этом транспортер 4 шагового перемещения упаковочного полотна содержит установленные на концах линии натяжной 67 и приводной 68 валы (рис.11.23) со звездочками 69, на которых натянуты две параллельные бесконечные пластинчатые цепи 70 с зажимами 71, движущиеся вдоль линии в профильных направляющих 72. Шаговое же движение транспортера осуществляется поворотом приводного вала 68 на полный оборот от обгонной муфты 73, связанной зубчатой передачей с выдвигаемой рейкой-штоком приводного пневмоцилиндра 74. При этом точное позиционирование вала осуществляется путем западания в выемку на диске 75 ролика, установленного на конце штока поджимающего пневмоцилиндра 76. Для ручного привода транспортера на конце валов 67 и 68 закреплены штурвалы 77. От приводного вала 68 движение передается также через цепную передачу 78 на приводной барабан ленточного транспортера 5, выводящего готовые упаковки из машины, и через цепную передачу 79 на вал 80 устройства 14, обеспечивающего наматывание отходов упаковочного полотна на вращающуюся катушку 81, связанную с валом 80 через фрикционную муфту 82. В начале цикла по команде системы управления пневмоцлиндр 76 втягивает шток и выводит ролик из выемки диска 75, расфиксируя тем самым вал 68. Далее срабатывает пневмоцилиндр 74 и от его выдвигающейся рейки-штока через зубчатое зацепление вместе с обгонной муфтой 73 на полный оборот проворачивается вал 68 со звездочками 69, синхронно протягивающими цепи 70 на заданный шаг вместе с закрепленным в их зажимах 71 термоформуемым полотном. Одновременно на шаг перемещается лента транспортера 5, выносящего готовые упаковки из машины,

66

и вращается катушка 81, наматывающая на себя отходы упаковочного полотна, освобождающегося из самораскрывающихся на звездочках зажимов 71.

Рис. 11.23. Кинематическая схема транспортной системы линии

Во время вращения вала 68 выдвигающимся штоком пневмоцилиндра 76 ролик поджимается к цилиндрической поверхности диска 75 и катится по ней, а

вконце проворота вала западает в выемку диска и с высокой точностью фиксирует перемещение транспортера на заданный шаг. Затем на всех позициях линии исполнительными устройствами выполняются соответствующие технологические операции. В это же время пневмоцилиндром 74 в исходное положение возвращается рейка-шток и находящийся с ней в зацеплении свободно вращающийся в обратную сторону корпус обгонной муфты 73 и далее цикл повторяется.

Данная линия может работать с производительностью от 15 до 30 циклов

вминуту в зависимости от толщины термоформуемого полотна и обеспечивает упаковывание пастообразной продукции в полимерную тару, формуемую на рулонном материале шириной до 400 мм и толщиной от 0,14 до 1 мм. В частности, в приведенном исполнении упаковывание осуществляется одновременно в пять формуемых в одном ряду полистирольных стаканов прямоугольной формы размерами 105 х 62 х 40 мм порциями по 0,25 кг с производительностью 20 циклов в минуту. Потребляемая мощность составляет 7 КВт. Габаритные размеры линии: длина – 3800 мм; ширина – 850 мм; высота

– 1700 мм. Масса линии – 1200 кг. Ее разработчиком и изготовителем является ОАО «Гомельский техноприбор» (Беларусь).

Формовочно-упаковочные автоматические линии изготовляются также в конструктивных исполнениях, обеспечивающих вакуумирование внутренней полости упаковки и, при необходимости, ее заполнение модифицированной газовой средой (МГС), благодаря чему существенно увеличиваются сроки хранения упаковываемой продукции. Для этого в блоке укупоривания тары (рис. 11.20) плоский контактный электронагреватель 53 размещается внутри герметизирующей камеры (не показана), сопрягающейся своим нижним торцом с термоформуемым полотном 27 и соединенной трубопроводом с вакуумным насосом и баллоном с МГС. В процессе укупоривания поднимающейся плитой

67

50 через охладитель 55 и импульсный нагреватель 54 полотно 27 прижимается по периметру к торцу этой камеры и герметизирует ее. Далее камера соединяется с вакуумным насосом, удаляющим из нее и тары воздух, а затем через открывающийся пневмоклапан ее рабочая полость и внутренняя полость упаковок заполняются из баллона МГС. В это же время опускающимся электронагревателем 53 покровная пленка 56 прижимается по контуру сварки к фланцам стаканов и в процессе совместного нагрева герметично приваривается (приклеивается) к ним контактирующей поверхностью. После этого баллон закрывается, герметизирующая камера заполняется атмосферным воздухом, все механизмы блока укупоривания тары возвращаются в исходное положение и цикл повторяется.

Такие формовочно-упаковочные автоматические линии производятся и поставляются во многие страны, например, фирмой «WEBOMATIC» (Германия).

Формовочно-упаковочные автоматические линии широко применяются и для упаковывания разнообразных малогабаритных штучных изделий (портмоне, зубных щеток, одноразовых шприцов, ампул, таблеток, карманных фонариков, ножей, фенов и т. д.) в так называемую блистер-упаковку. Блистерупаковка (англ. blister – прозрачный колпак, купол) состоит из сохраняющего форму термоформуемого полимерного футляра, повторяющего в общих чертах конфигурацию упаковываемых изделий, который после укладки в него продукции герметично укупоривается привариваемой (приклеиваемой) к отбортовке крышкой (платинкой), выполняемой из пленки, алюминиевой фольги с термолаковым покрытием, а также ламинированной бумаги или картона. В таких футлярах часто содержатся конструктивные элементы, повышающие их жесткость, а также обеспечивающие дополнительную фиксацию и амортизацию упакованных изделий.

Известными в мире поставщиками широкого модельного ряда формовочно-упаковочных линии, предназначенных для блистер-упаковки разнообразных изделий, являются, например, фирмы «BOSCH» и «MULTIVAC» (Германия). В Беларуси автоматические формовочноупаковочные линии, обеспечивающие многорядную блистер-упаковку одноразовых шприцев в комплекте с иглами, серийно выпускались РУП «Гомельский завод станочных узлов» (Беларусь) по конструкторской документации, разработанной Санкт-Петербургским НПО «Прогресс» (Россия). Термоформуемым материалом в этой блистер-упаковке является полиэтиленполиамидная рулонная пленка шириной 420 мм, а укупоривающие платинки выполняются из ламинированной полиэтиленовой пленкой рулонной бумаги.

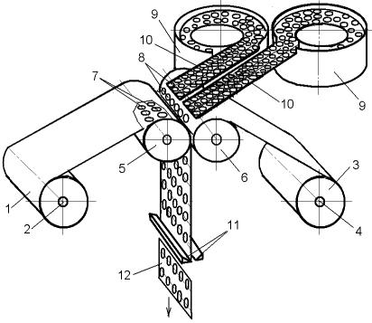
Для поштучного упаковывания таблеток, драже, капсул и других аналогичных изделий в групповую ячеистую блистер-упаковку созданы и широко применяются вертикальные роторные формовочно-упаковочные автоматы, работающие с двух рулонов. В этих автоматах рулон 1 (рис. 11.24) термоформуемого ленточного материала устанавливается на оправке 2 одного механизма размотки, а рулон 3 покровного ленточного материала – на оправке 4 второго механизма размотки. Далее ленты этих рулонов через систему роликов механизмов амортизации и натяжения ленты (не показаны) сводятся и

68

совместно подаются в роторное устройство, состоящее из пары сопрягающихся и синхронно вращающихся формующе-сваривающих валков 5 и 6.

Рис. 11.24. Функциональная схема роторного блистер-упаковочного автомата

На поверхности же этих валков, нагреваемых электрическим током до температуры термоформования и сваривания протягиваемых ими упаковочных лент, содержатся углубления (ячейки) 7, которые по форме и шагу адекватны расположению упаковываемых изделий в формируемой групповой ячеистой блистер-упаковке. В процессе работы автомата упаковываемые изделия (таблетки) 8 подаются из вибробункерных питателей 9 по направляющим лоткам 10 рядами и с заданным шагом между сходящимися на валках 5 и 6 лентами термоформуемого и покровного упаковочного материала в момент схождения в этой зоне ячеек 7 валков. Далее таблетки вместе с протягиваемыми лентами проходят между сопрягающимися поверхностями этих синхронно вращающихся валков, располагаясь при этом внутри их ячеек и создавая давление на разогретую до пластичного состояния от валка 5 термоформуемую ленту, обеспечивая тем самым ее вытяжку с формированием ячеек адекватной формы. Одновременно с этим вторым разогретым валком 6 покровная лента прижимается к контактирующей поверхности термоформуемой ленты и герметично соединяется с ней вокруг таблеток, активирующимся термоклеевым покрытием. После этого соединенные ленты вместе с упакованными таблетками выводятся из роторного устройства и, непрерывно перемещаясь между лезвиями периодически срабатывающих ножниц 11, разрезаются ими на отдельные групповые блистер-упаковки 12, содержащие в своих ячейках необходимое количество таблеток. Подобная функциональная схема реализована, например, в изготовляемых и поставляемых фирмой «NOACK» (Германия) вертикальных роторных формовочно-упаковочных автоматах модели «Stripmatic TN220».

Приведенные формовочно-упаковочные линии, роторные и другие высокопроизводительные автоматы характеризуются конструктивно сложным

69

исполнением и соответственно относительно высокой стоимостью. Поэтому они эффективны при упаковывании больших объемов продукции, производимой в условиях крупносерийного и массового производства.

В условиях мелкосерийного производства при упаковывании небольших объемов продукции в готовые полимерные стаканы, поставляемые специализированными предприятиями-изготовителями, для их герметичного укупоривания платинками можно, например, применять полуавтоматическое термоукупоривающее устройство модели АДНК 19У12, которое создано и серийно изготовляется ООО «ПРОФИТЭКС» (Россия). Данное устройство обеспечивает герметичное термоприклеивание к отбортовке стаканов, изготовляемых из полистирола, полипропилена и других термопластов, укупоривающих платинок, выполняемых из алюминиевой фольги или валкилида.

Рис. 11.25. Общий вид полуавтоматического термоукупоривающего устройства модели АДНК 19У12

На основании 1 (рис. 11.25) этого устройства вертикально крепится ось 2, несущая карусельный стол 3. В карусельном же столе, циклически поворачивающемся на 90о и фиксируемом при этом механизмом 4 сблокированным с кнопкой включения, содержится четыре симметрично расположенных отверстия, в которые вставляются повисающие на отбортовке укупориваемые стаканы 5. В свою очередь над карусельным столом соосно с укупорочной позицией к основанию устройства вертикально прикреплен пневмоцилиндр 6, рабочие полости которого через распределитель и блок подготовки воздуха 7 соединяются с питающей магистралью сжатого воздуха. На штоке же этого пневмоцилиндра через блок амортизирующих пружин сжатия 8 крепится контактный электронагреватель 9, соединяющийся кабелем 10 с пультом управления 11, содержащим на своей лицевой панели выключатель 12, лампочку 13 световой индикации наличия напряжения «Сеть», а также реле времени (таймер) 14 и регулятор 15, поддерживающий заданную температуру на контактном электронагревателе 9. К источнику питания в свою очередь пульт управления присоединяется сетевым кабелем 16.

В процессе работы наполненный стакан устанавливается оператором в отверстие первой позиции карусельного стола и накрывается сверху платикой.

70