Материал: МАШИНОВИКОРИСТАННЯ ТЕХНІКИ В ТВАРИННИЦТВІ ЧАСТИНА 2 ТДАТУ

Внимание! Если размещение файла нарушает Ваши авторские права, то обязательно сообщите нам

Лабораторна робота № 7 МОНТАЖ ТА ПУСКОНАЛАГОДЖЕННЯ

ВОДОПРОВІДНОГО ОБЛАДНАННЯ

Методичні вказівки до лабораторної роботи №7

МЕТА РОБОТИ - вивчити порядок, правила та послідовність монтажу і пусконалагодження обладнання для водопостачання, навчитись самостійно організовувати і проводити монтаж водопровідного обладнання.

1ВКАЗІВКИ З САМОПІДГОТОВКИ ДО РОБОТИ

1.1Завдання для самостійної підготовки (Додаток А)

Вивчити:

монтаж зовнішнього водопроводу;

загальні вимоги до монтажу водопровідних мереж та водонасосного обладнання;

монтаж системи водопостачання й напування.

Скласти звіт по роботі:

номер, найменування та мета роботи;

загальні вимоги до монтажу водопровідних мереж та водонасосного обладнання;

вимоги до монтажу зовнішнього водопроводу та системи водопостачання й напування.

1.2Питання для самопідготовки

1.2.1Загальні вимоги до монтажу водопровідних мереж та

водонасосного обладнання; 1.2.2 Вимоги до монтажу зовнішнього водопроводу та системи

водопостачання й напування.

1.3 Рекомендована література

1.Ревенко І.І. Монтаж і пусконалагодження фермської техніки./ І.І. Ревенко, М.В. Брагінець та ін. – К.: Кондор, 2004, – 399 с.

2.Зуев И.М. Монтаж, эксплуатация и ремонт машин в животноводстве. / И.М. Зуев, Э.П.Сорокин, А.В. Шпыро. - М.: Агропромиз-дат, 1988, - 447 с.

138

2 ВКАЗІВКИ ДО ВИКОНАННЯ РОБОТИ

2.1Програма робіт

Вивчити:

правила монтажу водонасосного обладнання;

порядок монтажу відцентрових насосів;

порядок монтажу заглибних насосів;

порядок монтажу автоматичної водопідйомної;

порядок монтажу водоструменевих установок.

Скласти звіт та захистити роботу.

2.2Оснащення робочого місця

2.2.1 Методичні вказівки 2.2.5 Наочні стенди, макети, технічна література.

2.3 Теоретичні відомості 2.3.1 Монтаж водонасосного обладнання

Водонасосне обладнання монтують у спеціальних приміщеннях (насосних станціях).

Приміщення насосної станції повинно бути світлим і утепленим. Для монтажу насосного обладнання арматури і трубопроводів використовують підйомні механізми: переносний триніг, таль, підвісну кран-балку. Насосне обладнання встановлюють на фундаментах. Розміри їх указують в технічних проектах. Для невеликих насосів типу К і В ширина і довжина фундаменту повинні бути більшими від опорних плит насосів на 0,20…0,25 м. Розчин бетону для фундаменту готують у такому співвідношенні: одна частина цементу, дві – річкового піску, чотири гравію або щебеню. Фундаментні болти виготовляють із сталі марки Ст.3 чи Ст.4 довжиною 0,3 – 0,4 м.

При монтажі насосів необхідно мати технічну листову гуму, азбестовий картон для прокладок, солідол УС для змащування підшипників, автотракторне мастило АК-15 для заповнення масляних ванн насосів, бакелитовий лак, олово, буру, мідний припій.

Перед монтажем перевіряють комплектність і технічний стан насосів та електродвигунів. Осьове биття вала на виході з кожуха насоса не повинно перевищувати 0,02 мм, а осьовий розбіг – 0,2…1 мм. Вал насоса повинен вільно обертатися від невеликого зусилля.

Змонтований насосний агрегат перевіряють на правильність напрямку обертання насоса, після чого протягом 3…4 годин обкатують вхолосту. При випробуванні під навантаженням насосний

139

агрегат повинен працювати без стуків, перегрівань підшипників й інших тертьових поверхонь.

Труби водопровідної сітки під’єднуються до насоса за допомогою фланців, між якими ставлять прокладки з гуми товщиною 3…4 мм. Перед монтажем засувок їх перевіряють на міцність. Диски засувок повинні підніматися до верхнього крайнього положення і опускатися без заїдань.

Перевіряють шліфовані поверхні ущільнювальних кілець, сальникову набивку, поверхню різьби змащують. Засувки випробовують під тиском води 400Н.

2.3.2 Монтаж відцентрових насосів типу К.

Насос з електродвигуном встановлюють на фундамент і з’єднують з арматурою, як показано на рисунку 1.

1 – всмоктувальна труба з клапаном; 2 – відцентровий насос; 3 – манометр; 4 – напірна труба із зворотним клапаном; 5 – вентиль; 6 – обвідна лінія; 7 – електродвигун.

Рисунок 1 – Схема монтажу консольного відцентрового насоса.

Правильність центрування валів насоса і двигуна перевіряють лінійкою та щупом.

140

Насос з’єднують всмоктувальною та нагнітальною трубами. Всмоктувальну трубу прокладають з поступовим підняттям до насоса без перегинів.

Щоб уникнути підсмоктування повітря, місця з’єднання труб ущільнюють. Діаметр всмоктувальної труби повинен бути на 5…1- мм більше від діаметра нагнітальної, щоб створити якнайменший опір.

Пустити в роботу відцентровий насос можливо лише після заповнення робочого колеса і всмоктувальної труби водою. Для цього необхідно впускний кінець всмоктувальної труби обладнати клапаном, який запобігає витіканню залитої води перед пуском насоса. Клапан обладнують сітчастим фільтром з діаметром отворів 10…12 мм і встановлюють на відстані не менше 0,5 м від дна джерела.

У нагнітальній трубі безпосередньо біля насоса встановлюють зворотній клапан і засувку. Зворотній клапан захищає насос від гідравлічних ударів, що виникають при зупинках насоса. Засувка необхідна для пуску насоса в роботу, регулювання подачі води, а також для відключення нагнітальної сітки під час ремонту.

Для заливання відцентрового насоса ділянку нагнітальної труби за зворотнім клапаном з’єднують обвідною трубою, на якій встановлюють заливний вентиль. На нагнітальному патрубку встановлюють манометр для контролювання роботи насоса. Перед пуском насос заливають водою до повного видалення повітря. Під час пуску засувку нагнітального трубопроводу закривають, відкривають кран манометра, вимикають електродвигун і плавно відкривають засувку.

2.3.3 Монтаж заглибних електронасосів.

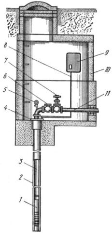
У бурові свердловини чи артезіанські колодязі монтують заглибні електронасоси (рис. 2).

141

1 – насос; 2 – свердловина (обсадна труба); 3 – водопідйомний трубопровід; 4 – опорна плита; 5 – манометр; 6 – зворотній клапан; 7 – засувка; 8 – кабель; 9 – станція керування; 10 – підземне приміщення; 11 – нагнітальна труба.

Рисунок 2 – Монтажна схема насосної станції із заглибним насосом, встановленим у буровій свердловині.

Перед установкою перевіряють технічний стан насоса і порівнюють діаметр насоса та свердловини. Насосний агрегат спускають разом з електричним кабелем так, щоб фільтр насоса розмістився на 5 … 7 м нижче динамічного рівня води, а нижня частина електродвигуна знаходилася на відстані 2 м від дна свердловини. Відстань між насосом і стінками свердловини повинна становити 4 … 5 см. Агрегат опускають за допомогою кранів або триног (рис. 3) в такій послідовності.

142