Порядок перевода скорости, выраженной в км/час, в скорость, выраженную в м/сек (шкалы 1 и 2):
— передвигая
движок, установить индекс
на
деление шкалы 1, соответствующее заданной
скорости в км/час
(рис.
21);

— отсчитать по шкале 1
против индекса
искомую скорость в
м/сек.
Примеры: 1) 725 км/час = 201 м/сек
2) 135 км/час = 37,5 м/сек.
Порядок перевода скорости, выраженной в м/сек, в скорость, выраженную в км/час:
— передвигая
движок, установить индекс
на деление шкалы 1,
соответствующее заданной скорости в
м/сек
(см.
рис. 21);
— отсчитать
по шкале 1 против индекса
искомую скорость в км/час.
Примеры: 1) 243 м/сек = 870 км/час
2) 27 м/сек = 97 км/час.
Порядок перевода морских и английских Миль в километры (шкалы 14 и 15):
— передвигая
движок, установить деление 100 или
на деление шкалы 15,
соответствующее заданному числу миль
(рис. 22);
— установить визирку на индекс ММ или AM;
— отсчитать на шкале 15 по визирке искомое число километров.
Примеры: 1) 123 мор. мили = 228 км
2) 123 анг. мили = 198 км.
Порядок перевода километров в морские и английские мили:
— установить визирку по шкале 15 на заданное число километров (см. рис. 22);

— передвигая движок, подвести под визирку индекс ММ или AM;
— отсчитать
на шкале 15
против деления 100 или
искомое число морских или английских
миль (соответственно).
Примеры: 1) 355 км — 192 мор. мили.
2) 308 км=\92 анг. мили.
Порядок
перевода
сохраняется таким же, как и при переводе
километров в мили и обратно. Только
индекс футы необходимо установить по
шкале 15
на число футов и против деления 100 или
шкалы 14
отсчитать число метров или деления 100
или
шкалы 14
установить на число метров, а против
индекса футы
отсчитать
число футов.
Примеры: 1) 680 фут. = 207 м.
2) 10300 фут. = 3130 м.
3) 12000 м = 39400 фут.
Задача решается по формулам:
и
![]()

Порядок решения (шкала 1 в интервале от 1 до 10 и шкала 2 в интервале от 10 до 100):
— передвигая движок, установить деление шкалы 2, соответствующие значению 180, против индекса π (рис. 23);
— при переводе угла в радианах в угол в градусах установить визирку по шкале 1 на деление, соответствующее углу в радианах, и считать по шкале 2 искомое значение угла в градусах;
— при переводе угла в градусах в угол в радианах установить визирку по шкале 2 наделение, соответствующее углу в градусах, и отсчитать по шкале 1 искомое значение угла в радианах.
Примеры: 1) 1,84 рад. = 105°; 0,15 рад. = 8°,6.
2) 33° = 0,575 рад. 263° = 4,6 рад.
Задача решается по формуле:
![]()
где W — путевая скорость в км/час (м/сек);
S — пройденное расстояние в км (м);
t — время полета в час., мин. (сек.).
Порядок решения (шкалы 1 и 2):
— установить визирку по шкале 1 на деление, соответствующее пройденному расстоянию S (рис. 24);

— передвигая движок, подвести под визирку деление шкалы 2, соответствующее времени полета t;
— отсчитать
по шкале 1
против индекса
,
искомую
путевую скорость W
в км/час;
Примеры: 1) Дано: S = 215 км; t = 16 мин. 30 сек. Находим: W = 780 км/час
2) Дано: S = 74 км; t = 7 мин. 40 сек. Находим: W = 580 км/час.
Задача решается по формуле:
S = Wt.
Порядок решения (шкалы 1 и 2):
— передвигая
движок, установить индекс
против
деления шкалы 1,
соответствующего путевой скорости в
км/час;
— установить риску визирки по шкале 2 на деление, соответствующее времени полета;
— отсчитать по визирке на шкале 1 искомое расстояние в км.
Примеры: 1) Дано: W =710 км/час; t = 7 мин. 15 сек. Находим: S = 86 км.
2) Дано: W = 1240 км/час; t = 8 мин. 35 сек. Находим: S = 177 км.
Примечание.
Если время полета измерено в секундах,
то против значения путевой скорости
необходимо устанавливать индекс
расстояние в этом случае будет выражено
в метрах.
Задача решается по формуле:
;
Порядок решения (шкалы 1 и 2):
— передвигая
движок, установить индекс
против
деления шкалы 1,
соответствующего путевой скорости;
— установить визирку по шкале 1 на деление, соответствующее пройденному расстоянию в км;
— на шкале 2 по визирке отсчитать искомое время полета.
Пример. Дано: S = 246 км; W = 590 км/час.
Находим: t = 25 мин.
Примечание.
Если пройденное расстояние замерено в
метрах, то против значения путевой
скорости необходимо устанавливать
индекс
время полета в этом случае будет выражено
в секундах.
Задача решается по формуле (рис. 25)
![]()
где Н — высота полета в м;
t — время пролета базы под углом 45° в сек.

Порядок решения (шкалы 1 и 2):
— установить риску визирки по шкале 1 на значение высоты в м (рис. 26);
— передвигая движок, подвести под риску значение времени пролета базы в сек.:

— отсчитать
на шкале 1
против индекса
искомое значение путевой скорости в
км/час.
Пример. Дано: Н = 5000 м; t = 23,5 сек.
Находим: W — 765 км/час.
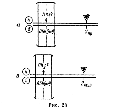
Задача решается по формуле (рис. 27):
![]()
где ЛБУ — линейное боковое уклонение в км;
S — пройденное или оставшееся расстояние в км.

Порядок решения (шкалы 4 и 5):
—передвигая
движок, установить индекс
против — деления шкалы 5,
соответствующего пройденному расстоянию
(рис, 2.8, а);
— установить визирку по шкале 5 на деление, соответствующее боковому уклонению в км;
—отсчитать по визирке на шкале 4 первую поправку в курс (для выхода параллельно линии заданного пути);
— передвигая движок, установить индекс против деления шкалы 5, соответствующего оставшемуся расстоянию (рис. 28, б);

— отсчитать по визирке на шкале 4 вторую поправку в курс;
— сложить первую и вторую поправки; сумма будет полной поправкой в курс.
Пример. Дано: Sпр = 65 км; ЛБУ = 8 км; SOCT = 90 км.]
Находим: ПK1 = 7°; ПК2 = 5°; ПКполн = 12°.
Примечание. Если известно боковое уклонение в градусах и не известно боковое уклонение в километрах, то задача определения дополнительной поправки в курс для выхода на цель или ППМ решается так же, как показано на рис. 28, с той лишь разницей, что вначале против визирки (рис. 28, а) читаем искомое значение не БУ°, а ЛБУ в км и по нему уже рассчитываем дополнительную поправку в курс, как показано на рис. 28, б.
Пример. Дано: Snp = 73 км; БУ° = ПК° = 10°, Soci = 125 км
Находим: ЛБУ = 13 км; ПКДОП = ПК2 = 6°;
ПКПОЛН = БУ° + ПКдоп = 16°.
Знак поправки в курс определяется отклонением самолета от линии пути; если самолет отклонился влево, то знак поправки плюс (+), если вправо, то знак поправки минус (—).
а) Пересчет приборной высоты до 12000 м
Задача решается по формуле (7).
Порядок решения (шкалы 7, 8 и 9):
— передвигая
движок, установить индекс
против значения суммы температур воздуха
у земли и на высоте полета t0
+ tН
(рис.
29);

Примечания: 1. Значение температуры воздуха на высоте полета, снятое с термометра, при всех расчетах высоты и скорости необходимо исправлять по шкале 16 на нагрев чувствительного элемента термометра и вычислять по формуле, помещенной справа шкалы 16
|
tИСПР.=tпр – Δt |
где tиспр — исправленное значение температуры;
tпр — значение температуры, снятое с термометра;
Δt — поправка в показание термометра, определенная по шкале 16.
2. В условии задач для определения высоты и скорости дано исправленное значение температуры. Кроме того, значения показаний приборов даны с учетом инструментальных и аэродинамических поправок приборов.
— установить визирку по шкале 9 на деление, соответствующее значению высоты по прибору Нпр;
— отсчитать по визирке на шкале 8 искомое значение исправленной высоты полета Ниспр.
Пример. Дано: Нпр = 7800 м; t0 = +22°; tnp = —30°. Находим: t0 + tH= + 22° — 30° = — 8°; Hиспр = 8000 м.
Примечание. Отсчет высоты по барометрическому высотомеру необходимо снимать при установке на высотомере давления, равного давлению у земли.
б) Пересчет приборной высоты больше 12000 м
Задача пересчета решается по формуле (9). Порядок решения (шкалы 10, 14 и 15):
—передвигая
движок, установить деление шкалы 10,
соответствующее значению температуры
на высоте, против индекса
(рис. 30);
— установить визирку на деление шкалы 15, соответствующее значению высоты по прибору Нпр (использовать внешнюю оцифровку шкалы — 12, 13 и т. д., которая соответствует высоте в тысячах метров);
— отсчитать по визирке искомую исправленную высоту Нпр.

Пример. Дано: Нпр = 15 500 м; tН = —70°; t0 = —10°.
Находим: Н'испр = 15 220 м;
Ниспр = Н'испр + ΔН = 15220 — 850 = 14370 м.
Примечания: 1. Отсчет показаний барометрического высотомера снимается при установке давления, равного 760 мм рт. ст.
2. Для более точного пересчета высоты больше 12000м рекомендуется к исправленному значению высоты, снятому со шкалы 14, прибавить со своим знаком поправку, которая определяется либо по формуле:
ΔН = 900 + 20 (t0 +tН),
либо (более точное значение этой поправки) по линейке на шкалах 7, 8, 9, как показано на рис. 31, и по формуле
ΔН = Ниспр — 11 000.
Для условий приведенного выше примера эта поправка, определенная по формуле, равна ΔН = 900 + 20(—10 —70)= —700 м, а определенная по линейке равна ΔН = 10150 — 11000 = —850 м.