части плиты удерживают фильтровальную ткань в горизонтальном положении. К плитам приварены патрубки, снабженные уплотнителями, которые при сжатии образуют с одной стороны коллектор для подачи суспензии, промывной жидкости и сжатого воздуха, а с другой – коллектор отвода фильтрата. Отжим осадка после фильтрования и промывки осуществляется подачей воды под давлением в резиновую диафрагму, установленную над нижней частью плиты. Для этого служит специальный коллектор, отводы которого соединяются с соответствующими патрубками плит резиновыми шлангами.
Преимущества ФПАКМ: развитая фильтрующая поверхность при незначительной занимаемой производственной площади; фильтрация осадка при оптимальной толщине слоя и возможность его гидравлического отжима; хорошая регенерация фильтровальной ткани; возможность полной автоматизации работы фильтра; низкая металлоемкость.
Главное преимущество перед рамными и камерными фильтрпрессами: незна-
чительные (1¸2 мин) затраты времени на раскрытие и закрытие плит, выгрузку осадка.
2.5 Технологические расчеты фильтров периодического действия
Цель расчетов: определить основной размер и число стандартных фильтров, обеспечивающие заданную производительность. Тип фильтра выбирается с учетом свойств суспензии и осадка, требований к чистоте фильтрата и влажности осадка, экономических соображений.
Основным определяемым параметром технологического расчета является средняя скорость фильтрования за цикл обработки суспензии (с учетом промывки и осушки осадка, вспомогательных операций):
wц = |
Vф |
= |
V |
= |
ho |
, |
|
F × Kп |
F ×tц × Kп |
xo × tц × Kп |
|||||
|
|
|
|
где Vф – заданная производительность фильтра по фильтрату,
Kп ~ 0.8 - коэффициент увеличения сопротивления фильтровальной перегородки при ее многократном использовании.
Если производительность фильтра задана по суспензии (Gс), то
|
|
|
|
|
|
|
|
|
Vф = |
Gc |
|
, |
||
|
|
|
|
|
|
|
|
|
rc ×(1 |
+ xo ) |
||||
|
|
|
|
|
|
|
|
|
|
|
||||
где r |
|
= |
|
rт ×rж |
|
|
|
|
– плотность суспензии, |
|||||
c |
rт - xм ×(rт |
- rж ) |
||||||||||||
|
|
|
|
|
|
|
||||||||
|
|
|
|
|
|
|
|
|||||||
xo |
= |
xм ×rж |
|
|
– отношение объема осадка к объему полученного фильт- |
|||||||||
rо × (1 |
-W - xм ) |
|||||||||||||
рата,
xм – массовая концентрация твердой фазы в суспензии (доли единицы); W – заданная массовая влажность осадка (доли единицы);
31
rт, rж, r |
|
= |
rт ×rж |
|
|
– плотность твердой и жидкой фазы суспензии, |
|||||
|
|
о |
|
rж +W |
×(rт |
- rж ) |
|
|
|
||
|
|
|
|
|
|
|
|||||
влажного осадка. |
|
|
|
|
|
|
|||||
Если же производительность задана по влажному осадку (Gо), то |
|||||||||||
|
|
|
|
|
|
|
Vф = |
Gо ×(1-W ) |
, |
||
|
|
|
|
|
|
|
|
||||
|
xм ×rж ×(1-W ) |
|
|
|
|
|
xт |
||||
где xт = |
|
– масса твердой фазы суспензии, остающейся на перего- |
|||||||||
(1-W - xм ) |
|||||||||||
родке после получения единицы объема (1 м3) фильтрата.
Методика определения средней скорости фильтрования wц зависит от режима фильтрования (при постоянном перепаде давления или постоянной скорости).
Фильтрование при постоянном перепаде давления. Выведем соотношения для
определения составляющих времени цикла tц работы фильтра. Из уравнения (2.1) получим:
|
m × x |
|
× r |
æ V ö |
2 |
m × R |
æ V ö |
|||||
t = |
2 |
|
o |
o ×ç |
|
÷ |
+ |
Dp |
п ×ç |
|
÷ . |
|
|
|
|
||||||||||
|
×Dp |
è |
F ø |
|
è |
F ø |
||||||
Учитывая, что V/F = hо/xо и что на практике обычно пользуются не объемным удельным сопротивлением осадка rо, а его средним массовым удельным сопротив-
лением rт (м/кг), которые связаны соотношением хо×rо = xт×rт, |
окончательно полу- |
|||||||||
чим: |
|
|
|
|
|
|
|
|
|
|
|
|
|
|
|
|
t = |
b1 ×ho |
×(ho + 2× xo ×vo ), |
(2.3) |
|
|
|
|
|
|
|
|||||
|
|
|
|
|
|
|
|
xo2 |
|
|
где b = |
m × xт × rт |
, |
v |
o |
= |
Rп |
. |
|
|
|
|
|
|
|
|
||||||
1 |
2 × Dp |
|
|
|
xт × rт |
|
|
|
||
|
|
|
|
|
|
|
|
|||
Формулу (2.3) можно использовать для расчета продолжительности фильтрования при известной толщине слоя осадка hо, например, для рамных и камерных фильтрпрессов, где толщина осадка всегда равна половине глубины рамы или камеры. В случаях, когда значение hо заранее не известно, определяется время фильтрования, соответствующее максимальной производительности фильтра, цикл работы которого включает промывку и осушку осадка:
|
b ×(t |
|
|
|
) |
|
|
æ |
|
|
|
|
|
|
|
|
|
ö |
|
||||||
|
c |
+ t |
в |
|
|
|
|
|
|
|
|
b1 + Nпр × xo |
|
|
|||||||||||
t = |
1 |
|
|
|
|
|
|
× |
ç |
+ 2 ×vo × |
|
|
|
|
|
|
|
÷ |
, |
||||||
|
|
|
|
|
|
ç1 |
|
|
|
|
|
|
|
÷ |
|||||||||||
b + N |
пр |
× x |
o |
|
|
|
t |
c |
+ t |
в |
|||||||||||||||
|
1 |
|
|
|
|
|
è |
|
|
|
|
|
|
|
|
|
ø |
|
|||||||
а затем – толщина слоя осадка, набираемого за это время: |
|
|
|
|
|||||||||||||||||||||
|
|
|
|
|
|
|
|
|
|
|
æ |
|
|
|
|
|
|
|
|
|
ö |
|
|
|
|
|
h |
|
|
|
= x |
|
|
|
|
v |
2 |
+ t |
b - v |
|
|
|
|
|
|||||||
|
опт |
o |
×ç |
|
o |
|
÷ . |
|
|
|
|
||||||||||||||
|
|
|
|
|
|
è |
|
|
|
1 |
|
o ø |
|
|
|
|
|||||||||
На практике проведение фильтрования в режиме максимальной производительности не всегда возможно, т.к. значение hопт, может не отвечать условиям съема осадка или конструктивным возможностям фильтра. Например, в листовых фильтрах рас-
32
стояние между листами с набранным осадком должно быть не менее 20 мм, а во
ФПАКМах максимально допустимая толщина осадка hmax должна быть на 5¸7 мм меньше расстояния между раздвинутыми плитами. Поэтому в случаях hопт > hmax
значение t определяют по формуле (2.3), где вместо ho используется hmax. Для промывки осадка из основного уравнения имеем:
t |
пр |
= |
Vпр ×mпр |
×(r ×h |
o |
+ R |
п |
). |
|
||||||||
|
|
|
o |
|
|
|||
|
|
|
F × Dpпр |
|
|
|
|
|
Заменяя в этом соотношении rо на xт×rт / хо и введя понятие объема промывной жид-
кости на 1 кг влажного осадка vпр = |
Vпр |
, получим: |
|
||||
F × ho ×ro |
|
||||||
|
|
|
|
|
|
|
|
|
tпр = |
Nпр ×ho |
×(ho + xo ×vo ), |
(2.4) |
|||
|
|
|
|||||
|
|
xo |
|
|
|
||
где Nпр = |
vпр ×ro × xт × rт ×mпр |
. |
|
|
|
||
|
|
|
|
||||
|
Dpпр |
|
|
|
|||
Время осушки осадка tс определяется экспериментально. В расчетах его обычно принимают равным 1¸3 мин. Время вспомогательных операций tв определяется нормативами в зависимости от конструкции фильтра и его размеров.
Фильтрование при постоянной скорости. В этом случае перепад давления на фильтре непрерывно растет. Максимально допустимое значение перепада давле-
ния Dpд определяется либо свойствами осадка, либо конструкцией фильтра. Величина скорости фильтрования в данном случае определяется производи-
тельностью используемого насоса. Режиму оптимальной производительности для цикла, включающего промывку и осушку осадка, соответствует скорость фильтро-
вания |
wопт = |
|
|
Dpд × |
2 ×b1 + Nпр × xo |
|
|
|
|
. |
||
|
|
|
|
|
|
|
|
|
||||
m × (Rп × 2 |
×b1 + Nпр × xo + xт × rт |
× tc + tв ) |
||||||||||
|
|
|
||||||||||
Предельная толщина осадка, которую можно получить при максимально допустимом перепаде давления Dрд и скорости фильтрования w = wопт равна
h1 = xo ×(Dpд - m × Rп × w), m × xт × rт × w
причем слой осадка такой толщины будет набран за время t1 = h1/(xо×w).
Если толщина слоя осадка hо не фиксирована, то фильтр работает только в режиме постоянной скорости:
-при h1 < hmax t = t1,
-в противном случае t = hmax/(xо×w).
При фиксированной толщине осадка (фильтр-пресс) и h1 ≥ hо фильтр работает только в режиме постоянной скорости:
t = hо/(xо×w).
33
Если же h1 < hо, в ситуации Dр = Dрд сработает предохранительный клапан, установленный на подводящем трубопроводе, часть суспензии по байпасу будет возвра-
щаться в напорную емкость и процесс пойдет при Dрд = const до получения осадка толщиной hо, т.е. время фильтрования будет складываться из t1 и времени получения осадка толщиной h2 = hо– h1 при постоянном перепаде давления
t |
2 |
= |
b1 ×h2 |
×[h |
2 |
+ 2 × x |
o |
×(v + v |
o |
)], |
|
||||||||||
|
|
xo2 |
|
1 |
|
|||||
|
|
|
|
|
|
|
|
|
||
где v1= h1/xо – удельный объем фильтрата, полученный в режиме постоянной скорости (учитывает сопротивление слоя осадка толщиной h1).
Время промывки осадка рассчитывается по формуле (2.4), причем для фильтрпрессов берется удвоенная толщина осадка, т.к. промывается сразу вся рама или камера.
2.6Конструкции и расчеты фильтров непрерывного действия
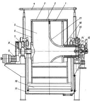
Кчислу наиболее распространенных фильтров непрерывного действия относятся барабанные, дисковые, ленточные. Самый распространенный -
барабанный ячейковый вакуум-фильтр с наруж-
|
ной фильтрующей поверх- |
|
ностью, см. рисунок 2.6, |
|
применяемый для разделе- |
|
ния суспензий, которые |
|
содержат не менее 5% |
|
твердой фазы при скорости |
|
ее осаждения не более 12 |
|
мм/с. Его рабочим органом |
|
является полый горизон- |
|
тально вращающийся ба- |
|
рабан, внутренняя цилинд- |
|
рическая поверхность ко- |
|
торого разделена на изоли- |
|
рованные друг от друга |
|
секции (ячейки). Снаружи |
Рисунок 2.6 Барабанный вакуум-фильтр |
ячейки закрыты перфори- |
1,3 – внутренняя (сплошная) и наружная (перфорированная) |
рованными листами и по- |
обечайка; 2 – ячейка; 4 – рама устройства промывки осадка; |
крыты фильтровальной |
5 – барабан; 6 – торцевая стенка;7,16 – цапфы; 8,15 – подшипники |
тканью, для закрепления |
скольжения; 9 – электродвигатель; 10 – качалка; 11 – корыто; |
которой в пазы между лис- |
12,13 – неподвижный и подвижный диски распределительной |
34 |
головки; 14,17 – дренажные трубки. |
тами и боковыми стенками укладывают резиновый шнур. Поверх ткани барабан
обвивают проволокой ( 1-3 мм).
Барабан опирается двумя цапфами на подшипники скольжения, смонтированные на раме фильтра. Левая цапфа оканчивается червячным колесом привода барабана, которое вращается электродвигателем через вариатор, клиноременную передачу и редуктор. Через правую цапфу пропущены дренажные трубки, соединяющие каждую ячейку барабана с одним отверстием в подвижном диске распределительной головки. Ее неподвижный диск имеет секторные окна, соответствующие вы-
|
полняемым опера- |
|
|
циям: окно фильт- |
|
|
рования, окно про- |
|
|
мывки и осушки |
|
|
осадка, соединенные |
|
|
с линией вакуума, и |
|
|
окно отдувки осадка, |
|
|
соединенное с лини- |
|
|
ей сжатого воздуха |
|
|
(в больших фильт- |
|
|
рах имеется также |
|
|
окно регенерации |
|
|
перегородки, соеди- |
|
|
ненное с линией |
|
|
сжатого воздуха или |
|
|
пара). При вращении |
|
|
барабана каждая |
|
|
ячейка последова- |
|
|
тельно проходит |
|
|
зоны фильтрования, |
|
|
первого обезвожи- |
|
|
вания, промывки |
|
Рисунок 2.7 Схема работы барабанного фильтра |
осадка, второго |
|
обезвоживания, от- |
||
I – фильтрование; II – первое обезвоживание; III – промывка; |
дувки и съема осад- |
|
IV – второе обезвоживание; V – отдувка и съем осадка; |
ка, регенерации тка- |
|
VI – регенерация ткани; |
ни, см. рисунок 2.7. |
|
1 – ячейка; 2 – дренажная трубка; 3 – ролик; 4 – форсунка; 5 – ткань для |
Диски распре- |
|
промывки осадка; 6,7,10 – отвод промывной жидкости, подвод сжатого |
делительной головки |
|
воздуха и пара; 8,12 – неподвижный и подвижный диски распределительной |
прижаты друг к дру- |
|
головки; 9 – нож; 11 – качалка. |
||
гу пружиной и со- |
||
|
ставляют антифрикционную пару (сталь-чугун, сталь-бронза), перед установкой на фильтр их тщательно притирают.
В нижней части корыта, куда подается суспензия, помещается мешалка (качалка), получающая возвратно-поступательное движение от электродвигателя через
35