5 АППАРАТЫ ДЛЯ СУШКИ МАТЕРИАЛОВ
Сушка – это процесс удаления паров влаги, образующихся при подводе тепла к высушиваемым материалам (сыпучим, пастоообразным или жидким). Удаление влаги при сушке осуществляется в результате ее перемещения с поверхности и изнутри высушиваемого материала в окружающую среду. Интенсивность сушки зависит от способа подвода тепла к материалу, скорости перемещения влаги из глубины материала к его поверхности и способа отвода испаряющейся влаги. Большое влияние на скорость процесса оказывает форма связи влаги с материалом и его теплофизические свойства.
Связь влаги с материалом может быть механической, физико-химической и химической. Механически связанная влага заполняет макро- и микрокапилляры в объеме материала и удаляется наиболее легко. Самой прочной является механическая связь влаги с гигроскопичными материалами, для которых характерна развитая структура микрокапилляров. Физико-химическая связь может быть обусловлена адсорбцией воды материалом, а также осмотическими силами, которые удерживают влагу внутри структурного скелета материала. Химически связанная влага – это вода, вошедшая в состав материала в результате реакции гидратации, т.е. вода гидроокисей и соединений типа кристаллогидратов. Эта влага не удаляется при сушке (иногда удаляется прокаливанием).
Виды сушки, применяемые в химической промышленности, классифицируют по способу подвода тепла к высушиваемому материалу. Наиболее распространена конвективная сушка, когда тепло к поверхности материала передается непосредственно от сушильного агента (воздух, инертный газ, дымовые газы). При кондуктив- ной (контактной) сушке тепло материалу передается через перегородку, обогреваемую теплоносителем (водяной пар, ВОТ, расплавы солей и металлов). Гораздо реже конвективной и контактной применяется радиационная сушка (инфракрасными лучами) и сушка в поле токов высокой частоты (по принципу микроволновой печи). Температурный режим сушки, скорости относительного перемещения материала и сушильного агента необходимо подбирать так, чтобы процессы диффузии влаги к поверхности материала и ее удаления с поверхности находились в строгом соответствии, иначе возможно коробление поверхности материала и ухудшение его качества.
5.1 Основы кинетики сушки
Если материал находится в контакте с влажным воздухом, то принципиально возможны два процесса:
а) сушка (десорбция влаги из материала) – если парциальное давление пара над
поверхностью материала Рпм превышает его парциальное давление в окружающей
среде Рпс (Рпм > Рпс);
б) увлажнение (сорбция влаги материалом) – если Рпм < Рпс.
В процессе сушки величина Рпм уменьшается и приближается к пределу Рпм = Рпс. При этом наступает состояние динамического равновесия, которому соответствует предельное влагосодержание материала Uр, называемое равновесным.
81
Основным способом исследования процесса сушки является экспериментальное получение изотерм сорбции материалов, которые дают возможность установить связь между влагосодержанием материала и относительной влажностью воздуха, а также определить равновесное влагосодержание при сушке.
Скорость сушки характеризуется изменением влагосодержания высушиваемого материала в единицу времени:
N = − dUdτ ,
где U – влагосодержание материала (кг влаги/кг сухого),
t – продолжительность сушки. Средняя скорость сушки за весь ее период
N = mв , mc × t
где mв – масса испаренной влаги, mc – масса абсолютно сухого материала.
Рисунок 5.1. Кривая сушки
Различают два периода сушки:
1.Период постоянной скорости, когда влага испаряется со всей поверхности материала. В этом периоде скорость сушки определяется только интенсивностью массоотдачи с поверхности материала в окружающую среду.
2.Период падающей скорости, когда поверхность испарения влаги постепенно уменьшается и скорость все больше определяется интенсивностью перемещения влаги изнутри материала к его поверхности. В конце второго периода испарение влаги с поверхности материала может прекратиться совсем и переместиться в его
82
внутренние слои. В таких случаях второй период разделяют на две стадии: равномерно и неравномерно падающей скорости сушки.
В первом периоде сушки и на первой стадии второго из материала удаляется механически связанная влага, на второй стадии второго периода – адсорбционно и осмотически связанная. Двум основным периодам предшествует относительно короткий период прогрева материала до температуры сушки (АВ на рисунках 5.1, 5.2).
Кинетика сушки обычно изучается экспериментально – путем взвешивания образца высушиваемого материала через определенные промежутки времени и расчета его влагосодержания. По результатам эксперимента строят т.н. кривую сушки (рисунок 5.1), которая позволяет выделить периоды процесса и определить их продолжительности.
Рисунок 5.2 Кривая скорости сушки
Первый период (ВК1)– это изменение влагосодержания материала от начально-
го Uнач до критического Uкр. Температура материала θ в течение всего первого периода соответствует температуре мокрого термометра tм сушильного агента. Во втором периоде (К1С) температура материала повышается до конечной температуры сушильного агента t2, а влагосодержание падает до равновесного Uр и далее не меняется (CD). Если второй период состоит из двух стадий, то выделяется участок равномерно падающей скорости сушки (К1К2) и отмечается второе критическое влагосодержание U'кр. Путем графического дифференцирования кривой сушки, т.е. проведения касательной к ней и определения тангенса угла ее наклона к оси τ (угол α на рисунке 5.1), можно вычислить мгновенную скорость сушки и на основе результатов дифференцирования построить кривую скорости сушки (рисунок 5.2). С
83
помощью этой зависимости устанавливается целесообразное конечное влагосодержание высушиваемого материала.
Скорость сушки в первом периоде можно определить из уравнения массоотдачи mв = b× F × Dxср × t ,
где b - коэффициент массоотдачи от влажной поверхности к потоку сушильного агента (кг/м2/с),
F – поверхность испарения высушиваемого материала, |
|
|||||||||
|
Dxср |
= |
|
x2 - x1 |
– |
(5.1) |
||||
|
ln |
xнас - x1 |
||||||||
|
|
|
|
|
|
|||||
|
|
|
xнас - x2 |
|
|
|||||
|
|
|
|
|
|
|
||||
средняя движущая сила процесса сушки в пределах первого периода, |
|
|||||||||
х1, х2, хнас – влагосодержания сушильного агента на входе в аппарат, на выходе |
||||||||||
из него и вблизи от влажной поверхности (при температуре tм). |
|
|||||||||
Следовательно |
|
|
|
|
|
|
|
|||
N = |
mв |
|
= b× Dxср × |
F |
|
= b× Dxср × f , |
(5.2) |
|||
mc × t |
mc |
|||||||||
|
|
|
|
|
|
|||||
где f – удельная поверхность абсолютно сухого материала (м2/кг). |
|
|||||||||
Коэффициент массоотдачи b можно определить из критериального уравнения |
||||||||||
Nu' = B × Ren ×(Pr' )0.333 ×Gu0.135 . |
(5.3) |
|||||||||
В этом уравнении: Nu' = b×l/D – массообменный критерий Нуссельта, |
|
|||||||||
Re = w×l/n - критерий Рейнольдса, |
|
|||||||||
Pr' = n/D – диффузионный критерий Прандтля, |
|
|||||||||
Gu = (T1 – Tм)/T1 – критерий Гухмана.
Значения коэффициентов B и n зависят от значения критерия Рейнольдса, например при Re > 6000 B = 0.35, n = 0.65. В выражения для вычисления критериев входят следующие величины:
l – определяющий размер (длина поверхности испарения в направлении движения сушильного агента),
D – коэффициент диффузии паров воды в среде сушильного агента (м2/с), w – скорость движения сушильного агента,
n - его кинематическая вязкость,
Т1, Тм – абсолютные температуры сушильного агента на входе в сушилку и мокрого термометра.
По известному значению N может быть приблизительно найдена продолжи-
тельность сушки t = t1 + t2, где длительность первого периода |
|
|||||||
|
|
t = |
Uнач -Uкр |
, |
|
(5.4) |
||
|
|
1 |
|
N |
|
|||
а длительность второго |
|
|
|
|
||||
|
|
|
|
|
|
|
|
|
t2 |
= |
Uкр -Uр |
×ln |
Uкр -Uр |
. |
(5.5) |
||
|
|
|||||||
|
|
N |
|
|
Uк -Uр |
|
||
84
Формула (5.5) получена в результате решения дифференциального уравнения, характеризующего процесс изменения влагосодержания внутри частицы материала при следующих допущениях:
-частицы материала имеют форму шара;
-поры в частице и влага в них распределены равномерно;
-все сопротивление массопереносу сосредоточено внутри частицы, т.е. подводимая к ее поверхности влага отводится моментально.
Замечание: значения критического Uкр и равновесного Uр влагосодержания ма-
териала определяются экспериментально, с помощью кривой сушки и изотерм сорбции, а его конечное влагосодержание Uк определяется требованиями стандартов или технических условий на продукт. Обычно Uкр< Uк <Uр, причем соответствующая Uк скорость сушки не должна быть слишком низкой (проверяется по кривой скорости сушки).
5.2 Основные конструкции сушилок
Большинство промышленных сушилок (около 80%) реализуют конвективную сушку. Более 40% конвективных сушилок составляют барабанные сушилки, применяемые для сушки сыпучих материалов (солей, удобрений, химикатов) топочными газами или подогретым воздухом в условиях прямоточного или противоточного движения материала и теплоносителя. Эти сушилки отличает экономичность (допускается использование высокотемпературных агентов), значительная производи-
тельность и высокая надежность (работают по 6÷8 тыс. часов без капитального ремонта).
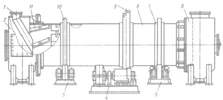
Рисунок 5.3 Схема барабанной сушилки
1 – загрузочный лоток; 2,6 – загрузочная и разгрузочная камеры; 3 – опорная рама; 4 – привод; 5 – опорно-упорная станция; 7 – кольцевая накладка; 8 – обечайка барабана; 9 – зубчатый венец; 10 – бандаж; 11 – приемно-винтовая насадка
85