Материал: borisenko

Внимание! Если размещение файла нарушает Ваши авторские права, то обязательно сообщите нам

- для термолабильных растворов среднее время пребывания жидкости в пленке

tср = Vж×rж/Gср не должно превышать предельно допустимого времени их упарива-

ния tдоп = 10Dh/p,

где Gср = (Gн + (1-У)×Gк)/2 - средний расход жидкости в стекающей пленке, Gн - расход жидкости с начальной концентрацией хн (Gн×хн = Gк×хк),

Vж=F×d - объем жидкости, находящейся на теплообменной поверхности аппарата F,

Dh - показатель опасности термического разложения жидкости, р - давление в аппарате,

d - средняя толщина стекающей пленки, определяемая значением критерия

Рейнольдса Reпл = 4∙Gсржж/П:

если Reпл £ 1200, то d = (0.75×Reпл×nж2/g)0.33, иначе d = 0.21× (nж2/g)0.33×Reпл0.533.

При выполнении теплового расчета кожухотрубчатый испаритель со стекающей пленкой рассматривается как аппарат идеального вытеснения с разграниченными зонами нагревания и испарения жидкости. Расчет теплопередающих поверхностей каждой зоны проводится раздельно, причем расчет зоны испарения дополняется определением значения теплового потока q, обеспечивающего теплообмен без

разрушения пленки пузырьками образующегося пара:

 

 

 

 

 

é

 

 

 

 

 

 

 

 

 

 

 

 

ù

2

 

 

 

a×rп × rи

 

 

 

 

Tкип

 

 

q < 2× ê27

×

 

 

 

+ 0.75×a×

 

 

ú

,

с

×r × Re0.55

l ×r × r

ë

 

 

 

 

 

û

 

 

 

 

ж ж

пл

 

 

 

 

ж п

 

 

ê

 

 

 

 

 

 

 

и ú

 

где сж, lж - удельная теплоемкость и теплопроводность жидкости, rп – плотность образующегося пара,

rи - удельная теплота парообразования,

Ткип- абсолютная температура кипения жидкости,

a - коэффициент теплоотдачи от стенки трубы к свободно стекающей пленке жидкости, который при Pr = 4¸300 практически не зависит от режима течения и может быть определен по формуле

 

l

 

é

æ

 

 

 

 

ù0.333

 

 

ж

 

1.35

+10−4

× Reпл0.7

ö

.

a =

 

 

× êg × ç

× Pr÷ú

 

0.666

Re

 

 

n

ж

 

ê

è

 

пл

 

 

ú

 

 

 

 

ë

 

 

 

øû

 

В последние годы получили распространение роторные пленочные испарители, в которых отсутствуют трубы, а пленка жидкости, стекающая по внутренней поверхности кожуха, подвергается механическому перемешиванию. Перемешивание пленки существенно интенсифициует как процесс теплообмена между жидкостью в пленке и стенкой аппарата, так и массообмена между жидкостью и газом. К достоинствам этих аппаратов можно также отнести повышение устойчивости пленки за счет создаваемой ротором центробежной силы и незначительное время пребывания жидкости в аппарате (важно для термолабильных веществ).

56

Рисунок 3.14 Испаритель роторный пленочный

Наиболее популярны аппараты с шарнирно закрепленными лопастями, (рисунок 3.14). Лопасти изготавливаются из коррозионно-стойких сталей, а их трущиеся кромки защищаются накладками из бронзы или фторопласта. При предварительном выборе такого аппарата учитываются следующие рекомендации:

- аппарат, используемый в качестве химического реактора должен иметь по-

 

æ t

p

×l × g ×V

ö0.67

верхность теплообмена

F > 0.12 ×ç

 

 

ж

÷

 

ç

 

 

nж

÷

 

è

 

 

ø

,

где tр - продолжительность реакции,

l = D/z, z- число лопастей в горизонтальном сечении аппарата;

- при обработке термолабильных растворов его теплообменная поверхность должна удовлетворять условию

ìï2.3× t1äî.33ï ×

ï

F £ miní

ï æ ï0.55×ççt3äîï î è

.

V 0.63 g0.45 × æ

n0æ.18

V 2 ö0

× g × æ ÷ næ ÷ø

К недостаткам роторных испарителей по сравнению с кожухотрубчатыми можно отнести малую поверхность теплообмена, усложнение и удорожание

конструкции. Отметим также трудности обеспечения одинаковых зазоров между лопастями и стенкой аппарата.

3.4 Другие конструкции теплообменников

Аппараты воздушного охлаждения находят применение в химической и нефтехимической промышленности в качестве холодильников-конденсаторов. Их преимущества перед аппаратами водяного охлаждения: отсутствует оборудование для подготовки и перекачки воды, снижается трудоемкость и стоимость ремонтных работ, не требуется специальной очистки наружной поверхности труб, облегчается регулирование процесса охлаждения.

57

Поверхность теплообмена горизонтального аппарата воздушного охлаждения, см. рисунок 3.15, образована наружной поверхностью оребренных труб, собранных в секции. Воздух, нагнетаемый вентилятором, омывая трубы, обеспечивает охлаждение или конденсацию проходящей по ним среды. При повышенной температуре окружающего воздуха автоматически включаются форсунки, распыливающие в потоке воздуха воду, при пониженной - отключается вентилятор. Интенсивность теп-

 

 

лоотдачи можно регулировать,

 

 

изменяя расход воздуха путем

 

 

поворота лопастей вентилятора

 

 

или установки поворотных жа-

 

 

люзийных заслонок над секция-

 

 

ми труб.

 

 

 

Теплообменники типа

 

 

"труба в трубе" используются

 

 

для нагревания или охлаждения в

 

 

системах жидкость-жид-кость,

 

 

когда расходы теплоносителей

 

 

невелики и они не меняют агре-

а)

б)

гатного состояния. При равных

теплообменных характеристиках

Рисунок 3.15

Горизонтальный аппарат

эти аппараты имеют меньшее

 

воздушного охлаждения

а) общий вид; б) варианты оребрения труб

гидравлическое сопротивление,

чем кожухотрубчатые, но менее

1 – секции труб, 2 – диффузор, 3 – вентилятор,

компактны и более металлоемки.

4 – литая труба, 5 – съемное оребрение.

 

 

 

Наиболее распро-

 

 

 

страненный теплооб-

 

 

 

менник "труба в трубе",

 

 

 

см. рисунок 3.16, состо-

 

 

 

ит из отдельных звеньев,

 

 

 

включающих наружную

 

 

 

(кожуховую) и внутрен-

 

 

 

нюю (теплообменную)

 

 

 

трубу. Соединяя внут-

 

 

 

ренние трубы коленами,

Рисунок 3.16

Теплообменник "труба в трубе"

а наружные - штуцера-

1 – кожуховая труба, 2 – теплообменная труба,

 

ми, звенья собирают в

3 – колено, 4 – штуцер, 5 – сальник.

 

вертикальные секции.

При разности температур теплоносителей более 70 оС и необходимости механической очистки межтрубного пространства применяют теплообменники с сальниками на наружных трубах.

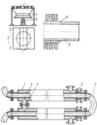
Оросительные теплообменники (рисунок 3.17) состоят из нескольких рядов труб, расположенных одна над другой и соединенных коленами. По наружной поверхности труб стекает вода, а внутри прокачивается охлаждаемая среда. Для распределения воды над верхними трубами устанавливаются трубчатые или желобко-

58

вые оросители. Расход воды в этих аппаратах меньше, чем в теплообменниках других типов, т.к. тепло от жидкости в трубах отводится не только за счет нагрева орошающей воды, но и частичного ее испарения. Оросительные теплообменники малоэффективны, но просты в изготовлении и ремонте. Чаще всего они устанавливаются вне зданий и используются для охлаждения агрессивных сред (серной кислоты).

Рисунок 3.18 Блочный теплообменник

1 – каналы в графитовых бло- ках; 2 – корпус; 3,4,8,9 – штуцер; 5 – переливная камера;

6,7 – стяжка; 10 – фланец.

Рисунок 3.17 Оросительный теплообменник

1 – ороситель, 2 – трубы, 3 – колено, 4 – поддон.

Основным материалом для изготовле-

ния блочных теплообменников является графит, пропитанный фенолформальдегидной смолой. Эти аппараты собираются из отдельных блоков, имеющих сквозные горизонтальные и вертикальные каналы круглого сечения (рисунок 3.18). Боковые переливные камеры соединяют горизонтальные каналы различных блоков. Соединения блоков уплотняются прокладками из фторопласта.

Блочные графитовые теплообменники весьма эффективны, т.к. графит стоек к воздействию агрессивных сред (кислот, щелочей, органиче ских растворителей), а по теплопроводности

в 4÷6 раз превосходит коррозионно-стойкую сталь. Недостаток - невысокая прочность (хрупкость).

В спиральных теплообменниках по-

верхность теплообмена образована двумя стальными лентами толщиной 3÷6 мм и ши-

59

риной 400÷1250 мм, свернутыми в спираль. Внутренние концы лент приварены к глухой перегородке, а наружные – друг к другу. С торцов аппарат закрыт плоскими крышками, установленными на прокладках (рисунок 3.19). В результате образуются

 

два изолированных друг от друга спиральных ка-

 

нала толщиной 2-8 мм, в которые направляются

 

теплоосители (обычно противоточно).

 

Стандартные спиральные теплообменники

 

имеют поверхность теплообмена 10÷100 м2, при-

 

меняются при давлениях до 1 МПа и температу-

 

рах 20÷200 оС в качестве нагревателей и охлади-

 

телей жидкостей и газов, конденсаторов паров.

 

Благодаря простоте изготовления, компактности,

 

малому гидравлическому сопротивлению, воз-

 

можности работы с загрязненными жидкостями

 

доля этих теплообменников в химической и

 

смежных отраслях промышленности в последние

 

годы увеличивается.

 

Те же достоинства характерны и для пла-

 

стинчатых теплообменников, популярность

Рисунок 3.19 Спиральный

которых в последнее время также растет. Кроме

того, они отличаются высокой интенсивностью

теплообменник

теплообмена, удобством монтажа, высоким коэф-

 

 

фициентом унификации. Пла-

 

 

стинчатый теплообменник (ри-

 

 

сунок 3.20) состоит из ряда

 

 

пластин, размещенных на гори-

 

 

зонтальных штангах между

 

 

неподвижной и нажимной пли-

 

 

тами.

 

 

Пластины штампуют из

 

 

листовой стали толщиной 0.7÷1

 

 

мм. Они имеют четыре проход-

 

 

ных отвестия, образующих бла-

 

 

годаря конструкции разделяю-

Рисунок 3.20 Пластинчатый теплообменник

щих их резиновых прокладок

а) схема движения теплоносителей; б) пластина

две изолированные системы

 

 

каналов. Для увеличения по-

верхности теплообмена и турбулизации потока теплоносителя поверхность пластин выполняют гофрированной или ребристой. С учетом свойств резиновых прокладок температура теплоносителей ограничивается 150 оС, давление не должно превышать 1 МПа.

60