Материал: 2432

Внимание! Если размещение файла нарушает Ваши авторские права, то обязательно сообщите нам

Тема: Изучение приемов и команд простановки размеров. Линейные, параллельные, угловые, базовые, ординатные размеры

Лабораторная работа: Простановка размеров в Auto CAD

1. Цель – освоить команды по созданию линейных, параллельных, угловых,

базовых, ординатных размеров.

 

 

С

 

 

2. Задание: начертить объекты, приведенные в исходных данных. Поставить

для них размеры, указанные в задании.

 

3. Исходные данные

 

 

и

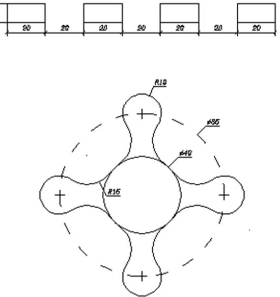
Вариант 1

 

б

 

А

 

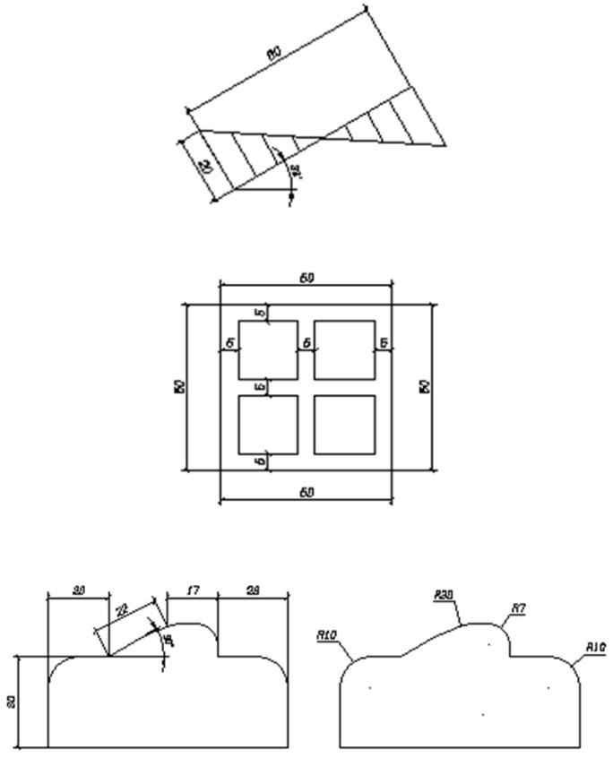
Вариант 2

 

 

Д

 

Вариант 3

И

 

 

Вариант 4

21

Вариант 5

Вариант 6

Си б А

ВариантД7 И

22

Вариант 8

и

 

С

Вариант 9

б

А

 

Д

 

Вариант 10

 

И

23

4. Теоретические положения

Чертеж детали неприемлем без нанесенных на него размеров. Размеры должны полностью определять величину изделия. Их должно быть достаточное количество, но лишних размеров наносить также не нужно.

Размеры на чертеже могут быть линейные, угловые, радиальные. А так же советую почитать статью «Три типа размеров в AutoCAD» Линейные размеры определяют длину, ширину, высоту изделия и указываются в миллиметрах без

обозначен я ед н цы змерения. Угловые размеры измеряются

в

градусах,

нанесении

 

 

 

минутах, секундах с обозначением единицы измерения. Радиальные размеры

Суказывают дл ну рад усов

ли диаметров дуг и кругов. Размер состоит из:

 

Выносных л н й,

проведенных перпендикулярно

отрезку,

которые

измеряется. Выносные л нии угловых размеров проводят радиально, а при

размера дуги — перпендикулярно ее хорде или радиально .

 

 

Размерных л н й, проведенных параллельно отрезку, размер которого

определяется на расстоянии не менее 10 мм от контура детали. Концы размерных

линий ограничиваютсябстрелками насечками или точками. Выносные линии

выходят за размерные на 1 — 5 мм. При нанесении нескольких параллельных

размерных линий ближе к контуру наносится меньший

размер.

Размерными

 

Д

 

 

линиями угловых размеровАявляются дуги с центром в вершине угла или дуги.

Размерных чисел, которые указывают величину изделия.

 

 

 

В зависимости от изделия и ориентации выносных линий размеры могут быть

 

И

горизонтальными, вертикальными, параллельными, повернутыми, ординатными. Можно проставлять размеры от общей базы и образовывать размерные цепочки.

24

Проставление размеров рассмотрим на примере линейного.

1.Начертите объект или откройте чертеж, в котором нужно проставить размеры.

2.Перейдите на вкладке ленты «Аннотации» в панель «Размеры» и нажмите кнопку «Размер» (линейный).

С

 

 

и

 

б

 

3. Щелкн те в начальной и конечной точке измеряемого расстояния. После

А

этого щелкните еще раз, что ы установить расстояние от объекта до размерной

линии. Вы начертили самый простой размер.

 

Параллельный размер

 

 

Д

С помощью команды DIMALIGNED создается размер, параллельныйизмеряемой

линии объекта; это позволяет выровнять размерную линию по объекту. Размер создается

 

 

И

подобно горизонтальному, вертикальному и повернутому, при этом размерная линия

расположена параллельно

прямой, проходящей через размерные точки. Команда

вызывается из падающего

меню Dimension > Aligned или щелчком на пиктограмме

Aligned на панели инструментов Dimension.

 

Запросы команды DIMALIGNED:

Specify first extension line origin or <select object>: – указать начало первой выносной линии

Specify second extension line origin: – указать начало второй выносной линии Specify dimension line location or [Mtext/Text/Angle]: – указать положение

размерной линии

Dimension text = измеренное значение

25