Материал: 2432

Внимание! Если размещение файла нарушает Ваши авторские права, то обязательно сообщите нам

РАЗДЕЛ 3. МОДЕЛИРОВАНИЕ В ПРОСТРАНСТВЕ Тема: Разработкапространственноймоделитиповогоузламеталлическойфермы

Лабораторная работа: Разработка пространственной модели типового узла металлической фермы

С

 

1.

Цель – познакомиться с пространственными моделями узлов

металлических ферм. Научиться чертить их.

2.

Задан е: начерт ть пространственную модель узла металлической

и

 

конструкц в соответств с исходными данными.

3.

Исходные данные

 

 

 

Вариант 1.

 

б

 

А

 

 

Д

 

 

И

121

Вариант 2.

С

 

и

 

Вариант 3.

 

б

 

А

Д

Вариант 4.

И

 

122

Вариант 5.

С

Вариант 6.

 

и

 

 

б

 

А

 

Вариант 7.

 

 

Д

 

Вариант 8.

И

 

 

123

Вариант 9.

СибАДИ4. Теорет ческ е положенияВариант 10.

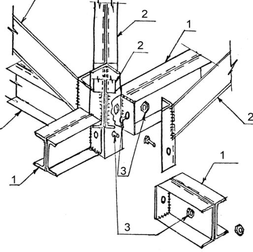
Изображения узлов приводят в чертежах марки КМ, если надо показать сложные соединения элементов конструкций (рис. 12.6.15), например:

башмаки колонн и стоек и расположение анкерных болтов;места перемены сечения ступенчатых колонн;детали опирания подкрановых балок на колонны;

укрупнительные и монтажные стыки колонн, стоек, балок, ферм;детали соединения стропильных и подстропильных балок и ферм с

колоннами и между собой.

На изображениях деталей соединений наносят соответствующие назначению узла привязочные размеры (до оси элемента, до координационных осей отметок уровня); усилия, используемые для расчета крепления элементов при разработке деталировочных чертежей, если эти усилия не приведены в таблицах; толщины фасок на ответственных узлах, типы и размеры сварных швов; тип, диаметр и число болтов, расположение и диаметр отверстий и т.п.

124

С

 

 

ли

 

б

 

На зображен ях узлов приводят только те размеры и данные, которые не

указаны на схемах

чертежах отдельных элементов.

 

Обозначен е узлов дают на чертежах видов конструкций.

 

 

А

 

Маркировку деталей узлов делают сквозной по всем листам. Если в

конструкции применяют типовые детали соединений, их на чертеже не изображают,

а делают только ссылку на соответствующую марку.

 

 

Д

 

Контрольные вопросы к лабораторной работе №26-27

1.

На чертежах какой марки приводят изображения узлов металлических

конструкций?

 

2.

В каких случаях приводят чертежи узлов металлических конструкций?

3.

Какие размеры приводят на изображениях деталей соединений?

4.

Для чего используются размеры, приведенные на чертежах узлов?

5.

Для чего используются усилия, указанные на чертежах узлов?

6.

Какие размеры и данные наносят на чертежах узловИ?

7.

Где обозначаются узлы конструкций?

8.

По какому правилу делаются марки конструкций?

9.

Можно ли обозначать узлы цифрами?

10. Можно ли обозначать узлы одновременно цифрами и буквами?

125