Материал: 2432

Внимание! Если размещение файла нарушает Ваши авторские права, то обязательно сообщите нам

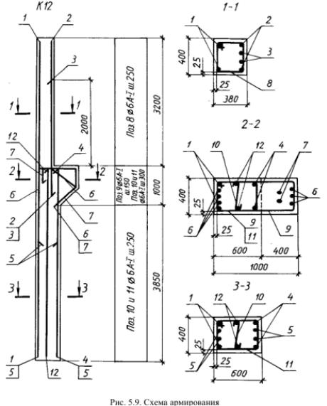
Профиль основания колонны (ниже нулевой отметки) показан в виде выносного элемента 2. Допускается не делать отдельные чертежи на простые детали а все необходимые данные приводить на чертеже или, при большом их количестве, в ведомости деталей, которая рассматривается вместе со спецификацией монолитной железобетонной конструкцией. Размеры и пример заполнения ведомости деталей см. в приложении 1.

Расположение арматуры показывают на схеме армирования. Схему армирован я выполняют, обычно, в одной проекции (вид сверху для плит

монолитной

 

перекрыт й, фундаментов

вид спереди для остальных конструкций). В наиболее

Схарактерных местах выполняют сечения, которые располагают вблизи

соответствующей секущей плоскости. Сечения нумеруют арабскими цифрами.

хемы арм рован я зо ражают в предположении прозрачности бетона. На них

показывают: контуры

 

конструкции или элемента сборной конструкции

(сплошной тонкой л н ей), га аритные размеры и размеры, определяющие

проектное расположение арматурных изделий; арматурные изделия в соответствии с

ГОСТ 21.501-93б( рис. 4.1); закладные изделия; толщину защитного слоя бетона;

арматурные стержни изо ражают сплошной основной толстой линией.

Предварительно напрягаемые арматурные стержни выделяют более толстой линией

 

 

Д

толщиной 1,5 s. СтерженьАв сечении показывают точкой, предварительно

напрягаемый -точкой большего диаметра. На схемах армирования, как правило,

показывают сокращённые выноски позиций стержней (указывают только номер

 

 

И

стержня). Полные выноски, на которых под полкой линии-выноски ставят число стержней, их диаметр и класс арматурной стали, приводят на сечениях элементов.

Элементы железобетонных конструкций армируют не только отдельными стержнями, но и арматурными сетками (марка С) и каркасами плоскими (марка КР) и пространственными (марка КП).

111

Каркасы и сетки на схемах армирования изображают контуром, проведённым через концы стержней и упрощенно – с нанесением поперечных стержней по концам каркаса и в местах изменения шага стержней.

На рис. 5.9 приведена схема армирования колонны К 12, на которой сокращёнными выносками с номерами позиций обозначены все рабочие арматурные Сстержни. Нижняя часть колонны и консоль значительно усилены рабочей арматурой, поскольку помимо продольного сжатия от перекрытия, на консоль и

колонну действует дополн тельная нагрузка, вызывающая продольный изгиб.

и б А Д И

Хомуты на схемах армирования колонн не изображают, а рядом помещают шкалу, на которой указывают номера позиций, диаметр хомутов и класс стали, а также шаг хомутов –расстояние в миллиметрах между ними.

112

Например, на шкале после номера позиции 8 проставлены диаметр круглой стали Ø 6, класс арматуры А1 –горячекатаная гладкая и шаг -250, на участке консоли шаг хомутов -150 мм.

Контрольные вопросы к лабораторной работе №24

1. Что такое сборочные чертежи железобетонных конструкций?

2. Какие изображения включают в себя сборочные чертежи железобетонных конструкций?

3. В как х масштабах вычерчивают сборочные чертежи железобетонных

конструкц й?

 

каналообразователи

С4. В как х масштабах вычерчивают чертежи узлов железобетонных

конструкц й?

 

конструкций? сборочные

5.

На как х

ражениях показывают геометрическую форму конструкции,

изображают меющ еся в ней отверстия, проёмы, закладные детали, пробки,

 

 

. п.?

6.

Что такое

чертежи железобетонных конструкций?

7.

 

А

Какие изображения приводятся на сборочных чертежах железобетонных

8.

На каких чертежах показывают расположение арматуры в железобетонных

конструкциях?

Д

9.

 

Что такое схема армирования железобетонной конструкции?

10. Перечислите основные виды арматурных изделий.

 

Тема: Разработка чертежа кладки из легкобетонных камней

 

 

И

Лабораторная работа: Разработка чертежа кладки из легкобетонных камней

1.Цель – познакомиться с видами легкобетонных камней, с типами кладки из них, правилами выполнения чертежей кладки из легкобетонных камней.

2.Задание: начертить фрагмент кладки из легкобетонных камней в соответствии с исходными данными.

113

3. Исходные данные

Вариант 1

СибАДИВариант 2 Вариант 3

114

Вариант 4

С

 

и

 

Вариант 5

б

 

А

 

Вариант 6

 

Д

 

И

115