Материал: 2410

Внимание! Если размещение файла нарушает Ваши авторские права, то обязательно сообщите нам

чина данного давления зависит от формы камеры сгорания (КС) и способа смесеобразования – пленочного, объемно-пленочного и объемного [15]. У штифтовых распылителей и разделенных КС двигателя (предкамера или вихревая камеры) величина Рфо лежит в пределах 12–15 МПа (120 –150 атм). У неразделенных камер сгорания с объемным способом смесеобразования давление Рфо достигает величины 18 –30 МПа. Для каждого типа двигателя величина Рфо указана в руководстве по регулировке форсунок, зависит от диаметра иглы и способа смесеобразования. Топливные факелы, выходящие из распылителя, должны быть направлены в полость КС. Если факел направлен не в КС, а в стенку цилиндра, то процесс смесеобразования распыленного топлива с воздухом будет нарушен. Расход топлива и токсичность выхлопных газов увеличится.

 

 

 

 

И

 

 

 

Д

 

 

А

 

 

б

 

 

и

 

 

 

С

 

 

 

 

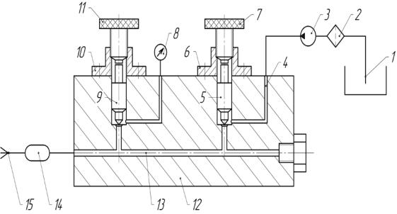
Рис. 4.2. Общий вид стенда КИ–3333 для регулировки форсунок

Стенд КИ-3333 (контрольно-испытательный) позволяет дополнительно контролировать мелкость распыливания (визуально) и углы в плане и шатре сопловых (распыливающих) отверстий. Углы в плане (вид сверху) можно определить по пятну контакта центра топливного

71

факела и прозрачной стенки цилиндра камеры впрыска. Углы в шатре представляют собой расположение сопловых отверстий относительно оси распылителя (вид спереди и сбоку). Применение распылителей с равным числом сопловых отверстий, но с другими углами в шатре и плане не допускается.

Гидравлическая схема стенда приведена на рис. 4.3. Из бака 1 через фильтр 2 топливо поступает в пространство над плунжером насосной секции 3. При помощи рычага плунжер движется вверх и, сжимая топливо, создает давление. При открытых кранах 5 и 6 клапанной коробки 4 топливо поступает к манометру 7, аккумулятору 8 и форсунке 9. При создании давления, при котором открывается игла форсунки, происходит впрыск распыленного топлива в прозрачную камеру. При необходимости регулируют форсунку, контролируя давление манометром 7. Для удаления паров топлива в бак 1 служит вентилятор 10, который приводится во вращение от турбины 11. Турбина вращается потоком воздуха, поступающего из сети от компрессора.

Для вращения вентилятора возможно применение электродвигателя.

 

 

 

 

И

 

 

 

Д

 

 

А

 

 

б

 

 

и

 

 

 

С

 

 

 

 

Рис. 4.3. Гидравлическая схема стенда КИ–3333:

1 – корпус стенда с баком для топлива; 2 – фильтр; 3 – насосная секция; 4 – клапанная коробка; 5, 6 – краны для сообщения с аккумулятором и манометром; 7 – манометр; 8 – аккумулятор; 9 – форсунка; 10 – вентилятор для

удаления паров топлива; 11 – воздушная турбина; 12 – кран подвода сжатого воздуха

72

При ремонте стенда или снижении уровня топлива в баке 1 в полость насоса 3 может поступить воздух и работа стенда прекращается. Для удаления воздуха необходимо ослабить винт, расположенный в корпусе насоса 3, и прокачать систему.

Испытывать форсунки и регулировать их следует в соответствии с технологией испытания и техническими условиями заводовизготовителей. Регулировку форсунок на давление Рфо осуществляют при помощи прокладок различной толщины или винтом, изменяя усилие пружины.

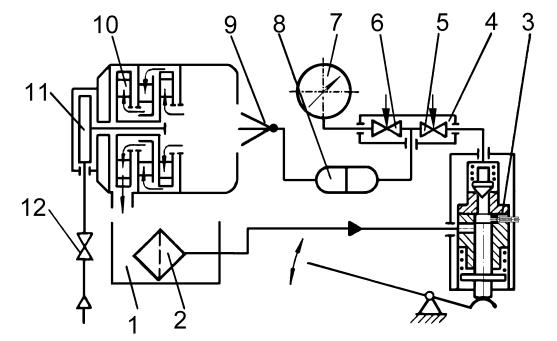
Конструкция серийного стенда имеет недостаток, заключающийся в том, что топливо поступает к форсунке при открытой игле крана 5. Игла крана 5 представляет собой конический запорный ор-

ган, выполненный из иглы форсунки (рис. 4.4).

 

 

 

 

И

 

 

 

Д

 

 

А

 

 

б

 

 

и

 

 

 

С

 

 

 

 

Рис. 4.4. Гидравлическая схема серийного стенда КИ-3333: 1 – топливный бак; 2 – фильтр тонкой очистки; 3 – насос высокого давления с ручным приводом;

4 – подводящий канал; 5, 9 – иглы запорные; 6, 10 – втулки с резьбой; 7, 11 – винты с головкой; 8 – манометр; 12 – корпус клапанной коробки; 13 – центральный

канал; 14 – аккумулятор; 15 – форсунка

В процессе эксплуатации зазор между иглой 5 и корпусом 12 увеличивается, что приводит к росту утечек топлива и загрязнению стенда. Кроме того, форсунку 15, прошедшую диагностику и регули-

73

ровку, демонтируют со стенда под избыточным давлением. Это приводит к разбрызгиванию топлива и ухудшает условия труда техника.

Для устранения указанных недостатков гидравлическая схема стенда КИ – 3333 была изменена [16]. В центральном соединительном канале 13 клапанной коробки 12 удалили технологическую проб- ку-заглушку, а вместо нее установили штуцер, к которому подсоединили трубопровод от насоса высокого давления 3. Подвод топлива от насоса осуществлен в центральный канал клапанной головки и соединен с аккумулятором 14 и форсункой 15 (рис. 4.5).

 

 

 

И

 

б

Д

 

 

и

 

 

Рис. 4.5. Модерн зированнаяАгидравлическая схема

С

 

стенда КИ-3333 М

Процесс регул ровки форсунок на давление начала открытия иглы происходит при закрытом клапане (игле) 5. При открытии клапана давление в системе снижается до величины атмосферного, сжатое топливо удаляется в топливный бак 1 через канал 4. Раньше этот канал служил для подвода топлива от насоса 3. Сжатое топливо не утекает через зазор в паре «игла-корпус», так как давление создается в системе при закрытой игле 5 крана.

Одной из причин неудовлетворительной работы форсунки является течь топлива из посадочного конуса иглы. Это приводит к увеличению расхода топлива, токсичности выхлопных газов. В выхлопных газах увеличивается содержание несгоревших углеводородов (топлива) и твёрдых частиц (сажи). Ниже приводится описание стенда и методика восстановления герметичности посадочного конуса распылителя форсунки.

74

4.2. Стенд и методика восстановления герметичности посадочного конуса иглы форсунки распылителя

В процессе длительной эксплуатации топливной аппаратуры дизеля посадочные поверхности конуса иглы и корпуса распылителя форсунки изнашиваются, что способствует плохому распыливанию и даже течи (просачиванию) топлива из распылителя. Распылитель форсунки может «лить», увеличивая расход топлива и токсичность отработавших газов.

На рис. 4.6 (вид 1) показан посадочный конус нового распылителя с кольцевым уплотнением шириной примерно 0,5 – 1,0 мм и требуемой мелкостью распыливания топлива. При испытании на стенде КИ-3333 и хорошей подвижностью иглы она способна многократно подниматься и опускаться на седло (дробить). Поток топлива не дросселирует под конусом иглы, а рассекается на участки и поступает к сопловым отверстиям под высоким давлением, обеспечивая требуемую мелкость распыливания топлива. Топливо из распылителя

вытекает в виде тумана с характерным звуком. Игла форсунки со-

 

 

 

 

И

вершает колебательный процесс с частотой примерно 100 Гц.

 

 

 

Д

 

 

А

 

 

б

 

 

и

 

 

 

С

 

 

 

 

Рис. 4.6. Вид уплотнения посадочного конуса нового (1), изношенного (2) и восстановленного (3) распылителей

Ширина посадочного конуса и ее площадь зависят от напряжения смятия металла, из которого изготовлен распылитель. В процессе посадки иглы на неё действует сила от давления топлива и инерционные силы от подвижных масс форсунки (игла, штанга и 30% массы пружины). В момент посадки иглы на седло перепад давления топлива достигает 5 – 10 МПа. При малой площади в зоне контакта кону-

75