Материал: 2410

Внимание! Если размещение файла нарушает Ваши авторские права, то обязательно сообщите нам

Корпус датчика перемещения иглы 3 и штанга 4 выполнены из немагнитной стали Х18Н9Т. Рабочая катушка 10 изготовлена из провода ПЭЛ диаметром 0,13 мм с числом витков 35. Компенсационная катушка имеет те же параметры и размещается вне форсунки. Принцип работы датчика основан на изменении индуктивного сопротивления рабочей катушки в зависимости от зазора между торцом иглы и корпусом форсунки.

Вусловиях эксплуатации двигателя применение индуктивного датчика, расположенного между корпусом форсунки и распылителем, связано с определенными трудностями. В данной работе рассмотрена возможность записи хода иглы съемным датчиком давления, который устанавливается в линии отвода утечек топлива из форсунки [14].

Вмомент подъема иглы 1 (см. рис. 3.3) в полости корпуса форсунки 5, заполненной топливом, давление повышаетсяИ и может быть зафиксировано датчиком давления 8. Упругим элементом датчика является мембрана с наклеенным проволочнымДтензорезистором.

На рис. 3.4 приведены осциллограммы процесса впрыска топли-А

 

б

и

С

 

Рис. 3.4. Осциллограммы процесса впрыска топлива

На представленных осциллограммах показаны отметка времени 1 (равная 0,001 с.), давление топлива в штуцере насоса 2, ход нагнетательного клапана 3, давление в замкнутом объеме форсунки 4 (полос-

66

ти пружины), ход иглы 5, давление перед сопловыми отверстиями 6. Сравнение осциллограмм изменения давления в замкнутом объеме форсунки 4 и хода иглы 5 показывает их идентичность [14].

Таким образом, закономерность движения иглы распылителя форсунки можно определить при помощи датчика низкого давления, установленного в дренажную магистраль. На рис. 3.4 при помощи комбинированного датчика записаны осциллограммы изменения давления в штуцере насоса (2) и движение нагнетательного клапана (3).

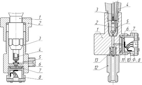
Определять движение иглы 1 возможно также индуктивным выносным датчиком 10 (рис. 3.5), корпус которого изготовлен из немагнитной стали.

 

 

 

 

И

 

 

 

Д

 

 

А

 

 

б

 

 

и

 

 

 

С

 

 

 

 

Рис. 3.5. Форсунка с индуктивными датчиками перемещения иглы: 1 – игла распылителя;

2 – корпус распылителя; 3 – датчик – «проставка»; 4 – штанга; 5 – корпус форсунки; 6 – пружина; 7 – шток;

8 – винт; 9 – катушки; 10 – датчик индуктивный; 11 – «проставка» с катушкой 12

67

В корпусе датчика расположены две катушки 9. К штанге 4 приварен шток 7, выполнен также из немагнитной стали. На конце штока 7 припаяна короткая стальная трубка, расположенная в середине катушек 9. При движении иглы 1 штанга 4 и шток 7 перемещаются, изменяя индуктивность катушек 9, что позволяет, применяя усиливающую и регистрирующую аппаратуру, фиксировать ход иглы.

На рис. 3.6 приведена конструкция датчика для определения давления перед сопловыми отверстиями (давления впрыска). В корпусе распылителя 4 выполняется центральное отверстие, которое соединено при помощи втулки 5 с полостью мембраны чувствительного элемента 8. На рис. 3.4 приведена осциллограмма (импульс 6), записанная данным датчиком.

Для распылителей со съемным сопловым наконечником (судо-

 

 

 

 

И

вые, тепловозные двигатели) предлагается датчик для записи давле-

ния впрыска, изображенный на рис. 3.7.

 

 

 

 

Д

 

 

А

 

 

б

 

 

и

 

 

 

С

 

 

 

 

Рис. 3 6. Датчик давления

Рис. 3.7. Датчик измерения давления под

впрыска топлива:

 

 

 

конусом иглы:

1 – форсунка; 2 – гайка; 3 – корпус 1 – корпус датчика; 2 – игла распылителя; датчика; 4 – корпус распылителя с 3 – штанга форсунки; 4 – корпус форсун-

центральным отверстием;

ки; 5 – корпус распылителя; 6 – мембрана;

5 – втулка; 6 – штуцер для слива

7 – разъем; 8 – стакан; 9 – компенсацион-

топлива; 7 – уплотнительная про-

ный тензоэлемент; 10 – рабочий тензо-

кладка; 8 – чувствительный

элемент; 11 – вытеснитель; 12 – штуцер

тензометрический элемент

прижимной; 13 – сопловый наконечник

68

Осциллограммы изменения давления и перемещения деталей ТА могут быть зафиксированы также с применением персонального компьютера.

В настоящее время в датчиках давления и перемещения применяются встроенные аналогово-цифровые преобразователи (АЦП), что упрощает процесс исследования и диагностирования ТА.

На рис. 3.8 показаны персональный компьютер, АЦП, датчик для измерения перемещения иглы («проставка»), комбинированный датчик давления и перемещения нагнетательного клапана, пьезоэлектрический датчик давления.

 

 

 

И

 

 

Д

 

А

 

б

 

 

Рис. 3.8. Измер тельная и регистрирующая аппаратура

и

 

 

 

Контрольные вопросы

1. Для какойСцели используют датчики давления и перемещения?

2.Каков принцип работы тензодачика, пьезодатчика для измерения пе-

ременного давления топлива и датчика индуктивного типа для измерения перемещений деталей (плунжера насоса, иглы распылителя) топливной аппаратуры?

3.Как определяют перемещение иглы распылителя форсунки датчиком давления?

4.Почему индуктивный датчик в виде «проставки», расположенный между корпусом распылителя и корпусом форсунки, наиболее точно фиксирует перемещение иглы распылителя?

5.Как устроен датчик для измерения давления топлива перед сопловыми отверстиями?

69

4. РЕГУЛИРОВАНИЕ ФОРСУНОК ДИЗЕЛЕЙ И ВОССТАНОВЛЕНИЕ РАСПЫЛИТЕЛЕЙ

Основным узлом форсунки является распылитель, от состояния которого зависит экономичность двигателя и токсичность отработавших газов. На рис. 4.1 показан общий вид форсунки двигателя Ярославского моторного завода. Распылитель имеет четыре сопловых отверстия 1 диаметром 0,25 – 0,35 мм, иглу 2 с диаметром направляющей 4,5 – 6,0 мм, корпус 3. Игла прижимается к корпусу при помощи усилия пружины 8, через опорную шайбу 7 и шток 6 (штангу). Усилие пружины 8 регулируется винтом 9. В современных форсунках шток 6 удален, добавлена «проставка», расположенная между корпусом форсунки 5 и корпусом распылителя 3, а усилие пружины регулируется прокладками различной толщины.

 

 

 

Д

 

 

 

 

 

ИРис. 4.1. Форсунка:

 

б

 

1

– сопловые отверстия;

 

 

А

2

– игла;

 

 

3 – корпус распылителя;

и

4

– гайка распылителя;

5 – корпус; 6 – шток;

С

 

 

 

7

– опорная шайба;

 

 

 

8

– пружина;

 

 

 

 

 

 

 

 

9 – регулировочный винт;

 

 

 

 

10

– контргайка;

 

 

 

 

11

– колпак;

 

 

 

 

12

– сетчатый фильтр;

 

 

 

 

13

– уплотнитель;

 

 

 

 

14

– штуцер;

 

 

 

 

15

– канал

4.1. Устройство стенда КИ-3333 для регулировки форсунок на давление начала открытия иглы и его модернизация

На рис. 4.2 показан общий вид стенда КИ–3333 для регулировки давления начала впрыскивания Рфо распылителей форсунок. Вели-

70