Материал: 2410

Внимание! Если размещение файла нарушает Ваши авторские права, то обязательно сообщите нам

 

И

Рис. 2.7. Зависимость давления топлива в конце посадке иглы

на седло Ркп от частоты вращения вала насоса

Д

Из представленных графиков следует, что при изменении nн от

850 до 1300 мин-1 Ркп > Рг, что препятствует прорыву газов в полость

А

от 850 до 600 мин-1 Рг > Ркп,

распылителя. Однако при зменении nн

что может способствоватьСибпрорыву газов в полость распылителя и способствовать нагарообразованию [8]. Следует отметить, что даже при отсутствии условий для прорыва газов в полость распылителя он будет закоксовываться, но с меньшей скоростью, если сопловые отверстия имеют высокую температуру (больше 250 °С) и малую энергию впрыскивания (давление и скорость).

Топливная аппаратура газодизеля с µf = 0,19 мм2, диаметром иглы 6 мм при подаче малой запальной порции топлива (10 –16 мм3) создает низкое давление перед сопловыми отверстиями (примерно 22 МПа). Для обеспечения более высоких давлений впрыскивания рекомендуется увеличить запальную порцию топлива до 20 – 25 мм3 с переходом на распылители с меньшим диаметром направляющей части иглы.

61

Контрольные вопросы и задания

1.Поясните основные причины образования коксовых отложений в полости распылителя и в каналах сопловых отверстий форсунок с гидромеханическим управлением.

2.Укажите главные причины прорыва цилиндровых газов в полость распылителя форсунки.

3.Какие частицы металлов могут содержать в себе прорывающие газы из цилиндра двигателя в полость распылителя?

4.Каким образом влияет уменьшение диаметра иглы форсунки на величину давления открытия иглы и прорыв газов из цилиндра двигателя в полость распылителя?

5.Почему при снижении давления открытия иглы форсунки ниже допустимого увеличивается температура распылителя?

6.Почему при увеличении хода иглы распылителя повышается температура его носика? И

7.Почему нельзя в эксплуатации допускать снижение давления начала

открытия иглы менее чем на 30% от нормативного значения, установленного заводом-изготовителем? Д

8.Укажите главные причины закоксовывания сопловых отверстий распылителей газодизеля, работающегоАс воспламенением газа от запальной порции дизельного топлива.

9.Основные способы устранения кокса в сопловых отверстиях распылителей форсунок дизелей? би

С

62

3.ДАТЧИКИ ДЛЯ ИССЛЕДОВАНИЯ

ИДИАГНОСТИРОВАНИЯ ПРОЦЕССА ВПРЫСКА ТОПЛИВА В ДИЗЕЛЯХ

Топливная аппаратура (ТА) с механическим или электронным управлением является одной из основных систем дизелей. Она в значительной степени предопределяет мощность двигателя, его экономические, экологические показатели, уровень шума, стабильность, надежность и долговечность.

Разработкой, модернизацией, эксплуатацией, диагностикой ТА занимается широкий круг инженерно-технических работников, для которых важно иметь определенную информацию о конструктивных особенностях, методах исследования, испытания и диагностирования.

На рис. 3.1 показана конструкция комбинированного датчика [10,11], позволяющая одновременно записывать изменение давления

в штуцере насоса высокого давления и ход нагнетательного клапана.

 

 

 

 

И

 

 

 

Д

 

 

А

 

 

б

 

 

и

 

 

 

С

 

 

 

 

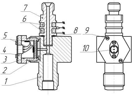
Рис. 3.1. Датчик комбинированный:

1 – корпус датчика; 2 – вытеснитель; 3 – стакан с упругим элементом; 4 – крышка; 5 – рабочий и компенсационный тензорезистор; 6 – катушки индуктивности; 7 – корпус датчика перемещения нагнетательного клапана; 8 – прокладка; 9 – винт; 10 – разъём

Корпус 1 является штуцером насоса. Размеры полости датчика должны соответствовать внутренним размерам штуцера. К нагнетательному клапану припаивается шток из немагнитной стали со сталь-

63

ным сердечником. При установке клапана в штуцер длина штока должна быть равна расстоянию до центра между катушками 6. Катушки выполнены из провода ПЭЛ диаметром 0,15 мм с числом ви т- ков 100 в каждой. Проходная площадь отверстия корпуса датчика 7 должна быть не менее площади сечения трубопровода. Корпус 7 выполнен из немагнитной стали Х18Н9Т.

Стакан 3 с упругим элементом (мембраной) изготовлен из стали

45ХНМФА. Мембрана имеет диаметр 20 мм с толщиной 1 3 мм в зависимости от величины измеряемого максимального давления. На мембрану наклеен рабочий тензорезистор (обычно на бумажной основе), а на неподвижную поверхность стакана 3 наклеен компенсационный тензорезистор. Соединение тензорезисторов выполняют по

«мостовой» схеме. При повышении давления в штуцере насоса мембрана прогибается, сопротивление рабочего тензорезистора изменяется. Нарушается баланс тока в ветвях «мостовой» схемы. При помощи усилителя (например, УТС1 ВТ-12/35) и осциллографа фиксируют изменение давления.

Индуктивный датчик может быть использованИи для записи хода иглы распылителя. К штанге форсунки припаивается шток из немаг-

нитной стали с металлическим АнаконечникомД, при движении которого изменяется магнитное поле катушек. С использованием усиливающей и регистрирующей аппаратуры определяется движение иглы.

Для исследован я процесса подачи топлива возможно использо-

вание пьезокварцевых датчиков [12]. На рис. 3.2 показана конструк-

 

б

 

ция пьезоэлектрического датч

ка давления.

и

Рис. 3.2. Датчик давления

С

 

 

пьезоэлектрический:

 

1

– корпус датчика;

 

2 – сильфон;

 

 

3

– стакан с измерительной

 

 

мембранной;

 

 

4

– изолятор;

 

 

5

– контакт;

 

 

6

– корпус модуля;

 

 

7 – контргайка;

 

 

8 – кварцевые пластины;

 

 

9

– медная пластина

 

 

с проводником;

 

 

10 – опорный диск

64

При повышении давления мембрана деформируется и через опорный диск 10 передает усилие на кварцевые пластины 8. Электрический заряд, создаваемый при деформации кварцевой пластины, передается от медной пластины с проводником на контакт 5 и поступает к усилителю.

Для исследования топливных систем и записи осциллограммы движения иглы рекомендуется индуктивный датчик в виде «простав-

ки» [13].

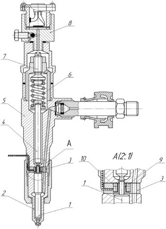
На рис. 3.3 приведен разрез форсунки дизеля с установкой индуктивного датчика 3, («проставка») при помощи которого записывается движение иглы и тензометрического датчика 8 для оценки изменения давления в полости форсунки при движении иглы.

 

 

 

 

И

 

 

 

Д

 

 

А

 

 

б

 

 

и

 

 

 

С

 

 

 

 

Рис. 3.3. Установка датчиков в форсунке для записи перемещения иглы и давления: 1 – игла распылителя; 2 – корпус распылителя; 3 – датчик перемещения иглы; 4 – штанга; 5 – корпус форсунки; 6 – пружина; 7 – винт; 8 – датчик давления; 9 – «проставка» с катушкой 10

65