Формулы (1.4 – 1.7) являются расчетными при определении геометрических параметров гидроцилиндров (диаметров поршня и штока), если заданы необходимые усилия на штоке, скорости движения
выходных звеньев. |
|
|
|
|
|
|
|
|
|
|
|
|
||||
|
При проектировании гидроцилиндров задаются отношением диа- |
|||||||||||||||
|
|
|
|
|
|
|
|
|
|
|
|
|
|
|
И |
|
метра штока к диаметру поршня равном ϕ = d / D = 0,3…0.7 (при дав- |
||||||||||||||||
лении в |
гидроприводе р < |
1,5 МПа |
|
рекомендуется принимать |
||||||||||||
ϕ = 0,3, при 1,5 МПа < р < 5,0 МПа – |
ϕ = 0,5, |
а при 5,0 МПа < р < 30 |
||||||||||||||
МПа – |
ϕ = 0,7). |
|
|
|
|
Д |
|
|||||||||
|
Толщины стенки, днища корпуса гидроцилиндра вычисляются по |
|||||||||||||||
формулам |
|
|
|
|
|
|
|
|
|
|
|
|
|
|||
|
|
|
|
|
|
|
δст ≥ |
|
pmax D |
; |
|
|
|
(1.8) |
||
|
|
|
|
|
|
|
|
|
|
|
||||||
|
|
|
|
|
|
|
|
|
2[σ |
] |
|
|
|
|
|
|
|
|
|
|
|
|
А |
|
|
|
|
||||||
|
|
|
|
|
|
|
|
|
||||||||
|
|
|
|
|
|
δдн |
≥ 0,433D |
|
pmax |
, |
|
(1.9) |
||||
|
|
|
|
|
|
|
|
|
||||||||
|
|
|
обрабатываются |
|
|
[σ] |
|
|
||||||||
где δст , |
δдн – толщины стенки, |
днища соответственно; pmax – макси- |
||||||||||||||
мальное давление в полостях гидроцилиндра; D – диаметр поршня; |
||||||||||||||||
[σ] – допускаемое напряжение растяжения материала корпуса. |
|
|||||||||||||||
|
изготовляются |
|
|
|
|
|
|
|
|
|
|
|
||||
|
Корпуса гидроцилиндров (гильзы) изготавливаются обычно из |
|||||||||||||||
стальных |
есшовных горячекатанных труб по ГОСТ 8732–78, сталей |
|||||||||||||||
35 |
45 |
ли лег рованных сталей 40ХН, 40Х, 30ХГСА и др. Внутрен- |
||||||||||||||
н е поверхности корпусов должны иметь шероховатость не более Rα = |
||||||||||||||||
ГОСТом |
|
|
по посадке Н8. Наружные поверхности |
|||||||||||||
0,1 |
мкм |
|
|
|
|
|||||||||||
штока |
|
поршня обрабатывают по посадке е8. Шероховатость по- |
||||||||||||||
верхности штока R α = 0,05 мкм, а поршня R α=0,40–0,80 мкм. Што- |
||||||||||||||||
ки |
|
|
|
|
стальных поковок 45, 40Х, 45Х, 30ХГСА, порш- |
|||||||||||
ни гидроцилиндров изготовляются из сталей 35, 45, 40Х и др. |
|
|||||||||||||||
|
Основные параметры поршневых гидроцилиндров регламентиру- |
|||||||||||||||
ются |
|
Том 6540–68 телескопических |
гидроцилиндров – |
|||||||||||||
|
|
|
16029–70, общие и технические требования к гидроцилинд- |
|||||||||||||
рам – |
|
|
16514–87. |
|
|
|
|
|
|
|
|
|
|
|
||
36
В гидроприводах строительных и дорожных машин широко применяются поршневые гидроцилиндры двустороннего действия, рассчитанные на номинальное давление 10,16, 25 и 32 МПа.
Для самоходных кранов применяются специальные гидроцилинд- |
|
ры на 16 МПа. Гидроцилиндры имеют много конструктивных испол- |
|
нений. |
И |
|
|
Основным требованием при выборе гидроцилиндра является |
|
обеспечение исполнительным органом машины необходимого усилия F и скорости движения V выходного звена. Выходным звеном может быть как шток, так и корпус (гильза) гидроцилиндра.
В зависимости от направления действия рабочей среды гидроцилиндры бывают одностороннего действия, у которых движение выходного звена под действием жидкости возможно только в одном направлении, и двустороннего действия, у которых движение выходного звена под действием жидкости возможно в двух взаимно противоположных направлениях.
Конструкция гидроцилиндра приведена на рис. 1.29. |
|
|
Д |
А |
|
б |
|
Р с. 1.29. Гидроцилиндр: |
|
С1 – проушина; 2 – ц л ндр; 3 – демпфер; 4 – гайка; 5,6, 11, 12 – уплотнения; 7 – поршень; 8 – упор; 9 – шток; 10 – передняя крышка; 13 – грязесъемник
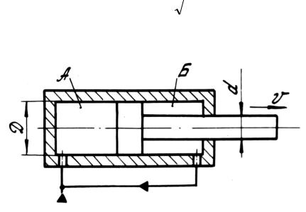
При подаче жидкости в поршневую полость и соединении штоковой полости с поршневой (рис. 1.30) получается дифференциальная схема включения гидроцилиндра. Жидкость, вытесненная из штоковой полости Б, перетекает в поршневую А, складываясь с потоком от насоса. При подаче жидкости в штоковую полость для создания дви-
37
жения в противоположном направлении поршневую полость следует соединить со сливом.
При дифференциальном включении поршня можно получить одинаковые скорости движения штока в обоих направлениях. Для этого
необходимо, чтобы |
|
|
|
|
|
|
|
И |
||
|
|
|
|
|
|
D |
|
|
|
|
|
|
|
|
d = |
2 |
|
||||
|
|
|
|
. |
(1.10) |
|||||
|
|
|
|
2 |
|
|||||
|
|
|
|
|
|
Д |
||||
|
|
|
|
А |
|
|||||
|
|
потребляемая |
|
|
|
|
|
|
||
|
|
Рис. 1.30. Дифференциальная схема включения |
||||||||
|
|
|
|
гидроцилиндра |
|
|||||
|
Полезная мощность гидроцилиндра определяется выражением |
|||||||||
|
и |
Nцп = |
FV , |
|
|
|
(1.11) |
|||
|
|
|
|
|
|
|
||||
где |
Nцп – полезная |
мощность, |
развиваемая |
гидроцилиндром, Вт; |
||||||
F – ус л е на штоке, Н; V – скорость движения штока, м/с. |
||||||||||
С |
|
|
гидроцилиндром, определяется пара- |
|||||||
|
Мощность, |
|
|
|||||||
метрами потока рабочей ж дкости по формуле |
|
|||||||||
|
|
|
|
Nц = ∆pцQц , |
(1.12) |
|||||
где |
Nц – мощность гидроцилиндра, Вт; ∆pц |
– перепад давления на |
||||||||
гидроцилиндре, Па; |
Qц – расход жидкости, м3/с. |
|||||||||
|
Потери мощности в гидромашинах оцениваются полным КПД. |
|||||||||
38
В общем виде полный КПД гидромашины определяется отношением мощности на выходе (полезной) к мощности на входе (потребляемой):
η = |
Nвых |
. |
(1.13) |
|
|||
|
Nвх |
И |
|
Подставляя в формулу (1.13) |
значения |
полезной мощности из |
|
формулы (1.11) и потребляемой мощности из формулы (1.12), получим значения КПД соответственно для гидроцилиндра.
Полный КПД гидромашины учитывает все потери мощности, которые возникают в гидромашине при движении рабочей жидкости. Существуют три вида таких потерь: гидравлические, механические и объемные. Гидравлические потери на преодоление путевых и гидравлических сопротивлений каналов, окон гидромашин могут быть учтены гидравлическим КПД ηг .
Механические потери, возникающие в результате действия сил |
|
трения в подвижных звеньях гидромашины (в подшипниках, шарни- |
|
рах, между поршнями и стенками гидроцилиндров и т.д.), учитыва- |
|
ются механическим КПД ηм . |
Д |
Объемные потери, связанные с утечками, перетечками и сжимае- |
|
мостью ра очей жидкости, учитываются объемным КПД ηоб .
о разом, полный КПД гидромашины представляет собой |
|||
|
|
А |
|
про зведен е трех частных КПД: |
|
||
|
|
η = ηгηмηоб , |
(1.14) |
|
б |
|
|
ли |
|
|
|
Таким |
η = ηгмηоб , |
|
|
|
|
||
С |
|
|
|
где ηгм – гидромеханический КПД, ηгм = ηгηм .
Полный КПД гидромашины зависит от ее конструкции и технического состояния.
39
|
|
|
Контрольные вопросы и задания |
|
|||
1. |
В чем заключается назначение гидроножниц? |
|
|
|
|||
2. |
Назовите основные параметры гидроножниц. |
|
|
|
|||
3. |
Из каких конструктивных элементов состоят гидроножницы? |
||||||
|
|
|
|
|
СИ |
||
4. В чем отличие гидроцилиндра от гидромотора? |
|
|
|||||
5. Что понимается под давлением? |
|
|
|
||||
6. |
В каких единицах измеряется давление в системе |
? |
|||||
7. Чему равна I техническая атмосфера в системе |
|
? |
|||||
8. Что такое поток жидкости? |
|
|
|
||||
9. |
Что такое объемный расход жидкости? |
|
|
|
|||
10. В чем заключается принцип действия гидроцилиндров? |
|||||||
11. |
Какие бывают гидродвигатели в зависимости от характера |
||||||
|
|
|
|
А |
|
|
|
движения выходного звена? |
|
|
|
||||
12. Из каких основных элементов состоит гидроцилиндр? |
|||||||
13. |
Назовите основные параметры гидроцилиндра. |
|
|||||
14. |
Как определяется полный КПД гидромашины? |
|
|||||
15. |
|
б |
|
? |
|
||
Какие потери учитывает гидравлический |
|
|
|||||
16. |
Какие потери учитывает о ъемныйКПД? |
||||||
17. |
Какие потери учитывает механический КПД? |
|
|
||||
|
и |
|
|
|
|
||
С |
|
|
|
|
|
||
40