Материал: 2320

Внимание! Если размещение файла нарушает Ваши авторские права, то обязательно сообщите нам

Гидроножницы легкой серии оснащаются механизмом свободного или гидравлического поворота, который позволяет эффективно выполнять работы в любых условиях.

 

 

 

 

 

А

И

 

 

 

 

 

 

 

 

 

 

 

б

 

 

 

 

 

 

 

Рис. 1.26. Гидравлические ножницыДлегкой серии Delta C-200

 

 

(l), мм ширина

 

 

 

 

 

 

 

 

 

Технические характеристики гидроножниц легкой серии Delta

 

 

приведены в та л. 13.

 

 

 

 

 

Таблица 13

 

 

Техн ческ е характер стики гидроножниц легкой серии Delta

 

 

Характер ст ка

Delta C-100

Delta C-

Delta C-

Delta C-

Delta MC-

 

 

 

 

 

 

 

200

300

500

500

 

 

 

 

 

 

 

 

 

 

 

 

 

 

Масса, кг

 

105

180

330

400

400

 

 

 

 

 

 

 

 

 

 

 

 

 

 

Макс мальная дл

(Н), мм

900

1105

1305

1425

1425

 

 

 

 

 

 

 

 

 

 

 

 

 

Макс мальная ш р на (L), мм

680

800

840

930

930

 

 

 

 

 

 

 

 

 

 

 

 

 

 

Максимальная

захвата

280

360

430

530

530

 

 

 

 

 

 

 

 

 

 

 

 

 

 

 

 

 

 

 

 

 

 

 

 

 

 

 

 

Разрушающее усилие (А), кН

200

220

280

320

320

 

 

 

 

 

 

 

 

 

 

 

 

 

Разрушающее усилие (В), кН

300

320

390

480

480

 

 

 

 

 

 

 

 

 

 

 

 

 

Режущее усилие (а), кН

580

620

840

990

990

 

 

 

 

 

 

 

 

 

 

 

 

 

Рабочее давление, бар

210

210

210

210

210

 

 

С

 

 

 

 

 

 

 

 

 

 

 

 

 

 

 

 

 

 

 

 

 

Масса экскаватора, т

 

0,5-1,2

1,5-3,5

2-5

4-6,5

4-6,5

 

 

 

 

 

 

 

 

 

 

 

 

31

Различные гидроножницы показаны на рис. 1.27.

 

 

 

 

И

 

 

 

Д

 

 

А

 

 

б

 

 

и

 

 

 

Р с. 1.27. Г дравл ческие ножницы различных типов

С

 

 

 

 

32

1.5. Расчет гидроцилиндров

Исходные данные для расчета гидроцилиндра

Гидродвигатель возвратнопоступательного движения

(гидроцилиндр)

И

 

Схема гидроцилиндра

Д

 

 

А

 

Усилие

 

 

би другие

 

 

Ном нальное давление pном , МПа

 

на штоке гидроцилиндра F, кН

Скорость движения штока V, м/с

 

Ход штока L , м

 

Гидравлические цилиндры (силовые гидроцилиндры) предназна-

Счены для преобразования энергии движущейся жидкости в механиче-

скую энергию поступательного движения выходного звена.

33

Гидравлические цилиндры (гидроцилиндры) – это гидродвигатели с возвратно-поступательным движением выходного звена. Благодаря своей конструктивной простоте, возможности реализации значительных усилий, малой стоимости, высоким удельным показателям и на-

дежности гидроцилиндры являются самыми распространенными объ-

емными гидродвигателями [1, 4, 9, 10, 17, 18].

И

 

В зависимости от конструкции рабочей камеры гидроцилиндры подразделяются на поршневые, плунжерные, телескопические и

сильфонные.

Д

Наибольшее применение в объемных гидроприводах получили

поршневые гидроцилиндры, в ч астности двустороннего действия с односторонним штоком.

Основными параметрами гидроцилиндров, определяющими их геометрические размеры иАвнешние характеристики, являются следующие: номинальное давление pном ; усилие на штоке, скорость перемещения штока, ход поршня L.

требуемый

По этим параметрам определяются диаметр поршня (гильзы) D;

диаметр штока d;

расход жидкости для обеспечения за-

данной скорости движения поршня со штоком.

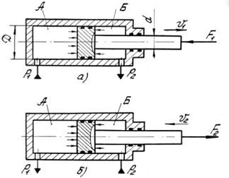
На рис. 1.28 показаны расчетные схемы гидроцилиндов. Теоретическое усилие, развиваемое гидроцилиндром (см. рис. 1.28, а) при вы-

талк ван

одностороннего штока (жидкость поступает в поршневую

полость А)

ез учета с л нерции, тяжести и трения, определяется из

услов

я равновес я всех с л, действующих на шток, по формуле

 

 

 

 

 

 

F1 = p1S1 p2S2 ,

 

(1.4)

где

F1

 

на штоке, Н; p1

– давление в поршневой полости, Па;

S1

усилие

 

площадь поршневой

полости, м2;

–-

рабочая

(эффективная)

S1 =πD2 / 4 ;

 

p2

– давление в штоковой полости,

Па;

S2 – рабочая

(эффективная) площадь штоковой полости, м2, S2 = π

(D2 d 2 ).

С

 

 

 

4

 

 

 

 

 

 

 

 

34

Следует заметить, что сила, действующая на выходное звено (рабочий орган), по величине равна силе F1, определяемой по формуле

(1.4), но противоположна ей по направлению.

Расчетная скорость движения штока (см. рис. 1.28, а) без учета

 

 

 

 

 

 

И

утечек рабочей жидкости определяется из условия неразрывности по-

тока по формуле

 

 

 

 

 

 

 

 

 

V =

Qц

,

 

 

 

(1.5)

 

 

1

S

 

 

 

 

 

 

1

Д

 

где V1 – скорость движения штока,

м/с;

Qц – расход рабочей жидко-

сти, м3/с; S1 – рабочая площадь поршневой полости, м2;

S1 =πD2 / 4 .

При втягивании штока (см. рис. 1.28, б), когда жидкость подается

в штоковую полость Б, теоретическое усилие, развиваемое гидроци-

 

 

А

 

 

 

линдром, определяется по формуле

 

 

 

 

 

 

 

 

F2 = p2S2 p1S1 .

 

 

(1.6)

 

б

 

 

 

 

 

 

Расчетная скорость движения штока (см. рис. 1.28, б) определяет-

ся по формуле

 

 

 

 

 

 

 

 

 

 

V2 =

Qц

.

 

 

 

(1.7)

и

 

S2

 

 

 

 

 

Из формул (2) (4) видно, что V1 < V2 , так как S1 > S2 .

 

 

С

Рис. 1.28. Расчетные схемы гидроцилиндров:

 

 

 

 

 

а – с поршневой рабочей полостью; б – со штоковой рабочей полостью

35