Материал: 2020

Внимание! Если размещение файла нарушает Ваши авторские права, то обязательно сообщите нам

где R – изменение сопротивления тензорезистора; R – номинальное сопротивление тензорезистора; l – упругая деформация на длине тензорезистора; l – база тензорезистора.

С

 

 

 

 

 

 

 

 

 

 

 

 

деформаций

 

 

 

 

 

 

 

 

 

бА

 

 

Р с. 6. Плотность распределения вероятностей

 

 

Связь упруг х

 

 

 

с напряжениями в деталях определяется

законом Гука. В случае одноосного напряженного состояния эта зависи-

мость имеет в д

 

 

 

 

 

 

 

 

 

 

 

 

 

 

 

 

= ε Е ,

 

 

(4)

где ε – относительная деформация;

Е

модуль упругости материала;

σ – напряжение.

 

 

 

 

 

 

 

 

 

 

 

 

Подставив ε = l / l в выражение (4), получим

 

 

 

 

 

 

=

 

.

 

 

(5)

 

Для случая плоского напряженногоДсостояния зависимости между

напряжениями и деформациями вычисляют по следующим формулам:

 

 

 

=

 

 

 

 

(

 

+ εИ),; (6)

 

 

 

 

 

 

 

 

 

 

 

 

 

где

mах и min – главные

напряжения;

ε

 

и ε – главные относительные

=

 

 

(

 

max+ min

)

 

деформации; µ – коэффициент Пуассона.

Для определения главных деформаций по величине и направлению применяют метод, основанный на использовании треугольных или прямоугольных соединений тензорезисторов (розеток), или метод хрупких по-

36

крытий. Сигналы от розеток регистрируются приборами. Обрабатывают результаты измерений с помощью формул и диаграмм.

Крутящие моменты валов определяют или по измеренной деформации вала или с помощью специального преобразователя крутящего мо-

мента. В некоторых случаях достаточно найти реакции опор стандартными измерителями сил. Измерить деформацию вала нетрудно с помощью Стензорезисторов, устанавливая их под углом 45° к оси. Для включения их

в измерительную цепь необходимо применить одно из рассмотренных токосъемных устройств. Этот способ не связан с какими-либо изменениями в исследуемой конструкц и. Однако не всегда возможна установка на вал

тензорезисторов токосъемных устройств. Кроме того, все эти приспособления, создаваемые для каждой конструкции отдельно, требуют тарировки оценки погрешностей.

Промышленные прео разователи момента работают в комплекте с типовой змер тельной аппаратурой и их характеристики не изменяются

Измеренбе давлен й. При испытаниях автомобилей часто приходится измерять давления жидкостей и газов. Для определения постоянных значений давления применяют жидкостные (пьезометры) и стрелочные

при переходе от одного о ъекта измерений к другому. Калибровку и оценку погрешностей проводят заранее, а результаты используют при испытании разл чных о ъектов.

(пружинные) манометрыА. В жидкостном манометре на столб жидкости, заключенный в тру ку, действует разность измеряемого и атмосферного давлений. В стрелочных манометрахДприменяют изогнутую манометрическую трубку (Бурдона), которая под действием разности давлений, стремясь выпрямиться, через рычажный механизм перемещает стрелку. Для

измерения переменных давлений применяют преобразователи с чувстви-

тельным элементом. При медленно изменяющемся давлении (с частотой не более 1 Гц) применяют преобразователь давленияИс чувствительным элементом в виде трубки Бурдона. На боковые поверхности трубки наклеены тензорезисторы, соединенные в полумостовую схему. Манометрическая трубка имеет значительную инерционность и поэтому не может реагировать на быстропротекающие процессы. Например, этими преобразователями измеряют давление жидкости в гидравлическом тормозном приводе.

Для измерения усилия буксировки преобразователи должны иметь такую частоту собственных колебаний, которая бы значительно превышала максимальные частоты измеряемых процессов. Наибольшую частоту собственных колебаний имеют преобразователи давления с пьезоэлектрическим чувствительным элементом. Их применяют при широком интерва-

37

ле изменения величин и частот давлений. Высокая жесткость пьезоэлектрических преобразователей обеспечивает частоту собственных колебаний 10–50 кГц. Это дает возможность использовать их для измерения давления в цилиндрах двигателя автомобиля. Следует отметить, что пьезоэлектрический преобразователь имеет ограниченный нижний диапазон частот и не может измерять постоянную составляющую процесса.

Измерение пути, скорости и относительного перемещения. Для измерения пути, пройденного автомобилем, может быть использован счетчик с пр водом от трансмиссии. Однако такой способ не совсем точен, так как колеса автомобиля проскальзывают за счет передачи сил и моментов. Кроме того, радиус качения колеса связан с нагрузкой, давле-

нием в ш не

ее зносом. Поэтому при испытаниях автомобилей для из-

С

мерения

скорости применяют так называемое "пятое колесо". Ко-

пути

лесо велос педного ли мотоциклетного типа установлено в вилке и шар-

нирно соед нено с автомо илем. Такое крепление обеспечивает самоуста-

борам относятсябАтахометры и тахоскопы. В тахометре под действием центробежных сил расходятся грузики, которые перемещают стрелку прибора. Тахоскопом определяют суммарный угол поворота вала за промежуток времени, заданный часовым механизмом. Эти приборы имеют высокую точность измерения, их применяют в качестве контрольных.

новку колеса при дв жен и автомо иля. Для получения безотрывного качения колеса его пр ж мают к дороге пружинами, а в некоторых случаях устанавл вают аморт заторы.

Для определен я угловых скоростей используют приборы меха-

нического, электрического или электронного типов. К механическим при-

Строботахометр позволяет измерить частоту вращения без непо-

средственного контакта с вращающейся деталью. При совпадении частоты

вспышек импульсной лампы и частоты вращения вращающаяся деталь

воспринимается как неподвижная. При измерениях угловая скорость дета-

Д

ли должна быть постоянной, а частота вспышек плавно регулируется. В

момент, когда вращающаяся деталь кажется неподвижной, по шкале при-

бора определяют ее угловую скорость.

 

Для измерения относительных перемещений узлов и деталей ав-

томобиля используют различные устройства и приспособления. Так, на-

 

И

пример, в условиях статических испытаний нашли применение механические индикаторы часового типа с ценой деления 0,01 мм. При динамиче-

ских испытаниях тензорезисторы наклеивают на кольца и пластины, выбранные достаточно гибкими, но прочными, изготовленными из высокоуглеродистой стали.

38

Измерение температур. Измерительную аппаратуру выбирают в зависимости от диапазона рабочих температур исследуемого агрегата. Для определения температур до 120–150 °С используют аэротермометры. Эти приборы состоят из баллона, заполненного рабочим телом, капиллярной

трубки и стрелочного указателя. При погружении баллона в жидкость, температуру которой надо измерить, давление рабочего тела увеличивается и передается через капиллярную трубку к указателю, перемещая его стрелку.

Стоде измеряется время зрасходования некоторого количества топлива, определяемого взвеш ванием. В автоматических устройствах измерения

Измерен е расхода топлива. При испытаниях автомобиля для измерения расхода топл ва используют два метода: объемный и весовой. Весовой метод пр меняют при лабораторных испытаниях. При этом ме-

расхода топл ва весовым методом время прохождения заданной массы топлива определяется электронным секундомером с помощью фотоэлек-

трических

, контролирующих положение весов. Запол-

нение пр бора

расходом топлива производится электромаг-

управление

нитными клапанами. При использовании этого метода на результатах из-

мерений не сказываются погрешности, связанные с изменением плотности

топлива при изменении температуры.

Все большеепреобразователейраспространение получают измерительные приборы,

связанные со спутниковым позиционированием объекта. Они дают воз-

можность определять скорость, время и расстояние перемещения. Специ-

альные компьютерные программы позволяют регистрировать большой

объем информации, обрабатыватьАее и получать готовые результаты в ре-

альном времени. Современные автомобили и их системы оснащены мно-

гочисленными

встроенными контрольно-измерительными приборами и

датчиками и позволяют снимать необходимуюДинформацию с помощью специальных разъёмов и даже удаленно. И

39

Раздел 3. ИЗМЕРИТЕЛЬНЫЕ УСТРОЙСТВА, КОМПЛЕКСЫ И СТЕНДЫ ДЛЯ ПОЛУЧЕНИЯ ПАРАМЕТРОВ АВТОМОБИЛЯ И ШИН

Тема 3.1. Определение углов поворотов управляемых колес автомобиля, углов уводов и боковых реакций

Стойчивости автомоб лей. Анализ влияния конструктивных особенностей рулевого управлен я, подвески, шин, определяющих параметры управляемости автомоб ля, а также износа шин. Применение измерительного комплекса с рег стр рующим устройством данных о боковых реакциях,

Проведение сследовательских испытаний по управляемости и ус-

углах поворотов управляемых колес и векторе скорости всех колес автомобиля, связанных во времени.

подвески, шинбА, определяющих параметры управляемости автомобиля, а также износа шин. Такая задача может быть решена при применении измерительного комплекса, которыйДпозволяет с помощью киносъемки и тензоступиц фиксировать на регистрирующих устройствах данные о боковых реакциях, углах поворотов управляемых колес и векторе скорости всех колес автомобиля, связанных во времени (рис. 7).

проведен

сследовательских испытаний по управляемости и

При

устойчивости автомо

лей нео ходимо получать достоверную информа-

цию об углах уводов

оковых реакциях на колесах автомобиля и харак-

тере их изменения при криволинейном движении. Это необходимо для

анализа влияния конструктивных особенностей рулевого управления,

И

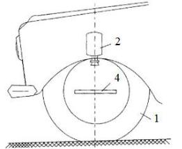
Рис. 7. Установка кинокамеры на автомобиле для регистрации углов поворотов и уводов колес: 1 – колесо; 2 – кинокамера; 3 – токосъёмник;

4 – планка-указатель угла поворота колеса; 0–0 – продольная ось автомобиля; δ – угол вектора скорости; δ + α – угол поворота колеса

40