Материал: 1753

Внимание! Если размещение файла нарушает Ваши авторские права, то обязательно сообщите нам

Вертикальные составляющие Va и Vb опорных реакций Ra и Rb находят из рассмотрения пролёта арки как пролёта балки. Тогда изМВ = 0 следует

VA

MB0

, а из МА = 0 VB

 

M A0

.

 

 

 

 

 

М

 

 

q

 

 

 

 

F

 

 

 

 

 

y

 

 

К

 

 

 

 

 

 

 

 

 

 

 

 

 

 

 

 

 

 

 

 

С

 

 

 

 

 

 

 

 

 

 

RА

 

 

RВ

 

 

 

 

 

К

 

 

 

 

 

 

 

 

 

 

 

 

 

 

 

 

VА

 

 

 

 

 

 

 

VВ

 

 

 

 

 

 

 

 

 

 

 

 

HА

 

 

 

 

HВ

 

x

 

 

 

1

 

2

 

 

 

А

 

 

 

 

 

 

 

В

 

 

 

 

 

 

 

 

 

 

 

 

 

 

 

 

 

 

 

 

 

 

 

 

 

 

 

 

 

 

 

 

 

 

 

 

 

 

 

 

 

 

 

 

 

 

 

 

 

 

 

 

 

 

 

 

 

 

 

 

 

 

 

 

F

 

q

VА

М

VВ

 

 

К

 

 

 

 

 

 

С

 

 

 

Рис. 3.4

 

Здесь М А0 В представляет собой

балочный момент, т.е. изги-

бающий момент, создаваемый действием вертикальных сил.

Для определения горизонтальных составляющих опорных реакций НА и НВ рассмотрим равновесие арки в целом. Составим уравнение статики – суммы проекций всех сил, действующих на арку, на горизонтальную ось х. х=НА НВ = 0 НА = НВ = Н. Далее, составляя уравнение моментов относительно замкового шарнира С, рассматривая при этом равновесие либо левой, либо правой полуарок, можно записать

Мсправ Мс0 прав Н f 0;

(3.3)

Мслев Мс0 лев Н f 0.

Исходя из (3.3) находят

35

Н

Мс0 прав

 

Mc0 лев

(3.4)

 

 

 

.

f

 

 

 

f

 

Для определения внутренних усилий в произвольном сечении арки мысленно в этом сечении проводят плоскость, нормальную к оси арки (рис. 3.5). Положение плоскости определяется координатами её центра тяжести хк, ук и к.

v

φк

 

Nак

Qах

 

 

КМак

y

yк

VА

HА

Аxк

Рис. 3.5

Отделяемая этим сечением любая из частей арки находится в равновесии под действием приложенных к рассматриваемой части арки внешних сил и равнодействующей R внутренних сил, приложенной к плоскости сечения. С отнесением равнодействующей R в центр тяжести сечения внутренние усилия в сечении арки будут определяться

изгибающим моментомMka, поперечной силой Qka и продольной силой Nka. Рассматривая равновесие оставшейся части арки (см. рис. 3.5), составляют уравнение моментов относительно сечения k и уравнения проекций всех сил на нормаль и касательную к оси арки в точке к соответственно. Исходя из этого получены выражения

M Mk0 H yk ;

(3.5)

Qka Qk0 cos k H sin k ;

(3.6)

36

 

Nka Qk0 sin k H cos k ..

(3.7)

В формуле (3.6) Qka представляет собой так называемую балочную поперечную силу в сечении k при рассмотрении пролёта арки как пролёта балки.

По приведённым формулам строят эпюры внутренних усилий, предварительно определив геометрические параметры каждого рассматриваемого сечения трёхшарнирной арки.

3.3. Расчёт трёхшарнирной арки на подвижную нагрузку

Расчёт на подвижную нагрузку предполагает построение линий влияния всех искомых параметров, определяющих напряжённодеформированное состояние рассчитываемой конструкции.

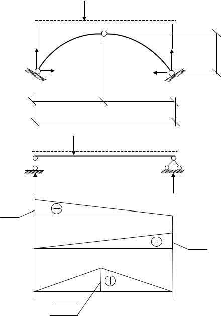
Как обычно, расчёт начинают с построения линий влияния опорных реакций. Линии влияния вертикальных VА и VВ составляющих опорных реакций (рис. 3.6) строят так же, как строят линии влияния опорных реакций в двухопорной без консолей балке. При этом пролёт арки рассматривается как пролёт балки с длиной пролёта, равной расстоянию между пятовыми шарнирами А и В.

Линия влияния горизонтальной (распора Н) составляющей опорной реакции может быть построена в соответствии с выражением (3.4), согласно которому

Л.в.Н

Л.в.М 0

(3.8)

с .

f

Из (3.8) видно, что линия влияния распора имеет в точности такой же вид, что и линия влияния изгибающего момента для сечения С, построенной из рассмотрения пролёта арки как пролёта простой двухопорной балки (см. рис. 3.5). В соответствии с этим все ординаты данной линии влияния поделены на постоянную f , равную стреле подъёма арки.

Линия влияния изгибающего момента Мkа в произвольном сечении к арки, находящемся на расстоянии х от левой опоры, может быть построена исходя из формулы (3.5):

Л.в.Мkа Л.в.Мk0 Л.в.Н уk .

(3.9)

37

 

 

В соответствии с этим выражением л.в.

Мkа представляет собой

алгебраическую сумму двух линий влияния

линии влияния балоч-

ного момента и линии влияния распора Н, ординаты которой умно-

жают на постоянную величину уk. На рис. 3.7 показано построение

Мkа

путём геометрического сложения указанных линий влияния.

 

 

_

 

 

 

 

F=1

 

 

 

VА

С

VВ

f

 

 

 

 

 

 

HА

HВ

 

 

 

А

 

В

 

 

1

2

 

 

 

 

 

 

 

 

_

 

 

 

А

F=1

В

 

 

 

 

 

VА

VВ

 

 

 

1

 

 

Л.в. VА

 

 

 

 

 

 

 

1

Л.в. VВ

 

 

 

 

 

 

 

 

Л.в. Н

 

1·ℓ2

 

 

 

 

f ·ℓ

 

 

 

Рис. 3.6

Построение линии влияния поперечной силы Q основывается на формуле (3.6) и соответствует выражению

Л.в.Qa Л.в.Q0

cos

k

Лв.Н sin

k

.

(3.10)

k

k

 

 

 

 

 

 

38

 

 

 

 

 

 

_

 

 

 

 

F=1

 

 

 

 

С

 

 

 

 

K

 

 

y

 

yк

 

f

 

 

x

 

 

 

 

 

 

 

А

xк

 

 

В

 

 

 

 

 

 

 

 

 

1

2

 

 

 

 

 

 

 

xк ·ℓ2

xк

 

Л.в. М0к

 

 

 

 

 

 

 

xк ·(ℓ-xк)

 

 

 

 

 

 

 

 

 

 

 

 

Л.в. Н·yк

2·xк·yк

 

 

1·ℓ2·yк

ℓ·f

 

 

 

ℓ·f

 

 

xк ·(ℓ-xк)

1·xк·yк

 

 

 

ℓ·f

 

 

 

 

Л.в. Мак

 

 

xк ·ℓ2

1·ℓ2·yк

 

 

 

ℓ·f

 

 

Рис. 3.7

 

 

 

 

39