Материал: [SHipinsky_V.G.]_Oborudovanie_i_osnastka_upakovoch2(z-lib.org)

Внимание! Если размещение файла нарушает Ваши авторские права, то обязательно сообщите нам

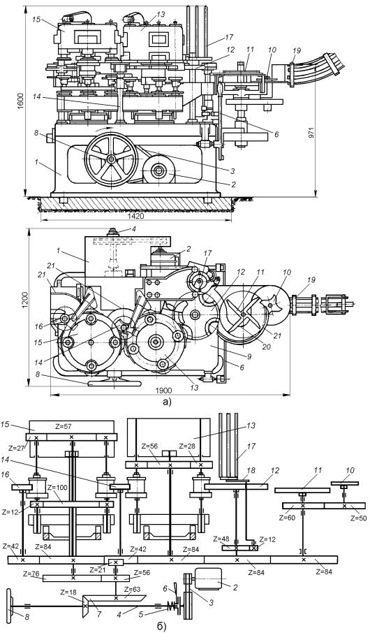
необходимое ускорение, по эксцентричной направляющей 20 поочередно посылает в сопрягающиеся гнезда загрузочного ротора 12.

Рис. 16.28. Двухбашенный роторный закаточный автомат: а) – общий вид; б) – схема кинематическая принципиальная.

201

При перемещении этим ротором под вертикальным магазином 17, корпуса нажимают на блокирующий рычаг, включающий в работу ножевой толкатель 18, а он отделяет при этом нижний конец от стопы в магазине и подает его в выемки ротора 12, расположенные над гнездами с корпусами. Далее загрузочным ротором 12 корпуса в комплекте с концами поочередно устанавливаются на нижние опущенные патроны четырехшпиндельной башни 13 и центрируются в них.

В процессе вращения этой башни корпус поднимается ее шпинделем и, надевая на себя конец, входит в зону закаточного ролика, где прижимается к верхнему патрону гнезда и вместе с ним начинает вращаться. Амортизационная пружина ползуна при этом слегка оседает, компенсируя возможные колебания высоты корпуса. При дальнейшем повороте башни ее закатной ролик смещается подающим сектором и, нажимая на торец фланца конца, обкатывает его в течение полного оборота шпинделя, обеспечивая тем самым подгиб завитка под отбортованный фланец корпуса банки. Затем шпиндель опускается, а закатной ролик возвращается в исходное положение и банка с опущенного патрона гнезда извлекается синхронно вращающимся транспортным ротором 14, переносящим и устанавливающим ее на нижний патрон четырехшпиндельной башни 15 второго перехода закатки.

Впроцессе вращения башни 15 банка поднимается ее шпинделем и, прижимаясь к верхнему патрону гнезда, под действием сил трения вместе с ним начинает вращаться. При дальнейшем повороте этой башни ее закатной ролик смещается подающим сектором и обкатывает на банке формируемый соединительный шов в течение пяти с половиной оборотов шпинделя с постепенно увеличивающимся нажимом, обеспечивая тем самым окончательное обжатие фальцевого соединения конца и корпуса с предельным уменьшением межслойных зазоров, заполнением их уплотняющим материалом и полной герметизацией. Последний оборот банки осуществляется с постоянным усилием нажатия ролика, что способствует сглаживанию шва. По окончании закатывания пружина отводит роликодержатель от шва, патрон опускается шпинделем в исходное положение и банка выталкивателем выбрасывается с него на выводящий ротор 16, подхватывающий ее и через счетное устройство подающий в отводящий лоток.

Вэтом автомате осуществляется таким образом высокопроизводительная закатка фальцевых соединительных швов на жестяных банках в процессе их перемещения непрерывным потоком по его технологическим позициям.

Коднобашенным закаточным автоматам, в которых выполнение фальцевого соединительного шва между концом и корпусом банки осуществляется на одной совмещенной позиции двумя последовательно работающими роликами, относятся, например, автоматы модели СЗД, модели 400 фирмы «Тойо-Сейкан» и модели 100/1 фирмы «Блема». Технические характеристики приведенных закаточных автоматов содержатся в таблице 16.3.

16.5.2. Проверка собранных банок на герметичность

Изготовленные жестяные банки подвергаются далее проверке на герметичность. Причиной выпуска негерметичных банок может стать плохо запаянный продольный шов корпуса, нарушенная пайка углошва, неправильно

202

подвитые концы, уменьшенные крючки в фальцевых закатных швах, неравномерно нанесенная во фланец концов уплотнительная прокладка, плохо отрегулированная закаточная машина и другие. Проверку банок на герметичность производят в специальном испытательном технологическом оборудовании (тестерах). По способу проверки на герметичность это оборудование подразделяется на воздушно-водяное и воздушное.

Таблица 16.3. Технические характеристики закаточных автоматов

 

Двухба-

 

Однобашенные:

 

Параметры

 

 

 

 

 

шенный

модели

 

модели 400

модели

 

фирмы

СЗД

 

фирмы

100/1

 

«Нагема»

 

 

«Тойо-

фирмы

 

 

 

 

Сейкан»

«Блема»

Производительность, шт./мин.

до 170

до 300

 

до 220

до 400

Диаметр банки, мм………………

50–104

72–100

 

50–105

50–105

Высота банки, мм………………..

48–122

35–120

 

36,5–152,4

40–130

Число закаточных позиций, шт. ..

4+4

6

 

4

6

Мощность электропривода, кВт…

2,6

4,5

 

3

5,5

Габаритные размеры, мм:

 

 

 

 

 

длина ……………………………..

1900

1980

 

1760

2960

ширина …………………………..

1200

1670

 

1200

1270

высота ……………………………

1600

1930

 

2200

1600

Масса, кг ………………………..

2460

2000

 

2560

2500

 

 

 

 

 

Ввоздушно-водяных испытательных установках загерметизированная прижатым резиновым диском жестяная банка погружается в воду и одновременно в нее подается сжатый воздух под избыточным давлением до 0,1 МПа. Если банка негерметична, то воздух выходит из нее в воду пузырьками, которые собирают в заполненную водой мензурку, установленную над банкой открытой горловиной вниз. О степени негерметичности судят по объему воды, вытесненной из мензурки просочившимся из банки за контрольное время воздухом.

Ввоздушных машинах жестяные банки проверяются на герметичность под избыточным давлением подаваемого внутрь воздуха или под создаваемым вакуумом. Широкое распространение получили воздушные испытательные автоматы, работающие на избыточном давлении, подаваемом непосредственно

вбанку или в испытательные патроны-камеры, в которых размещаются банки. Выполняться такие испытания могут по следующим четырем схемам.

В первой схеме банка 1 (рис.16.29а) патроном 2 прижимается к герметизирующему упругому диску 3 и через его штуцер 4 ее полость

заполняется сжатым воздухом под давлением РИ = 0,07 – 0,1 МПа. Затем подача воздуха прекращается и после выдержки определенного времени полость банки соединяется через штуцер 4 с мембранным датчиком. Если давление в банке окажется ниже поданного, то срабатывающий датчик приведет в действие механизм, обеспечивающий ее удаление в накопитель бракованных изделий.

Вторая схема (рис.16.29б) отличается от первой тем, что на герметизирующем упругом диске 3 устанавливается вытеснитель 5, который

203

заполняет полость проверяемых банок 1 на 70 – 80 % и тем самым снижает расход сжатого воздуха, необходимого для ее испытания.

Рис. 16.29. Схемы воздушных испытательных устройств

В третьей схеме проверяемая банка 1 (рис.16.29в) устанавливается на подвижный патрон 2, который располагается в камере 3, соединенной через штуцер 4 с мембранным датчиком. Затем камера открытой стороной прижимается к герметизирующему упругому диску 5 и к нему же перемещающимся патроном 2 своей горловиной прижимается банка,

заполняемая через штуцер 6 диска сжатым воздухом под давлением РИ. Если банка оказывается негерметичной, то вытекающий из нее воздух создает в

камере давление, превышающее атмосферное Ра, и оно через штуцер 4 поступает на срабатывающий мембранный датчик, которым включается механизм, обеспечивающий удаление этой банки из раскрывающейся камеры в накопитель бракованных изделий. Такое конструктивно сложное устройство позволяет без переналадки проверять банки различной высоты с более высокой производительностью.

Четвертая схема (рис.16.29г) отличается от третьей тем, что проверяемая банка 1 устанавливается в камере 3 на неподвижный патрон 2, представляющий собой сменную вставку, размер которой вместе с банкой адекватен глубине камеры. Поэтому когда камера прижимается открытой стороной к герметизирующему упругому диску 5, то одновременно к нему патроном 2 прижимается и горловина банки, заполняемая через штуцер 6 диска сжатым

воздухом под давлением РИ. Таким исполнением упрощается конструкция испытательного устройства. Однако при недостаточной эластичности диска 5 и неточных размерах патронов 2 по высоте, может не обеспечиваться надежная герметизация банок при их испытании, а более глубокое вдавливание торца горловины банки приводит к ускоренному износу упругого диска.

Автомат, проверяющий жестяные цилиндрические банки на герметичность (называемый также тестером), обычно является многопозиционной роторной машиной, которая испытывает банки на герметичность, удаляет из проверяемого потока негерметичные и при их наличии сигнализирует о необходимости поднастройки жестебаночной линии и закаточных автоматов. Принцип контроля заключается в улавливании мембранными датчиками автомата избыточного давления, возникающего в полости камеры его испытательного устройства в результате негерметичночти проверяемой банки. При этом качество контроля определяется главным образом чувствительностью автомата, то есть его способностью распознавать негерметичную банку, пропускающую за время испытаний минимальное количество воздуха. Чувствительность автомата зависит от конструкции

испытательного устройства, системы подачи в него сжатого воздуха,

204

совершенства применяемых мембранных датчиков и других факторов. В частности, среди таких машин, выпускаемых многими фирмами, хорошо зарекомендовал себя многопозиционный роторный испытательный автомат модели СИ1-БП, серийно выпускаемый Симферопольским машиностроительным заводом.

Роторный испытательный автомат модели СИ1-БП содержит установленные на станине 1 (рис.16.30а) следующие функциональные устройства:

наклонный гравитационный лоток 2, по которому жестяные банки 3 непрерывным однорядным потоком поступают в автомат;

приемный ротор 4, поштучно забирающий банки с лотка и подающий их на позицию загрузки в испытательные устройства синхронно вращающегося технологического ротора;

технологический ротор, рабочее зубчатое колесо 5 которого осью 6 крепится на стойках станины и несет на себе тридцать шесть испытательных устройств 7, радиально закрепленных с одинаковым шагом по его периметру;

испытательные устройства технологического ротора, содержащие цилиндрическую камеру 8 (рис.16.30б) с соосно закрепленным в ней патрономвкладышем 9 и соединяющуюся через штуцер 10 с воздухораспределительным устройством, а также перемещающийся на колонке 11 кронштейн 12, который несет по два упругих диска 13, соединенных через отверстия в штоках 14 с воздухораспределительным устройством и герметично закрывающих соседние камеры при возвратно-поступательном перемещении этого кронштейна через шатун 15 от кривошипа 16, ось которого поворачивается в опоре 17, закрепленной на колесе 5, при зацеплении ее конической шестерни 18 с неподвижным зубчатым сектором 19;

воздухораспределительное устройство, содержащее два дисковых золотника, установленных на оси 6 с двух сторон рабочего колеса 5, при этом один из них соединяет проверяемую банку 3 через отверстие в упругом диске 13

свакуум-ресивером, ресивером сжатого воздуха и атмосферой, а второй сообщает камеру 8 через отверстие в штуцере 10 с пневмоэлектрическим датчиком и атмосферой;

два пневмоэлектрических датчика в полости корпуса 20 (рис.16.30в) которых располагается гофрированная мембрана 21 диаметром 72 мм, выполненная из бериллиевой бронзы толщиной 0,1 мм; при подаче в рабочую

полость корпуса датчика через штуцер 22 избыточного давления РИ величиной от 100 до 500 Па его мембрана прогибается вверх и толкает закрепленный на ней шток 23, а он в свою очередь через качающийся рычаг 24 размыкает установленную на корпусе в кронштейне 25 электрическую контактную пару 26, поджимаемую пружиной 27;

электронный блок, преобразующий импульсы размыкающейся контактной пары 26 пневмоэлектрических датчиков в управляющие команды для механизма магнитов;

механизм магнитов, обеспечивающий преобразование управляющих команд электронного блока в механические перемещения штыревых фиксаторов, удерживающих пальцы от закрытия на гнездах выносящее-браковочного

205