Материал: [SHipinsky_V.G.]_Oborudovanie_i_osnastka_upakovoch2(z-lib.org)

Внимание! Если размещение файла нарушает Ваши авторские права, то обязательно сообщите нам

 

 

 

4

2

ln

Т

 

Т

 

 

 

 

 

 

 

 

 

 

 

 

 

 

 

 

 

З

 

Ф

 

 

 

 

 

 

 

 

 

 

 

О

 

 

2

а

 

Т

 

Т

 

 

 

 

 

 

И

Ф

 

 

 

 

 

 

 

 

 

 

 

, с

(1.43)

где δ – средняя толщина изделия, мм; а – коэффициент температуропроводности полимера в рабочем интервале

температур, мм2/с; ТЗ – температура заготовки, К;

ТИ – температура изделия в момент раскрытия формы, К; принимается на 20 градусов ниже температуры формоустойчивости;

ТФ – температура раздувной формы, К.

Таблица 12.1 – Скорость прохождения сжатого воздуха в зависимости от диаметра сопла и давления

Давление

Скорость воздуха в см3

Давление

Скорость воздуха в см3

перед

при диаметре сопла в см

перед

при диаметре сопла в см

соплом в

 

 

 

 

соплом в

 

 

 

 

0,4

0,8

1,6

3,2

0,4

0,8

1,6

3,2

кГ/см

2

кГ/см

2

 

 

 

 

 

 

 

 

 

 

0,07

 

0,79

3,17

12,5

50,9

2,45

 

4,98

19,9

79,6

319

0,14

 

1,13

4,48

17,4

71,7

2,8

 

5,5

21,9

87,7

351

0,21

 

1,36

5,49

21,6

87,8

3,15

 

5,97

23,8

95,6

382

0,28

 

1,58

6,31

24,8

101,0

3,5

 

6,5

25,8

103,7

416

0,35

 

1,75

7,02

27,6

112,2

4,2

 

7,46

30

119,2

480

0,42

 

1,93

7,7

30,8

122,7

4,9

 

8,5

33,9

135,5

543

0.49

 

2,07

8,3

33,1

132,4

5,6

 

9,49

37,9

151,6

605

0,63

 

2,35

9,4

37,4

150

6,3

 

10,47

42,8

168,2

671

0,84

 

2,69

10,7

43

171,6

7,0

 

11,5

45,8

183,6

736

1,05

 

2,98

11,9

47,5

190,5

7,7

 

12,52

49,8

199,8

862

1,4

 

3,48

13,9

55,2

222

8,4

 

13,5

54,1

216

895

1,75

 

3,97

16,0

63,6

254

8,75

 

14,0

56,0

224

961

2,1

 

4,48

18,0

71,5

286

 

 

 

 

 

 

И, наконец, длительность процесса извлечения из формы готового изделия τИ выбирается в зависимости от конструктивного исполнения и быстродействия применяемого съемного механизма.

Далее по рассчитанному времени полного цикла τц определяется производительность экструзионно-раздувного агрегата.

Широкая номенклатура разнообразных моделей серийно изготовляемых многими фирмами экструзионно-раздувных агрегатов с их техническими характеристиками приведена в соответствующих справочниках.

Наряду с рассмотренными созданы также и такие агрегаты, которые в едином технологическом цикле обеспечивают не только изготовление выдувной тары, но и ее заполнение жидкой продукцией с герметичной заваркой горловины. К таковым, в частности, относится серия экструзионно-раздувных

автоматов типа «Боттл-Пак» фирмы «Роммелаг» (Швейцария).

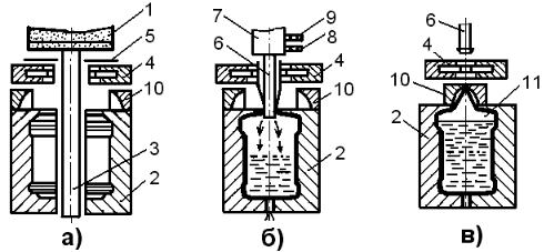
Изготовление тары и упаковывание в нее продукции с заваркой горловины осуществляется в этих автоматах на двух позициях. При этом на первой позиции из экструдера через экструзионную головку 1 (рис.12.12а) в разомкнутую форму 2 выдается трубчатая заготовка 3, которая обрезается

86

механизмом 4 обрезки и удаления облоя по линии 5, а затем захватывается и перемещается вместе с формой 2 на вторую позицию. Здесь сверху в полость заготовки вначале вводится ниппель 6 (рис.12.12б) наполнительного устройства 7, а затем форма 2 смыкается, пережимая и сваривая при этом нижнюю часть заготовки 3 и формуя на ниппеле сопрягающимися поверхностями горловину тары. Далее в канал ниппеля 6 через штуцер 8 подается сжатый воздух, раздувающий заготовку во флакон, а затем через штуцер 9 и ниппель 6 изготовленная тара заполняется из дозатора устройства 7 порцией упаковываемой продукции, а воздух из нее удаляется в это время через соединяющийся с атмосферой штуцер 8. Заполнив тару, ниппель 6 устройства 7 извлекается из тары (рис.12.12в), а затем смыкаются нагреваемые электрическим током полуформы 10, подогревающие верхнюю часть заготовки и одновременно формующие из нее герметично завариваемую горловину.

Рис. 12.12. Схема работы агрегата типа «Боттл-Пак»

Далее механизмом 4 обрезаются остатки заготовки, располагающиеся над горловиной, и удаляется с нее облой, а также готовая упаковочная единица 11 удаляется из синхронно размыкающихся форм 2 и 10 на приемную позицию. Здесь на нее навинчивается колпачок, наклеивается этикетка и далее готовые флаконы 11 укладываются в транспортную тару, а разомкнутые формы 2 и 10 в это время возвращаются на первую позицию и цикл повторяется. Высокая же производительность в этих автоматах достигается за счет применения многоручьевых экструзионных головок (до 4 ручьев) и многоместных форм.

В Московском институте химического машиностроения был разработан способ и создан экспериментальный агрегат, позволяющий выполнять все операции по изготовлению, заполнению и укупорке полимерной тары на одной позиции. В нем поверхности деталей угловой экструзионной головки, соприкасающиеся с расплавом термопласта, имеют обтекаемую форму и хорошо отполированы. Этим исключается образование застойных зон, приводящих к термической деструкции материала. Особенностью этой головки является и отсутствие в ней решетки – дорнодержателя, что позволяет избежать рассечения потолка расплава на отдельные струи и образования продольных полос, обусловливающих наличие «холодных» спаев. В отверстии дорна этой головки располагается в свою очередь фасовочная трубка, образующая с ним кольцевой зазор, через который подается сжатый воздух для раздува. В процессе работы после выдачи экструдером агрегата через головку трубчатой

87

заготовки в разомкнутую форму она смыкания. При этом верх формы охватывает сопрягающуюся часть дорна и формует из заготовки на нем горловину, а снизу заготовка пережимается и сваривается пресс-кантами. Затем через кольцевой зазор в отверстии дорна внутрь заготовки подается сжатый воздух, раздувающий ее в тару. По окончании времени выдержки по фасовочной трубке в полость отформованной тары из дозатора заливается порция упаковываемой жидкости, а воздух из нее в это время вытесняется через кольцевой зазор в отверстии дорна, соединяющийся с атмосферой. После окончания процесса заполнения фасовочная трубка выводится из горловины тары и далее производится ее заварка с помощью электронагреваемого инструмента, две части которого при смыкании обжимают разогретый участок горловины и выдавливают часть ее пластичного материала в фасовочное отверстие, формируя там герметичный укупорочный шов. Опыт работы на этом экспериментальном агрегате показал, что от правильности выбора метода заварки и конструкции сварочного инструмента во многом зависит качество изготовленных упаковочных единиц.

Применяются приведенные и подобные агрегаты для упаковывания в полимерные флаконы различных минеральных масел, моющих средств, фармацевтических жидкостей и суспензий, а также другой жидкой продукции.

12.3.Инжекционно-раздувное технологическое оборудование

Винжекционно-раздувных агрегатах литьем под давлением изготовляются вначале на оправках ампулообразные заготовки с отформованной горловиной и дном (рис.12.2), а затем в горячем состоянии они переносятся в выдувные формы и там оформляются в готовые изделия.

Инжекционно-раздувные агрегаты классифицируют:

по числу рабочих позиций – на двух-, трех и многопозиционные;

по кинематике движения заготовки – на агрегаты с возвратнопоступательным периодическим движением, а также с ротационным периодическим или непрерывным движением;

по числу одновременно формуемых изделий – на одно- и многоместные;

по способу формования – с неориентированным и ориентированным формованием.

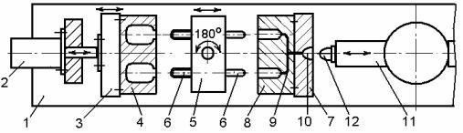
Вчастности, двухпозиционный многоместный инжекционно-раздувной агрегат состоит из станины 1 (рис.12.13) на которой соосно установлены:

возвратно-поступательно перемещающаяся от гидроцилиндра 2 плита 3, несущая смыкающиеся в горизонтальной плоскости выдувные полуформы 4;

Рис. 12.13. Схема двухпозиционного многоместного инжекционно-раздувного агрегата

88

поворачивающийся на 180о стол 5, несущий на противолежащих вертикальных стенках две пары оправок 6;

плита 7, на которой со стороны стола 5 закреплены смыкающиеся в горизонтальной плоскости литьевые формы 8, соединяющиеся каналами 9 с литниковым отверстием 10 плиты;

червячное инжекционно-пластикационное устройство 11, сопрягающееся своим соплом 12 с литниковым отверстием 10 плиты 7.

Вначале рабочего цикла гидроцилиндром 2 плита 3 и стол 5 перемещаются к плите 7, запирая сомкнутые формы 4 и 8, в полостях которых при этом размещаются соответствующие оправки 6. Затем инжекционно-пластикационным устройством 11 через сопло 12 и литниковое отверстие 10 в литьевые формы 8 под давлением подается пластифицированная полимерная масса, из которой на оправках 6 формуются ампулообразные заготовки. Одновременно в выдувных формах 4 сжатым воздухом, подаваемым через оправки 6, ранее отлитые в формах 8 заготовки раздуваются в готовые изделия, плотно прижимаемые к стенкам их оформляющей полости. После окончания этих процессов, гидроцилиндром 2 плита 3 и стол 5 перемещаются в исходное положение, одновременно с этим формы

4 и 8 размыкаются, а готовые изделия удаляются с оправок 6. Затем стол 5 поворачивается на 180о, перенося оправки 6 с вновь отлитыми заготовками к выдувным формам 4, и цикл повторяется.

Втрехпозиционных инжекционно-раздувных агрегатах, например модели FIB-517, выпускаемых фирмой «Фишер» (ФРГ), технологические позиции

последовательно располагаются вокруг револьверного стола 1 (рис.12.14), несущего три оправки 2, которые установлены под углом в плане 120о.

Рис. 12.14. Схема трехпозиционного инжекционно-раздувного агрегата модели FIB-517 фирмы «Фишер» (ФРГ)

При этом на первой позиции этого агрегата в литьевой форме 3, установленной на плите 4, из пластифицированной полимерной массы, подаваемой под давлением из инжекционно-пластикационного устройства 5 через сопло 6 и литниковое отверстие, на оправке 2 формуется ампулообразная заготовка. Одновременно в сомкнутой выдувной форме 7, установленной на плите 8, выдвигающейся головкой оправки 2 заготовка предварительно вытягивается в продольном направлении, а затем подаваемым через нее сжатым воздухом раздувается в готовое изделие, по конфигурации оформляющей полости формы. При раздуве с предварительной вытяжкой совместное действие продольного и

89

тангенциального растяжений приводит к возникновению двухосной ориентации полимера, в результате чего существенно улучшаются его механические и оптические свойства, а также уменьшается газопроницаемость стенок изготовляемого изделия. На третьей же позиции в это время готовое изделие 9 снимается с оправки 2 съемником 10 и направляется по лотку 11 в накопитель. По окончании этих процессов формы 3 и 7 размыкаются в горизонтальной плоскости, а съемник 10 возвращается в исходное положение. Затем револьверный стол 1 приподнимается и поворачивается на 120о, перенося при этом на оправках 2 отлитую заготовку на вторую позицию, а готовое изделие – на третью позицию. После этого стол опускается в исходное положение, формы снова смыкаются и цикл повторяется.

Четырехпозиционный многоместный инжекционно-раздувной агрегат

модели АИПТ-0,5, предназначенный для изготовления из термопластов тары вместимостью до 0,5 дм3, в свою очередь содержит сварную станину 1 (рис.12.15), устанавливаемую на семи регулируемых виброопорах 2. На станине же располагаются следующие его функциональные устройства и механизмы:

Пластикационное устройство, червяк которого, находящийся в материальном цилиндре 3, приводится во вращение гидромотором 4 и продольно перемещается штоком гидроцилиндра 5, а также содержащее на материальном цилиндре нагревательные элементы сопротивления и бункер 6 с гранулированным материалом;

Блок измерительный 7, термореле 8 которого электрически связаны с нагревательными элементами сопротивления пластикационного устройства и обеспечивают установку на них по зонам требуемой температуры нагрева и автоматическое ее поддержание;

Револьверный стол 9, который несет на своих четырех гранях комплекты из трех оправок 10 и циклически поворачивается в плане на 90о от гидромотора с фиксацией положения, а также перемещается вертикально штоком расположенного под ним гидроцилиндра;

Механизм запирания 11, несущий на вертикально перемещающейся от гидроцилиндра верхней и неподвижной нижней плитах смыкающиеся литьевые трехместные полуформы 12, в формообразующих полостях которых соосно размещается первый комплект оправок 10;

Обогреваемая головка впрыска 13, закрепленная на сопле материального цилиндра 3 и обеспечивающая разделение потока подаваемого пластифицированного материала на три порции, а также их впрыск через литниковые каналы стыковочной колодки 14 в формообразующие полости сомкнутой литьевой формы 12, где на оправках 10 формуются ампулообразные заготовки;

Механизм смыкания 15, несущий на вертикально перемещающейся от гидроцилиндра верхней и неподвижной нижней плитах смыкающиеся раздувные трехместные полуформы 16, в формообразующих полостях которых соосно размещается второй комплект оправок 10 с отлитыми на них ампулообразными заготовками;

Блок 17, три гидроцилиндра которого подводят к смыкающейся раздувной форме 16 части, формирующие дно раздуваемых в ней изделий;

90