Материал: Використання структурованої води у відновній діяльності спортсмена

Внимание! Если размещение файла нарушает Ваши авторские права, то обязательно сообщите нам

.        Окисний механізм, що забезпечує роботу енергією від розщеплення жирів та жирних кислот, яким притаманна значно більша енергетична ємність.

Дані тесту репрезентативні за показниками:

1.      Амплітуди підйому рук.

2.      Часу їх утримання тонічною активністю.

3.      Здатності до розвитку [27].

Водневий показник pH можна визначити за допомогою індикаторів, які змінюють свій колір залежно від кислотності середовища або за допомогою портативних електроприладів. При цьому найбільш відомі лакмусові тести. Вони змінюють свій колір, який порівнюють з кольором рН-шкали, де кожен колір відповідає певному значенню рН.

Для більш точних вимірювань рН використовують спеціальні прилади - pH-метр або іономер, які вимірюють рН більш точно (до 0,01 одиниці). Спосіб відрізняється зручністю і високою точністю, дозволяє вимірювати pH непрозорих і кольорових розчинів і тому широко використовується.

рН слини - один з найбільш не підлягаючий впливу факторів. рН слини у здорової людини лежить в межах 6,0-7,9. Значення менше 6,0 говорять про окислення організму. Вимірювання рН слини слід проводити так: наберіть більше слини і покладіть лакмусовий папірець під язик приблизно на 1 хвилину, потім порівняйте колір індикатора з колірною шкалою.

Технічні характеристики електроактиватора води АП - 1:

.        Напруга живлення, В / Гц. 220/50;

.        Сила струму електролізу. А 0,2-0,7;

.        Час активації, хв, не більше 40;

.        Об'єм активованої води:

·        Аноліта, л 0,2-0,3;

·        Католіта, л 0,9-1,0

.        Споживана потужність. ВА, не більше 70;

.        Маса (без активованої води), кг. не більше 2,0.

Примітка: у процесі електрохімічної активації відбувається деяке зменшення обсягу аноліта в керамічній склянці за рахунок перетікання іонів води від анода до катода і відповідне збільшення обсягу католіта.

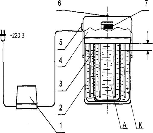
Пристрій і принцип роботи:

Електроактиватор складається з чотирьох основних частин (рис. 2.1):

.        Блоку живлення (поз.1);

.        Основної ємності (поз.2);

.        Керамічного склянки (поз.3), що вставляється в основну ємність;

.        Знімною верхньої кришки (поз.4) з електродами.

Блок живлення (поз. 1) являє собою трансформаторне джерело постійного струму з захистом від перевантаження по первинній та вторинній ланцюгах.

Основна ємність (поз. 2) виготовлена ​​з харчової пластмаси. У процесі електролізу в ній утворюється католіт - «жива» вода.

Керамічний стакан (поз. 3) виконує функцію діафрагми між катодом і анодом. У ньому утворюється аноліт - «мертва» вода.

У нижній частині кришки (поз. 4) на підставі з ізоляційного матеріалу встановлені електроди - два анода зі спеціальним хімічно стійким покриттям (чорні) і два катода з титану марки ВТ - 1 - 0 (світлі). Електроди в процесі експлуатації, завдяки використання спеціальних матеріалів, які довго не псуються і не піддаються електрохімічному руйнування.

На бічній поверхні знімною верхньої кришки електроактиватора встановлені стрілочний індикатор струму електроактивації (поз. 7) і утримувач з плавкою вставкою (поз. 5) на 1А (запобіжник), а на верхній поверхні - світловий індикатор (поз. 6) наявності напруження на електродах.

Загальний вигляд електроактиватора:

Рис. 2.1.

А - аноліт - «мертва» вода; К - католіт - «жива» вода.

Принцип роботи електроактиватора води АП-1 заснований на мембранному електролізу. В якості мембрани використовується конструкція у вигляді пористого керамічного стакана. Електроліз води - це хімічна реакція розкладання води на позитивні і негативні іони при пропущенні через неї струму від джерела постійної напруги. Природу аномальної реакційної здатності води пов'язана з унікальною сукупністю утворюючих при електролізі високоактивних метастабільних частинок, і з особливими фізичними умовами, що виникають в електрохімічному реакторі. При цьому змінюється вся система міжмолекулярних взаємодій, в тому числі і фізична структура води.

У процесі електролізу близько біля анода вода набуває кислотні властивості, а у катода-лужні.

З 1985 року активовану воду стали називати більш офіційно: кислотну «мертву» - анолітом, (від слова «анод») препарат А, який володіє бактерицидними властивостями.

Лужну «живу» - католітом (від слова «катод») препаратом К, який володіє стимулюючими властивостями.

Порядок роботи:

. Знімаємо верхню кришку з електродами.

. Встановлюємо керамічну склянку по центру основної ємності.

. Заливаємо воду в керамічну склянку до повного наповнення.

. Заливаємо воду в основну ємність таким чином, щоб її рівень був на 10-15 мм нижче верхнього краю керамічного стакана.

. Встановлюємо верхню кришку на основну ємність так, щоб стрілки-покажчики (поз. 1 рис. 2.2), розташовані на бічних поверхнях верхньої кришки та основної ємності, виявилися один навпроти одного, при цьому чорні аноди повинні бути всередині керамічного склянки, а світлі катоди - зовні його. Обережно закрийте верхню кришку на основну ємність до упору.

. Вмикаємо вилку шнура блоку живлення в розетку -220 В. Уважно запам'ятовуємо час включення. Про роботу електроактиватора сигналізує світіння індикатора напруги на електродах (поз.6 рис 2.1). Далі переконуємось візуально, що виділення бульбашок газу спостерігається на обох катодах.

Рис. 2.2.

Розташування стрілок-покажчиків при установці верхньої кришки на основну ємність.

поз. 1 - стрілка-покажчик.

. Контролюємо процес електроактивації за показаннями індикатора струму:

Зелена зона свідчить про нормальний струм електроактивації.

Жовта зона - струм електроактивації менше необхідного для нормального процесу. Потрібно виявити і усунути причину. Як правило досить замінити склянку, або збільшити час активації до 40 хвилин. При застосуванні бутильованої води може спостерігати ся низький струм електроактивації. Це свідчить про низький ступень мінералізації залитої в ємності води. В цьому випадку застосовуємо воду з іншого джерела.

Червона зона - має місце великий струм електроактивації. У цьому випадку потрібно провести кілька циклів електроактивації для оптимізації роботи керамічного склянки, або взяти воду з іншого джерела. Не потрібно заливати в ємності мінеральну воду та додавати в неї сіль. Час електроактивації скорочується і може становити 20 хвилин.

. Для отримання необхідної концентрації аноліта і католіта достатньо 30-40 хвилин роботи електроактиватора. Контролюємо роботу приладу АП-1, щоб визначити, скільки часу потрібно електроактиватору для приготування «живої» та «мертвої» води.

. Після закінчення необхідного часу електроактивації спочатку відключаємо вилку з розетки, потім обережно знімаємо верхню кришку з електродами, не допускається її перевертання, виймаємо керамічну склянку і зливаємо з нього аноліт («мертву» воду) в приготовлену ємність. Після чого переливаємо в іншу ємність католіт («живу» воду).

Додадкові рекомендації по роботі з електроактиватором:

. Не рекомендовано робота електроактиватора понад 30-40 хвилин, так як показники рН готових розчинів далі практично не змінюються, але відбувається непотрібний нагрів як розчинів, так і блоку живлення. Після закінчення цього часу електроактиватор слід відключити від мережі.

. Перед черговим циклом електроактивації витримувати паузу порядку 1/2 тривалості попереднього циклу.

. Основними причинами малого струму електроактивації є наявність відкладень солей жорсткості в порах керамічного склянки або незначна мінералізація залитої в ємності води. У зв'язку з цим необхідно провести відповідно ретельне відмивання керамічної склянки (див. примітку 7) або застосувати воду з іншого джерела, що має більш високу ступінь мінералізації. Допускається в керамічний склянку заливати слабкий (1г на 1 л води, не більше) розчин кухонної солі КаС1, одержуваний шляхом розчинення 1г солі (використовується мірка на 1 грам кухонної солі тонкого помелу) у скляній однолітровії банці. При цьому час електроактивації зменшується приблизно вдвічі (див. таблицю 2.2).

. Основною причиною великого струму електроактивації є надмірно висока ступінь мінералізації залитої в ємність води. У зв'язку з цим забороняється використовувати (заливати в дві ємкості) воду з добавкою солі або мінеральну воду.

У цьому випадку для електроактивації слід застосовувати чисту питну воду, а якщо вона поганої якості - кип'ячену воду, охолоджену до кімнатної температури.

За наявності великого струму електроактивації рекомендується провести кілька циклів роботи АП-1. Якщо склянка не має тріщин, то показання стрілочного індикатора вже через 1-2 хвилини значно знижується, стрілка перемішається в зелену зону.

. Світіння індикатора напруги на верхній кришці відсутнє у разі недостатнього (не до упору) закриття її на основну ємність і припиняється в разі перегоряння плавкої вставки (запобіжника).

. Після 40-60 хвилин відстою в католіті на дні ємності може спостерігатися білий осад солей жорсткості, які виділяються з водопровідної води в процесі електроактивації. Після використання католіта осад слід видалити (злити в каналізацію).

. У процесі роботи на катодах (світлі електроди) і керамічній склянці утворюється білий наліт солей, який періодично (після 300 ... 400 хвилин загального напрацювання, не рідше) необхідно видаляти столовим оцтом (допускається застосування 10% розчину соляної кислоти) наступним чином:

а) електроди очищають, поміщаючи їх в оцет, заливають в основну ємність. Важкодоступні місця очищають м'яким пензликом, змочуючи її в оцті;

б) керамічну склянку занурюють на годину в оцет. Після процедури відмивання залишки оцту ретельно змити теплою водою під краном.

Відпрацьований оцет використовується багаторазово.

. Аноди (чорні електроди) в процесі роботи самоочищаються. Забороняється механічний вплив на поверхню анодів щоб уникнути їх пошкодження.

. По закінченні циклу електроактивації забороняється тривале знаходження (зберігання) електродів в приготованих розчинах.

. По закінченні роботи електроди, банку, керамічну склянку просушити, зберігати прилад в сухому місці.

Застосування електроактивованої води:

Кількісна характеристика кислотності або лужності води є водний показник рН; який визначається активністю іонів водню. Дистильована вода нейтральна, має рН = 7. Чим менше одиниць рН, тим вода кисліші, чим більше-тим вона лужніше. Для аноліта рекомендується значення рН від 3.0 до 5,5 одиниць, а для католіта - від 8,5 до 10 одиниць.

Нижче наведені орієнтовні дані, що показують зміну показника рН по одержанню розчинів залежно від тривалості процесу електроактивації води:

Вихідна вода має показник 7,7рН і заливається в обидві ємності (таблиця 2.1):

Вихідна вода має показник 7,7рН і заливається в основну ємність, а в керамічний склянку заливається слабкий (1г на 1л) розчин кухонної солі МаС1 (таблиця 2.2).

Залежно від керамічної склянки, джерела води і ступеня її мінералізації показник рН аноліта і католіта у споживача можуть значно відрізнятися від вказаних. На результат впливає також ступінь забруднення пір керамічного склянки відкладеннями солей.

Таблиця 2.1.

Зміна показників рН по одержанню розчинів залежно від тривалості процесу електроактивації води

Час активації, хв.

Водневий показник, рН


Аноліт

Католіт

10

6,2

9,4

20

3,1

9,7

30

2,9

10,0


Таблиця 2.2.

Зміна показників рН по одержанню розчинів залежно від тривалості процесу електроактивації води

Час активації, хв.

Водневий показник, рН


Аноліт

Католіт

5

6,2

9,5

10

3,5

10,0

15

2,7

10,5

20

2,4

11,0

Опис pH-метра моделі PH-200:

Прилад PH-200 призначений для вимірювання рівня кислотності води (концентрації вільних іонів водню, водневий показник) і температури. Галузі і варіанти застосування pH-метрів: гідропоніка, акваріум істика, системи водопідготовки й очистки води, басейни і СПА, нагрівальні котли, наукові лабораторії, екологія, харчова промисловість, ресторанний бізнес, клінінг.

Величина pH - один із найважливіших показників якості води для визначення її стабільності, накипоутворювальних та корозійних властивостей, прогнозування хімічних і біологічних процесів, що відбуваються у природних водах.

.        функція вимірювання рівня кислотності pH і температури води;

.        напівавтоматичне калібрування по 3 точках;

.        діапазон вимірювання кислотності: 0-14 pH;

.        діапазон вимірювання температури: 0-80 °C (32-176 °F) ;

.        захисний ковпачок для зберігання електродів у розчині pH 4,01;

.        вологозахисний корпус, виконаний по класу захисту IP67;

.        функція Hold (утримання результатів вимірювання) ;

.        функція індикації розрядки акумулятора;

.        LCD-дисплей;

.        калібрування в заводських умовах по 3 точках із використанням буферних розчинів 4,7,10 Ph.

Технічні характеристики:

.        діапазон вимірювання: pH 0-14;

.        діапазон вимірювання температури: 0-80 °C; 32-150 °F;

.        ціна поділки: 0,01 pH, 0,1 °C/F;

.        похибка: ±0,02 % повної шкали;

.        температура вимірюваного середовища: від 0 до 100 °C;

.        змінний скляний електрод;

.        автоматична компенсація температури (ATC): від 0 до 80 °C;

.        живлення: батареї 3x1,5 V у комплекті;

.        тривалість роботи від комплекту батарей: понад 1000 годин безперервного використання;

.        клас захисту: IP67;

.        розміри: 185x34x34 мм;

.        вага: 96,4 г.

Воду залежно від рН (водневий показник) раціонально ділити на сім груп

Таблиця 2.3.

Таблиця класифікації вод за рН:

Група води

Значення pH

Сильнокисла

до 3,0

Кисла

від 3,0 до 5,0

Слабкокисла

від 5,0 до 6,5

Нейтральна

від 6,5 до 7,5

Слабколужна

від 7,5 до 8,5

Лужна

від 8,5 до 9,5

Сильнолужна

понад 9,5


Для математичного порівняльного аналізу показників визначаються наступні значення:

χ - середнє арифметичне значення величини показника;

δ - середнє квадратичне відхилення значення показника;- помилка середнього арифметичного.

1. ,

де S - знак підсумовування;- отримані в дослідженні значення (варіанти);

n - число варіант.

. ,

де Σ (xi - χ)2 - сума різниці квадратів між кожним показником і середньої арифметичної величиною;

n - число варіант.

. ,

де δ - середнє квадратичне відхилення значення показника;

n - число варіант.