Материал: Техобслуживание и ремонт карданной передачи ПМ 130 Б в условиях АТП

Внимание! Если размещение файла нарушает Ваши авторские права, то обязательно сообщите нам

Изношенные шлицы скользящей вилки как по наружному диаметру, так и по толщине также восстанавливают наплавкой под слоем флюса. Материалом для наплавки служит электродная проволока 0 2 мм марки Св-ЗОХГСА и флюс АН-348А мелкой грануляции.

При наплавке металла электродную проволоку устанавливают по середине впадины между шлицами. Для лучшего формирования шва на торцовую поверхность детали устанавливают медную шайбу толщиной 1-1,5 мм и диаметром на 3-5 мм больше диаметра шлиц детали

.6 Комплектование, сборка карданной передачи а/м ПМ 130 Б

Комплектование - часть производственного процесса, которая выполняется перед сборкой и предназначена для обеспечения непрерывности и повышения производительности процесса сборки, для ритмичного выпуска изделий требуемого и стабильного уровня качества и снижения трудоемкости и стоимости сборочных работ.

При комплектовании выполняют следующий комплекс работ:

накопление, учет и хранение новых, восстановленных и годных без ремонта деталей, сборочных единиц и комплектующих изделий, подачу заявок на недостающие составные части;

подбор составных частей сборочного комплекта (группы деталей, сборочных единиц и комплектующих изделий, составляющих то или иное изделие) по номенклатуре и количеству;

подбор сопряженных деталей по ремонтным размерам, размерным и массовым группам;

подбор и пригонку деталей в отдельных соединениях;

доставку сборочных комплектов к постам сборки до начала выполнения сборочных работ.

Различают три способа комплектования деталей: штучный, групповой и смешанный.

При штучном комплектовании к базовой детали подбирают сопрягаемую деталь исходя из величины зазора или натяга, допускаемого техническими условиями. Например, к блоку цилиндров подбирают поршни. При штучном подборе затрачивается много времени. Этот способ применяют на небольших универсальных ремонтных предприятиях.

При групповом комплектовании поле допусков размеров обеих сопрягаемых деталей разбивают на несколько интервалов, а детали по результатам измерений сортируют в соответствии с этими интервалами на размерные группы. Размерные

группы сопрягаемых деталей маркируют цифрами, буквами или красками. Групповое комплектование применяют для подбора ответственных деталей (гильз, поршней, поршневых пальцев, коленчатых валов, плунжерных пар).

При смешанном комплектовании деталей используют оба способа. Ответственные детали комплектуют групповым, а менее ответственные - штучным способом.

Способ комплектования деталей находится в тесной связи со способом обеспечения точности при сборке.

Наряду с тремя основными способами комплектования во избежание несбалансированности некоторые детали подбирают по массе (например, поршни двигателей внутреннего сгорания). Иногда комплектование сопровождается слесарно-подгоночными операциями.

Крупногабаритные детали и сборочные единицы (блок и головка цилиндров, картеры, детали кабины, кузова, рамы и др.) целесообразно доставлять на посты сборки, минуя комплектовочный участок.

При комплектовании на каждое собираемое изделие заполняется комплектовочная карта, в которой указываются: номера цеха, участка, рабочего места, где выполняются сборочные операции; обозначения деталей, сборочных единиц, материалов и комплектующих изделий; номера цехов, участков, складов, откуда поступают комплектующие единицы; количество деталей, материалов и сборочных единиц, подаваемых на рабочие места сборки за смену; нормы расхода материалов и комплектующих изделий и др. Кодированная запись указанной информации позволяет применять вычислительную технику при ее обработке.

На комплектовочном участке имеются столы для контроля деталей, стеллажи и шкафы для хранения инструмента и приспособлений, слесарные верстаки, прессы и т.д. Рабочие места рекомендуется специализировать по наименованиям агрегатов, узлов. На них должны быть соответствующие чертежи, таблицы посадок деталей, каталоги деталей, входящих в узлы, обязательно наличие местного освещения.

Требуемая точность сборки изделий достигается одним из пяти методов: полной, неполной и групповой взаимозаменяемости, регулирования и пригонки.

Виды сборки изделий классифицируются по следующим основным признакам: объект сборки, последовательность сборки, точность сборки, уровень механизации и автоматизации процесса сборки, подвижность изделия при сборке, организация производства.

По объекту сборки сборка подразделяется на узловую и общую. Примеры узловой сборки - сборка поршня с шатуном и кольцами, коленчатого вала с маховиком и сцеплением, головки цилиндров с клапанными механизмами, жидкостного и масляного насосов; примеры общей сборки - сборка агрегатов из узлов, сборка автомобиля из агрегатов и узлов.

По последовательности сборки выделяют последовательную (сборочные операции выполняются одна за другой), параллельную (операции выполняются одновременно) и последовательно-параллельную (операции выполняются и одна за другой, и одновременно).

По уровню механизации и автоматизации процесса сборку разделяют на ручную, механизированную, автоматизированную, автоматическую.

По состоянию объекта сборки выделяют стационарную (неподвижную) и подвижную сборку с непрерывным или периодическим перемещением собираемого изделия между рабочими местами сборки.

По организации производства выделяют типовую поточную, групповую (поточную и непоточную) и единичную как наиболее распространенный вид организации сборки на существующих ремонтных предприятиях.

Испытание отремонтированных деталей производится как на этапе разработки метода восстановления, так и при серийном восстановлении деталей на производстве. При разработке метода восстановления отремонтированные детали испытывают на точность, потери на трение, прочность, жесткость, теплостойкость, износостойкость и виброустойчивость.

Испытание деталей при разработке методов восстановления проводят на экспериментальных установках, которые позволяют испытывать образцы, использовать форсированные режимы, проводить точные измерения, и в натурных узлах и машинах, позволяющих выполнять испытания в условиях, близких к эксплуатационным. Испытания отремонтированных деталей в условиях производства сводятся к проверке точности обработки и неразрушающему контролю.

Сборка карданной передачи а/м ПМ 130 Б

Карданную передачу собирают в два этапа: сначала выполняют сборку узлов, а затем общую сборку передачи. Фланец-вилку собирают с крестовиной в такой последовательности. Ввернув масленку 8 (см. рис. 11) и предохранительный клапан 7 в крестовину 6, ее устанавливают двумя шипами в отверстия фланца-вилки 1, следя за тем, чтобы предохранительный клапан 7 был обращен в сторону фланца- вилки. На шипы крестовины 6 устанавливают подшипники 5 кардана с сальником в сборе и запрессовывают в отверстия фланца-вилки /, располагая пазы на торце подшипников параллельно продольной оси фланца-вилки. Затем устанавливают опорные пластины 4 подшипников, пластины-замки 3, ввертывают болты крепления и стопорят их, загибая на грани концы пластин-замков. Сборка фланца-вилки 21 аналогична сборке фланца-вилки 1.

При сборке передней и задней крышек с сальником и обоймой сальника в гнездо крышки 31 устанавливают уплотнительное кольцо 32 сальника и обойму 33 сальника. Затем обойму сальника запрессовывают и кернят в трех точках по окружности.

Сборку подшипника с передней и задней крышками выполняют в таком порядке. В заднюю крышку 35 устанавливают и запрессовывают подшипник 34. В подсобранный узел вставляют переднюю крышку 31 в сборе с кольцом 32 сальника и обойму 33 и завальцовывают -по окружности, обеспечивая герметичность соединения.

При сборке промежуточной опоры карданного вала в заднюю крышку 35 ввертывают масленку. В подушку 29 опоры устанавливают подшипник 34 в сборе с крышками, фиксируя его положение и предохраняя от проворачивания скобами 28 крышек, входящими в пазы подушки опоры. В подсобранный узел закладывают смазку 1-13с, (НТУ НП 5-58) или смазку ЯНЗ-2 (ГОСТ 9432-60) в количестве 150 г и вставляют распорные втулки 301 и 21 фланцы вилки; 2- болт; 3-пластина-замок; 4-опорная пластина; 5-подшипник в сборе с сальником; 6-крестовина кардана; 7-предохранительный клапан; 8-масленка; 9-вилка вала; 10-карданный промежуточный вал с вилкой и шлицевой втулкой в сборе; 11-шлицевая втулка; 12-передний отражатель сальника; 13-опора промежуточного вала; 14-задний отражатель сальника; 15-шайба; 16-сальник; 17и 19-шайба кольца сальника; 20-гайка распорной втулки; 22-карданный вал заднего моста с вилками в сборе; 23-скользящая вилка; 24-пружинное кольцо; 25-защитная муфта; 26-хомут; 27-пробка; 28-скоба; 29-подушка опоры; 30-распорная втулка; 31-передняя крышка опоры; 32-уплотнительное кольцо; 33-обойма; 34-подшипник опоры; 35-задняя крышка опоры; 36-масленка

Рисунок 11 Детали карданной передачи

Сборка карданного вала заднего моста. Общую сборку карданного вала заднего моста выполняют на стенде (см. рис. 12). В отверстия вилки 9 (см. рис. 11) карданного вала устанавливают шипы крестовины 6 в сборе с фланцем-вилкой 2/. На шипы крестовины устанавливают подшипник 5 кардана с сальниками в сборе и запрессовывают в отверстия вилки карданного вала, располагая пазы на торце подшипников параллельно продольной оси вилки трубы карданного вала.

Затем устанавливают опорные пластины 4 подшипников, пластины-замки <3, ввертывают болты крепления и стопорят их, загибая на грани концы пластин-замков. Собирают вилку 9 другого конца карданного вала со скользящей вилкой 23 в сборе с крестовиной. Технологический процесс сборки этого сопряжения аналогичен описанному выше.

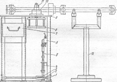
Рисунок 12 Стенд для разборки и сборки карданной передачи

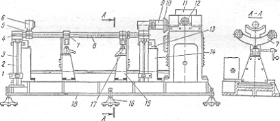
После сборки проводят динамическую балансировку собранного узла на станке (рис. 13), который состоит из плиты 18 и маятниковой рамы 8, установленной на четырех вертикальных упругих стержнях 3, обеспечивающих ее колебание в горизонтальной плоскости. На продольных трубах маятниковой рамы 8 установлены кронштейн и передняя бабка 9, закрепленная на кронштейне 4. Задняя бабка 6 находится на передвижной траверсе 5, что дает возможность осуществлять динамическую балансировку карданных валов различной длины. Шпиндели бабок установлены на прецизионных шариковых подшипниках. Вращение шпинделя передней бабки 9 происходит от электродвигателя, установленного в станине, через клиноременную передачу и промежуточный вал, на котором установлен лимб 10 (градуированный в градусах диск). На станине, закрепленной на плите 18, установлен милливольтметр 11 и лимб 12 коммутатора-выпрямителя, приводимого во вращение от того же электродвигателя, что и промежуточный вал. Кроме этого, на плите 18 станка установлены две стойки 15 с выдвижными штифтами-фиксатора 17, обеспечивающими закрепление переднего и заднего концов маятниковой рамы в зависимости от балансировки переднего или заднего конца карданного вала. На плите 18 станка закреплены стойки 14, на которых установлены магнитоэлектрические датчики 13, стержни которых соединены с концами маятниковой рамы. Для предотвращения резонансных колебаний рамы под кронштейнами 4 установлены демпферы 2, наполненные маслом.

-хомут; 2-демпферы; 3-упругий стержень; 4-кронштейн; 5-передвижная траверса; 6-задняя бабка; 7-перекладина; 8-маятниковая рама; 9-передняя ведущая бабка; 10-лимб-диск; 11-милливольтметр; 12-лимб вала коммутатора-выпрямителя; 13-магнитоэлектрический датчик; 14-неподвижная стойка; 15-стойка фиксатора; 16-опора; 17-фиксатор; 18-опорная плита

Рисунок 13 Станок для динамической балансировки карданных валов

При динамической балансировке карданный вал в сборе со скользящей вилкой устанавливают и закрепляют на станке. Один конец карданного вала соединяют фланцем-вилкой с фланцем передней ведущей бабки, а другой конец опорной шейки скользящей вилки со шлицевой втулкой задней бабки. Затем проверяют легкость вращения карданного вала и при помощи фиксатора закрепляют один конец маятниковой рамы станка. Включив станок, вращают лимб выпрямителя против часовой стрелки, доведя стрелку милливольтметра до максимального значения. Показание милливольтметра будет соответствовать величине дисбаланса. Шкала милливольтметра градуируется в грамм-сантиметрах или граммах уравновешивающего груза. Продолжая вращение лимба выпрямителя против часовой стрелки, доводят показание милливольтметра до нулевого значения и останавливают станок. По показанию лимба выпрямителя определяют величину углов смещения (угол смещения дисбаланса) и, поворачивая вручную карданный вал, устанавливают эту величину на лимбе промежуточного вала.

При этом место приварки балансировочной пластины будет находиться на верху карданного вала, а утяжеленная часть внизу в плоскости коррекции. Затем устанавливают и привязывают балансировочную пластину тонкой проволокой на расстоянии 10 мм от сварочного шва, включают станок и проверяют сбалансированность конца карданного вала с пластиной.

Величина дисбаланса должна быть не более 70 гсм. Балансировочные пластины после приваривают к поверхности трубы. Затем, освобождая один и закрепляя другой конец маятниковой, рамы фиксатором стойки, осуществляют динамическую балансировку другого конца карданного вала согласно технологической последовательности, описанной выше.

После динамической балансировки карданный вал снимают с балансировочного станка и устанавливают на сборочный стенд. На шейку скользящей вилки 23 (см. рис. 11) устанавливают защитную муфту 25 шлицев карданного вала, гайку 20 распорной втулки, разрезные шайбы 17 и 19, кольцо 18 сальника, резиновый сальник 16 и разрезную шайбу 15. Кольцо сальника и разрезные шайбы вводят в гнездо распорной гайки втулки. Муфту шлицев закрепляют на шейке скользящей вилки шплинтп- роволокой в два оборота, скручивая концы в три-четыре витка и обжимая их по поверхности. Затем, освобождая пневматический зажим 11 (см. рис. 13) стенда, снимают карданный вал заднего моста в сборе и устанавливают на направляющие ролики подставки 12 к стенду.

Сборка промежуточного карданного вала. Сборку промежуточного карданного вала выполняют на стенде (см. рис. 13). В отверстия вилки 9 (см. рис. 11) карданного вала устанавливают шипы крестовины 6 в сборе с фланцем-вилкой 1. На шипы крестовины устанавливают подшипники 5 кардана с сальником в сборе и запрессовывают в отверстия вилки карданного вала, располагая пазы на торце подшипника параллельно продольной оси вилки трубы карданного вала. Устанавливают опорные пластины 4 подшипников, пластины-замки 3, ввертывают болты крепления и стопорят их, загибая на грани концы пластин-замков. Промежуточный карданный вал в сборе снимают со стенда, устанавливают на станок (см. рис. 13) и проводят динамическую балансировку. Дополнением является то, что на маятниковую раму 8 станка устанавливают приспособление, показанное на рис. 137. Приспособление состоит из передвижной траверсы /, фиксированной на трубах маятниковой рамы стенда, на которой закреплены основание 2 и люнет 10 в сборе с защитным хомутом 4. Защитный хомут удерживает от выпадания оправку 5, на переднем конце которой установлены втулки 8 с двумя выдвижными пластинами 9,конусная втулка 7 и разжимная гайка 6, а на заднем конце - груз 3, заменяющий массу карданного сочленения противоположного конца вала. Карданный вал вращается посадочной шейкой распорных втулок подшипника опоры в опорных подшипниках люнета 10. При динамической балансировке открывают люнет 10, карданный вал отверстием шлицевой втулки устанавливают на втулку 8 оправки 5. Передний конец карданного вала соединяют фланцем-вилкой с фланцем передней ведущей бабки стенда. Закрепляют откидной прижим люнета 10. Удерживая оправку 5 от проворачивания и вращая разжимную гайку 6, вводят пластины 9 конусной втулкой 7 в пазы шлицевой втулки карданного вала. Затем поочередно выполняют динамическую балансировку переднего и заднего концов промежуточного карданного вала. Дисбаланс промежуточного карданного вала в сборе с карданом и шлицевой втулкой на должен превышать 50 гс-см. Допустимый дисбаланс должен быть не более 70 гс-см.