Материал: Строительные машины (в вопросах и ответах)

Внимание! Если размещение файла нарушает Ваши авторские права, то обязательно сообщите нам

тельно-монтажных, ремонтных, санитарно-технических, отделочных, электромонтажных и дорожных работ.

Основными параметрами являются: энергия единичного удара (Дж) и частота ударов (Гц). Все современные машины ударного, ударно-вращательного действия вибро-, шумо- и электробезопасны.

Электрические и электромагнитные молотки предназначены для пробивки проемов, ниш и отверстий; дробления канавок в перекрытиях, кирпичных и бетонных стенах при прокладке кабелей, газовых, водопроводных и канализационных труб; насечки и очистки каменных, бетонных или кирпичных поверхностей при подготовке их к оштукатуриванию; рыхления твердых слежавшихся, каменистых и мерзлых грунтов, взламывания дорожных покрытий; разрушения фундаментов при устройстве котлованов, колодцев, траншей

иремонте коммуникаций.

Вмолотках используется энергия движущегося возвратнопоступательного бойка (ударника), наносящего с определенной частотой удары по хвостовику рабочего инструмента. Различают электрические (компрессионно-вакуумные) и электромагнитные (фугальные) молотки. В электрических молотках движение бойка (ударника) обеспечивается последовательной работой поршня и воздушной подушки. В электромагнитном молотке боек движется воз- вратно-поступательно под воздействием переменного магнитного поля линейного электромагнитного двигателя (соленоида). В электрических молотках сила отдачи гасится воздушной подушкой, а вот вибробезопасность обеспечивается в основном введением в конструкцию машины инерционного преобразователя импульса сил отдачи в виде «тяжелого» буфера на пружине и подвески ударного узла

вкорпусе на амортизаторах.

Электрические молотки состоят из электродвигателя с вентиля-

тором, редуктором,

кривошипно-шатунного механизма ствола

с компрессионно-вакуумным ударным механизмом,

узла крепления

сменного рабочего

инструмента (пики, зубила и

др.), рукоятки

с курковым выключателем и боковой дополнительной рукоятки.

236

Электрический молоток работает следующим образом. При движении поршня от бойка из нижней мертвой точки в полости цилиндра между торцом бойка и поршнем создается разряжение. Боек в начальный момент из-за малой степени разряжения остается на месте. Затем с увеличением разности давлений в верхней и нижней частях бойка он начинает с нарастающей скоростью перемещаться вверх за поршнем. Поршень замедляет движение, его скорость доходит до нуля, а скорость бойка по инерции продолжает нарастать. При обратном движении поршня происходит сжатие воздушной подушки и возрастает давление между бойком и поршнем, в результате чего скорость бойка уменьшается до нуля, а затем под действием сжатой воздушной подушки боек с нарастающей скоростью устремляется вниз и ударяет по хвостовику рабочего инструмента. В последующем рабочий цикл повторяется.

Электромагнитный молоток (рис. 164) состоит из пластмассового корпуса, ударного механизма с магнитопроводом, двумя магнитными катушками прямого и обратного хода, узла крепления рабочего инструмента и однофазного синхронного электродвигателя с вентилятором. Боек осуществляет возвратно-поступательные движения по оси катушек в гильзе под воздействием переменного магнитного поля и наносит удары по хвостовику рабочего инструмента.

Энергия удара электромагнитного молотка 4,5 Дж, частота ударов 50 Гц, потребляемая мощность 0,6 кВт.

Электрические ломы предназначены для разрушения бетона, железобетона, кирпичной кладки, асфальтобетона, каменистого

имерзлого грунтов. Они аналогичны по конструкции электрическим молоткам и отличаются от них энергией удара и мощностью приводного электродвигателя. Энергия удара ломом не менее 40 Дж, частота ударов 19…20 Гц.

Электрические и электромагнитные перфораторы (рис. 165)

предназначены для прорезки отверстий и проемов в междуэтажных перекрытиях и перегородках зданий при монтаже трубопроводов

ивентиляционных систем, для пробивки борозд (штроб) для скрытой проводки и очистки поверхностей в конструкциях искусствен-

237

ных и естественных строительных материалов, разрушения горных пород, а также сверления отверстий в различных материалах, установки дюбелей, завинчивания винтов и шурупов, рубки металла, обработки дерева и других работ.

а

б

Рис. 164. Электромагнитный молоток: а – общий вид; б – принципиальная схема; 1 – пика; 2 – ударник; 3 – рабочий инструмент; 4 – хвостовик; 5 – магнитные катушки прямого хода; 6 – боек; 7 – пластмассовый корпус; 8 – магнитные катушки обратного хода; 9 – массивный буфер; 10 – пружина; 11 – эластичные амортизаторы; 12 – выключатель; 13 – задняя рукоятка; 14 – однофазный асинхронный электродвигатель; 15 – передняя рукоятка; 16 – трамбующий башмак; 17 – шлямбур; 18

зубило; 19 – наконечник шлямбура; 20 – наконечник пики

Перфораторы отличаются от молотков тем, что кроме ударного узла имеют механизм вращения сменного рабочего инструмента – бура, сверла, отвертки.

Для выполнения различных технологических операций перфораторы комплектуются сменными рабочими инструментами: шнековыми бурами, буровыми коронками, пиками, ломами, штробниками, бугардами, зубилами, сверлами различных типов

238

по металлу и дереву, зенкерами, топориками и стамесками для обработки дерева, приспособлениями для забивки дюбелей, завинчивания винтов и шурупов.

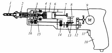
Рис. 165. Компрессионно-вакуумный перфоратор: 1 – рабочий инструмент; 2 – механизм; 3 – фрикционная муфта предельного момента; 4 – боек; 5 – цилиндр; 6 – поршень; 7 – шатун; 8 – кривошип; 9 – однофазный коллекторный электродвигатель; 10 – основная рукоятка; 11 – выключатель; 12, 14, 16 – цилиндрические шестерни; 13 – конические

шестерни; 15 – переходник

Электрические перфораторы предназначены для работы

вударном, ударно-вращательном и вращательном режимах, а также

врежиме винтоверта. Конструктивное исполнение электрического перфоратора объединяет вышерассмотренные конструкции электрического молотка и электродрели. Особенностью является то, что при работе в ударном и ударно-вращательном режимах перфоратор может автоматически переходить на холостой ход (безударный режим) при прекращении нажатия на рукоятку и смещении рабочего инструмента вниз. При этом боек захватывается пружинами с кольцом и фиксируется в этом положении.

Электрические перфораторы развивают энергию удара бойка 1,0…2,0 Дж при частоте ударов бойка 25…40 Гц и потребляемой мощности 0,35…0,45 кВт. Диаметр пробуриваемых отверстий 8…16 мм, глубина бурения 100…200 мм, средняя скорость бурения 90…100 мм/мин.

239

Электромагнитный перфоратор (рис. 166) с энергией удара 2,5 Дж работает в трех режимах: ударном, ударно-вращательном и вращательном. Конструктивное исполнение электромагнитного перфоратора объединяет вышерассмотренные конструкции электрического молотка и электродрели.

Рис. 166. Электромагнитный перфоратор: 1 – рабочий инструмент; 2 – пластмассовый корпус; 3 – муфта предельного момента; 4 – боек; 5 – магнитная катушка; 6 – буфер; 7 – амортизатор; 8 – основная рукоятка; 9 – электродвигатель; 10 – редуктор

Энергия удара бойка электромагнитных перфораторов 2,5 Дж, частота ударов 50 Гц, максимальный диаметр пробуриваемых отверстий до 80 мм.

Электрические трамбовки (рис. 167) представляют собой вы-

сокоманевренные малогабаритные уплотняющие машины, предназначенные для искусственного уплотнения связных и несвязных грунтов в труднодоступных и стесненных местах, при засыпке траншей после укладки подземных коммуникаций, утрамбовки

240