Материал: Погорелов В.И.-Прочность и устойчивость тонкостенных конструкций

Внимание! Если размещение файла нарушает Ваши авторские права, то обязательно сообщите нам

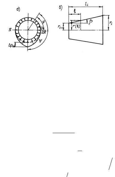
значение давления, ψ – угол, отсчитываемый от pm против часовой стрелки.

pα=0

 

 

Рис. 16. Аппроксимация давления в поперечном сечении

 

Тогда погонная аэродинамическая нагрузка равна:

 

αqSi

cαyi

= −r(ξ)2π

pa Sinϕdϕ =r(ξ)2π

pmSin2ϕdϕ = π

pmr(ξ) .

x

 

0

π

2

 

Так как r(ξ) = ri 1 + ξtgβ (рис. 16,б),

то подъемная сила i-го

участка головного отсека выражается через погонную аэродинамическую нагрузку так:

li

α

 

π

li

π

 

Yi = qSi

cyi

dξ =

pm (ri1 + ξtgβ)dξ =

pmli (ri + ri1) .

∂ξ

2

4

0

 

0

 

 

 

 

 

 

Отсюда максимальное значение несимметричной составляющей аэродинамического давления равно:

pm = πli (r4i Y+i ri1 ) .

Для определения массовой нагрузки необходимо найти попе-

речные перегрузки по формуле ny1 = n0y1 + εgz (xm x1) , в которой

координата центра масс отсека

x

 

 

3

m

x

 

+

2

m

 

x

 

m , а

m

=

mi

k

 

 

 

 

i

 

 

 

 

mk

 

 

 

 

i=1

 

 

 

 

k=1

 

 

 

 

перегрузка центра масс n0y

=Y mg ,

угловое

 

ускорение

1

εz =Y (xд xm )I z , массовый момент инерции

39

3

2

Iz = mi (xm xmi )2

+ mk (xm xmk )2 .

i=1

k =1

В записанных выражениях индексом i отмечены масса и координата центра масс участка, а индексом k – масса и координата центра масс сосредоточенного груза. Теперь известны все вели-

чины, с помощью которых можно

определить перерезывающие

силы на границах участков (δ(i k) =1, i k;

δ(i k) = 0, i < k) :

i

i

2

 

Qi = Y j g m j nyj g mk nyk

δ(i k) ,

j=1

j=1

k=1

 

а также изгибающие моменты

 

 

i

i

2

 

Mi = Yj (xi xдj )

g mjnyj (xi xmj ) g mk nyk (xi xmk )δ(i k) .

j=1

j=1

k=1

 

Рис. 17. Эпюра внутренних усилий при несимметричном обтекании ГО

На рис. 17 построены

cα

эпюры: αqSi xyi – погонной

аэродинамической нагрузки участков; pmax = pα=0 + pm

– максимального аэродинамического давления; ny1

поперечных перегрузок; перерезывающих сил Q и изгибающих моментов M; осевых сил N, определяемых по формулам, аналогичным расчетному случаю с максимальными осевыми перегрузками и нулевым углом атаки. Меридиональные напряжения в любом сечении отсека

σ1 =

f

(N ± 2M R) ,

а

 

2πRδ

 

= ppR2

 

тангенциальные σ2

δ,

где

p p = fpmax

расчетное

40

давление. Расчет оболочек аналогичен расчетному случаю, соответствующему максимальным осевым перегрузкам.

3. УДАРНОЕ НАГРУЖЕНИЕ КОРПУСА

Корпус ракеты на активном участке траектории или головной отсек на участке входа в плотные слои атмосферы могут оказаться в зоне облучения лазером или подрыва обычного и ядерного зарядов. С точки зрения несущей способности конструкции наиболее опасен силовой и тепловой удар на ее поверхности. Для оценки поведения конструкции в подобных случаях в этом разделе рассматриваются особенности расчета поля напряжений и деформаций в рамках линейной теории упругости.

3.1. Физические процессы в атмосфере при ядерном взрыве

При подрыве атомного заряда в атмосфере выделяется около 4·1015 Дж/Мт тротилового эквивалента [19]. На ранней стадии воздействия взрыва на корпус ракеты наибольший интерес представляют гамма-лучи и нейтроны, возникающие в момент деления и синтеза ядерного вещества. Так как выделение энергии происходит практически мгновенно и в малом точечном объеме, то в области взрыва возникает температура в несколько миллионов градусов, а сами продукты взрыва образуют высокотемпературную ионизированную плазму высокой плотности. Эта плазма, которую называют ядерной 1 (рис. 18), содержит электроны, совершающие быстрые колебания, что, в свою очередь, приводит к возбуждению электромагнитных импульсов в диапазоне радиоволн. Благодаря торможению колеблющихся электронов, ядерная плазма излучает также и рентгеновские лучи, которые проникают в окружающий зону взрыва воздух и ионизируют его, образуя плазму с низкими температурами и плотностью, называемую рентгеновской плазмой 2 [19]. Огненный шар 6 с ядерной плазмой в середине и рентгеновской по периферии продолжает увеличиваться в размерах, а температура внутри него все время уменьшается, что приводит к сокращению длины свободного пробега фотонов. И, наконец, когда длина свободного пробега становится меньше размеров огненного шара, рост его за счет переноса энергии излучением прекращается и дальнейшие про-

41

цессы, протекающие в зоне взрыва, определяются гидродинамическими явлениями. Поскольку плотности и давления в ядерной и рентгеновской плазме существенно различны, то процесс увеличения размеров огненного шара 6 за счет рентгеновского излучения сопровождается также образованием ударной волны 3 в ядерной плазме. Эта ударная волна движется по рентгеновской плазме, передавая ей часть своей энергии, и образует фронт радиации 4.

Рис. 18. Схема эволюции ядерного взрыва

После прекращения роста размеров шара из-за излучения на его поверхности образуется внешняя ударная волна 5, которая с большой скоростью распространяется по окружающему воздуху, вызывая его нагрев и свечение. Обычно к моменту отделения внешней ударной волны от огненного шара внутренняя ударная волна 3 в ядерной плазме успевает слиться с ней в единое целое 7.

Если взрыв происходит на большой высоте, где отсутствует атмосфера, то внутренняя и внешняя ударные волны не возникают, а рентгеновское излучение распространяется на значительные расстояния без образования плотной ядерной плазмы. Таким образом, на различных этапах развития ядерного взрыва на корпус ракеты воздействуют следующие факторы:

нейтронное или гамма-излучение,

электромагнитный импульс,

рентгеновское и тепловое излучение,

ударная волна (отсутствует на больших высотах).

42

Облучение конструкции нейтронами сопровождается изменением структуры и свойств конструкционных материалов, из которых изготовлена ракета. Происходят изменение формы кристаллической решетки, ионизация и возбуждение атомов, местный разогрев, что сопровождается увеличением электрического и теплового сопротивления, твердости и прочности материалов. Наибольшее воздействие нейтроны оказывают на полупроводниковые приборы, снижая их коэффициент усиления, напряжение пробоя и т.п., так как малейшие изменения долей примесей веществ, содержащихся в них, приводят к существенным изменениям их рабочих характеристик. При поглощении нейтронов ядрами возникают наведенные эффекты, связанные с излучением вторичных гамма-лучей.

Первичные и наведенные гамма-лучи ионизируют вещество, освобождая электроны, являющиеся источником наведенных ложных сигналов и шумов в электрических цепях системы автоматики ракеты.

Электромагнитный импульс генерирует в электрических цепях ложные сигналы, которые приводят к преждевременному срабатыванию автоматики или выходу ее из строя. Кроме того, в элементах конструкции и электрических цепях возникают значительные индукционные токи, служащие источником дополнительного нагрева.

Рентгеновское и тепловое излучения нагревают конструкции. Однако тепловая радиация приводит только к поверхностному нагреву и оплавлению, а рентгеновские лучи могут проникнуть на значительную глубину. По толщине конструкция прогревается неравномерно, что служит причиной возникновения нежелательных температурных напряжений.

Воздействие ударной волны на ракету имеет импульсный характер с большим перепадом давлений на ее фронте и наиболее опасно в том случае, когда ракета воспринимает боковой взрыв.

Таким образом, в той или иной степени практически все факторы, сопровождающие ядерный взрыв, могут уменьшить несущую способность ракеты. Более того, суммарное воздействие нескольких факторов может вывести ракету из строя даже в том случае, когда ее конструкция не теряет несущей способности при воздействии каждого из факторов по отдельности. Рассмотрим сначала напряженное состояние конструкции корпуса при нагру-

43