Материал: Методичка ТОЭ часть вторая

Внимание! Если размещение файла нарушает Ваши авторские права, то обязательно сообщите нам

Глава 2. Четырехполюсники и электрические фильтры

2.1. Основные определения. Формы записи уравнений пассивного четырехполюсника

Четырехполюсник – это часть схемы произвольной конфигурации, имеющая две пары зажимов, обычно называемые входными и выходными. Примерами четырыхполюсника являются трансформатор, усилитель, потенциометр, линия электропередачи и другие электротехнические устройства, у которых можно выделить две пары полюсов. Четырехполюсник является передаточным звеном между источником питания, который присоединяется к входным зажимам, и нагрузкой, которая присоединяется к выходным зажимам. В общем случае четырехполюсники можно разделить на активные, в структуру которых входят источники энергии, и пассивные, ветви которых не содержат источников энергии. В данном разделе рассматриваются элементы теории пассивных четырехполюсников. Пассивный четырехполюсник будем обозначать прямоугольником с буквой П (рис.2.1), у которого имеется два входных зажима

1,1' и два выходных зажима 2,2'. Входной ток обозначим I1 , входное напряжение - U1, ток и напряжение на выходе - I2 и U 2 .

Для записи уравнений четырехполюсника выделим в произвольной схеме ветвь с единственным источником энергии и любую другую ветвь с некоторым сопротивлением Z 2 (рис. 2.1,а).

а)

б)

 

Рис.2.1

 

В соответствии с принципом компенсации заменим исходное сопротив-

ление Z 2 источником с напряжением

U2

I2 Z 2 (рис. 2.1,б). Тогда на основа-

 

 

 

 

 

нии метода наложения для цепи на рис. 2.1,б можно записать:

 

I1

Y11U1

Y12U2 ;

(2.1)

 

 

 

 

 

I2

Y 21U1

Y 22U2 .

(2.2)

 

 

 

 

 

Решая полученные уравнения (2.1) и (2.2) относительно напряжения и тока на первичных зажимах, получим

41

 

 

 

 

 

 

 

 

 

Y 22

 

 

 

1

 

 

 

 

 

 

 

 

 

 

 

 

U1

 

 

Y 21

U2

 

 

 

 

I2 ;

 

 

 

 

 

 

 

 

 

 

 

 

 

 

 

 

 

 

 

Y 21

 

 

 

 

 

 

 

 

 

Y 22

 

1

 

 

 

 

 

 

 

 

Y 11Y 22

Y 12 Y 21

 

Y 11

 

 

I1

Y 11

Y 21

U2

Y 21

I2

 

 

Y 12U2

 

 

 

 

Y 21

 

U 2

Y 21

I

2 .

Преобразуем полученные уравнения:

 

 

 

 

 

 

 

 

 

 

 

 

 

 

 

 

 

 

U1

AU2

BI2 ;

 

 

 

 

 

(2.3)

 

 

 

 

 

 

 

 

 

 

 

 

 

 

 

 

 

 

 

 

 

 

 

 

I1

CU2

DI2 ,

 

 

 

 

 

(2.4)

 

 

 

 

 

 

 

 

 

 

 

 

 

 

 

 

 

 

 

где

A

Y 22 Y 21 ;

B

1 Y 21 ;

 

 

C

Y11Y 22

Y12 Y 21

Y 21 ;

D

Y11 Y 21 -

коэффициенты четырехполюсника.

 

 

 

 

 

 

 

 

 

 

 

 

 

 

Учитывая, что в соответствии с принципом взаимности Y12

Y 21 , полу-

чаем соотношение связи коэффициентов четырехполюсника между собой

 

 

 

 

AD

BC

 

Y 22 Y11

 

Y11Y 22

Y12 Y 21

1.

 

 

(2.5)

 

 

 

 

 

 

 

 

 

 

 

 

 

 

 

 

 

 

 

 

 

Y 21Y 21

 

 

 

 

Y 21Y 21

 

 

 

 

 

 

 

 

 

 

 

 

 

 

 

 

 

 

 

Уравнения (2.3) и (2.4) представляют собой основные уравнения четырехполюсника, называемые уравнениями четырехполюсника в А-форме (табл.1). Существует шесть форм записи уравнений пассивного четырехполюс-

ника, который характеризуется двумя напряжениями U1 и U 2 и двумя тока-

ми I1 и I2 , причем любые две величины можно выразить через остальные. Так

как число сочетаний из четырех по два равно шести, то и возможно шесть форм записи уравнений пассивного четырехполюсника, которые приведены в табл. 1. Положительные направления токов для различных форм записи уравнений приведены на рис. 2.2.

Рис.2.2

Выбор той или иной формы уравнений определяется областью и типом решаемой задачи.

42

 

 

 

 

 

 

 

 

 

 

 

 

 

 

 

 

 

 

 

Таблица 2.1

Форма

Уравнения

 

 

 

 

 

 

 

 

Связь с коэффициентами

 

 

 

 

 

 

 

 

 

 

 

 

 

основных уравнений

 

 

 

 

 

 

 

 

 

 

 

;

 

 

 

 

 

 

 

 

 

U1

A11U2

A12 I2

 

 

 

 

 

 

 

 

 

А-форма

 

 

 

 

 

 

 

 

 

 

 

 

 

 

 

 

 

 

 

 

I

A U

A I

;

 

 

 

 

 

 

 

 

 

 

 

1

 

21

 

2

22

2

 

 

 

 

 

 

 

 

 

 

 

 

I

Y U

Y

U

2

;

 

 

 

D B ; Y12

1 B ;

 

 

1

 

11

 

1

12

 

 

 

Y11

 

Y-форма

 

 

 

 

 

 

 

 

 

 

 

 

 

 

 

 

 

 

 

 

 

 

 

Y 12

Y 21 ; Y 22

A B ;

 

 

 

 

 

 

 

 

 

;

 

I2

Y 21U1

Y 22U2

 

 

 

 

 

 

 

 

 

 

 

 

 

 

 

 

;

Z11

A C ; Z12

1 C ;

 

U1

Z11I1

Z12 I2

 

 

 

 

 

 

 

 

 

Z-форма

 

 

 

 

 

 

 

 

 

 

 

 

 

 

 

 

 

 

 

 

 

 

 

 

 

 

 

 

 

;

Z12

Z 21 ; Z 22

D C ;

 

U2

Z 21I1

Z 22 I2

 

 

 

 

 

 

 

 

 

 

 

 

 

 

 

 

 

 

 

 

;

H11

B D ; H12

1 D ;

 

U1

H11I1

H12U2

 

 

Н-форма

 

 

 

 

 

 

 

 

 

 

 

 

 

 

 

 

 

 

 

 

I

 

H

21

I

H U

 

;

H 21

H 12 ; H 22

C D ;

 

2

 

 

 

1

22

 

2

 

 

 

 

 

 

 

 

 

 

 

 

 

 

 

 

 

 

 

 

 

 

G11

C A ; G12

1 A ;

 

I1

G11U1

G12 I2 ;

 

G-форма

 

 

 

 

 

 

 

 

 

 

 

 

 

 

 

 

 

 

 

 

 

 

 

 

 

 

G

 

 

 

;

G

21

G

 

;

G

22

B A ;

 

U

2

G U

22

I

2

 

 

 

12

 

 

 

 

 

 

21

1

 

 

 

 

 

 

 

 

 

 

 

 

 

 

 

 

 

 

 

 

 

;

 

B11

D ; B12

B ;

 

U2

B11U1

B12 I1

 

 

B-форма

 

 

 

 

 

 

 

 

 

 

 

 

 

 

 

 

 

 

 

 

I

 

B U

B

22

I

.

 

B21

C ; B22

A.

 

2

 

21

1

 

1

 

 

 

 

 

 

 

 

 

 

Если при перемене местами источника и приемника энергии их токи не

меняются, то такой четырехполюсник называется симметричным. Как видно из

сравнения А- и В- форм в табл. 1, это выполняется при A

 

D. Четырехполюсни-

ки, не удовлетворяющие данному условию, называются несимметричными.

2.2. Определение коэффициентов А - формы записи уравнений четырехполюсника

При практическом использовании уравнений четырехполюсника для анализа цепей необходимо знать значения его коэффициентов. Коэффициенты четырехполюсника могут быть определены экспериментальным или расчетным путями. При этом в соответствии с соотношением (2.5) определение любых трех коэффициентов дает возможность определить и четвертый.

43

Один из наиболее удобных экспериментальных методов определения коэффициентов четырехполюсника основан на опытах холостого хода и короткого замыкания при питании со стороны вторичных зажимов и опыте холостого хода при питании со стороны первичных зажимов.

В этих режимах на основании уравнений (2.3) и (2.4) получаем:

 

 

 

 

 

 

 

 

 

 

A

 

 

 

при I

0

 

Z

 

 

U1XX

 

 

 

,

(2.6)

 

1XX

 

 

I1XX

 

 

2

 

 

 

 

 

 

 

C

 

 

 

 

 

 

 

 

 

 

 

 

 

 

 

 

 

 

 

 

 

 

D

 

 

при I

0

Z

 

 

 

U2XX

 

 

 

,

(2.7)

2XX

 

 

I2XX

 

 

 

 

1

 

 

 

 

 

 

 

C

 

 

 

 

 

 

 

 

 

 

 

 

 

 

 

 

 

 

 

 

 

B

 

 

 

 

 

 

 

 

 

U2КЗ

 

 

 

 

 

 

при U1

0

 

Z2КЗ

 

I2КЗ

 

A

.

 

(2.8)

 

 

 

 

 

 

 

 

 

 

 

Решение уравнений (2.6)-(2.8) относительно коэффициентов четырехполюсника

A

 

Z1XX

 

; B AZ 2КЗ ; С

A

; D CZ 2XX .

Z 2XX

Z 2КЗ

 

Z1XX

 

 

 

 

 

2.3. Т - и П - образные схемы замещения пассивного четырехполюсника. Переход от одной формы записи уравнений четырехполюсника к другой

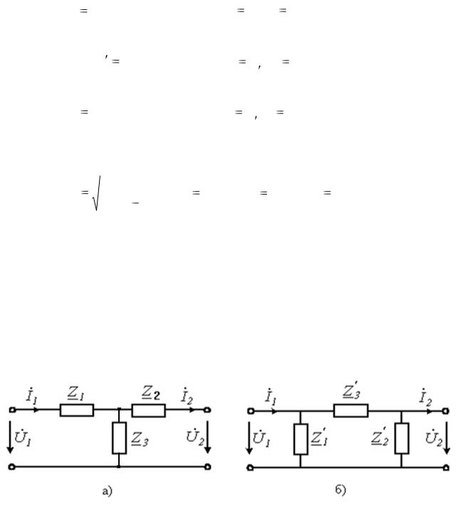
При определении коэффициентов четырехполюсника расчетным путем должны быть известны схема соединения и величины сопротивлений четырехполюсника. Как было отмечено ранее, пассивный четырехполюсник характеризуется тремя независимыми постоянными коэффициентами. Следовательно, пассивный четырехполюсник можно представить в виде трехэлементной эквивалентной Т - (рис. 2.3,а) или П - образной (рис. 2.3,б) схемы замещения.

Рис.2.3

Для определения коэффициентов четырехполюсника для Т–образной схемы (рис. 2.3,а) с использованием первого и второго законов Кирхгофа выра-

зим U1 и I1 через U 2 и I2 :

44

 

 

 

U2

I2 Z 2

 

 

1

 

Z 2

 

 

 

 

 

I1

I2

 

 

 

 

 

 

U2

1

 

 

I2 ,

 

(2.9)

 

Z 3

 

 

 

 

Z 3

 

 

 

 

 

 

 

Z 3

 

 

 

 

 

 

 

 

 

 

 

 

Z1

 

 

 

 

 

 

Z1 Z 2

 

(2.10)

U1

U2

I2 Z 2

I1 Z1

1

 

Z 3

U2

Z1

Z

2

 

Z 3

I2.

 

 

 

 

 

 

 

 

 

 

 

 

 

 

Сопоставление полученных выражений (2.9) и (2.10) с соотношениями

(2.3) и (2.4) дает:

A 1 Z1 Z 3 ; B Z1

Z 2

 

Z1 Z 2

 

; C 1 Z 3 ; D 1

Z 2

.

 

 

 

 

 

 

 

 

 

 

 

 

 

 

 

 

 

 

 

Z 3

 

 

 

 

 

 

 

 

 

 

 

Z 3

Данная задача может быть решена и другим путем. При I2

0 (холостой

ход со стороны вторичных зажимов) в соответствии с (2.3) и (2.4)

 

 

 

 

 

 

 

U1XX

 

AU2 и

I1XX

 

CU2 .

 

 

 

 

 

 

 

 

 

 

 

 

 

 

 

 

 

 

 

 

 

 

 

 

 

 

 

 

 

 

 

 

 

 

С другой стороны из схемы 2.3,а получаем

 

 

 

 

 

 

 

 

 

 

 

 

 

 

 

 

 

 

 

 

 

 

 

 

 

 

 

 

 

 

 

 

 

 

 

 

 

 

 

 

 

U2

 

 

 

 

 

 

 

 

 

 

 

 

 

 

 

 

 

 

Z1

 

 

 

 

I1XX

 

Z 3

и U1XX

 

 

(Z1

Z 3 )I1XX

 

1

 

Z 3

 

U2 ;

 

 

 

 

 

 

 

 

 

 

 

 

 

 

 

 

 

 

 

 

 

 

 

 

 

 

 

 

откуда следует: A

1 Z1 Z 3 и C

1 Z 3 .

 

 

 

 

 

 

 

 

 

 

 

 

 

 

 

При U2 0 (короткое замыкание вторичных зажимов четырехполюсника)

 

 

 

 

 

 

 

 

 

 

 

 

 

 

 

 

 

 

 

 

 

 

 

 

 

 

 

 

 

 

 

 

 

 

 

 

 

 

 

 

 

и

 

 

 

 

 

 

 

 

 

 

 

 

 

 

 

 

 

U1КЗ

 

BI2

I1КЗ

DI2 .

 

 

 

 

 

 

 

 

 

Из схемы на рис. 3,а получаем

 

 

 

 

 

 

 

 

 

 

 

 

 

 

 

 

 

 

 

 

 

 

 

 

 

 

 

 

 

 

 

 

 

I2 Z 2

 

 

 

 

Z 2

 

;

 

 

 

 

 

 

 

 

 

I

 

 

I

2

 

 

 

 

 

 

1

 

 

 

 

 

I

2

 

 

 

 

 

 

 

 

 

 

1КЗ

 

 

 

Z 3

 

 

 

Z 2

 

 

 

 

 

 

 

 

 

 

 

 

 

 

 

 

 

 

 

 

 

 

 

 

 

 

 

 

 

 

 

 

 

 

 

 

 

 

 

 

 

 

 

 

 

 

 

 

 

Z1 Z 2

 

 

 

 

 

 

U1КЗ

Z1I1КЗ

 

 

I2 Z 2

 

 

 

Z1

Z 2

 

Z 3

I2 .

 

 

 

 

 

 

 

 

 

 

 

 

 

 

 

 

 

 

 

 

 

 

 

 

 

 

 

 

Следовательно, B

Z

1

Z

2

Z1 Z 2

и D

1

 

Z 2

.

 

 

 

 

 

 

 

 

 

 

 

 

 

 

 

 

 

 

 

 

 

 

 

 

 

 

Z 3

 

 

 

 

 

Z 3

 

 

 

 

 

 

 

 

 

 

 

 

 

 

 

 

 

 

 

 

 

 

 

 

 

 

 

 

 

 

Коэффициенты четырехполюсника для схемы на рис. 2.3,б могут быть определены аналогично. Из вышесказанного можно сделать вывод, что, зная коэффициенты четырехполюсника, всегда можно найти параметры Т- и П- образных схем замещения.

45