Материал: Методичка ТОЭ часть вторая

Внимание! Если размещение файла нарушает Ваши авторские права, то обязательно сообщите нам

Отсюда операторное сопротивление катушки индуктивности Z p Lp .

 

t

F p

 

Аналогично для интеграла: если

f t F p , то f t dt

.

 

 

0

p

 

 

 

С учетом ненулевых начальных условий для напряжения на конденсаторе можно записать:

 

uC

t

 

 

 

1 t

idt uC 0 .

(1.18)

 

 

 

 

 

 

 

 

 

 

C 0

 

 

 

 

 

 

 

 

 

 

 

 

 

 

Тогда изображение

uC

t

 

 

I p

 

 

uC 0

.

 

 

(1.19)

 

 

 

 

Cp

 

 

p

 

 

 

 

 

 

 

 

 

 

 

 

 

 

 

При нулевых начальных условиях из (1.19)

 

 

uC t

 

1

I p и операторное

 

 

 

 

 

 

 

 

 

 

 

 

 

 

 

 

 

Cp

 

сопротивление конденсатора Z p

 

 

1

.

 

 

 

 

 

 

 

 

 

 

 

 

 

 

 

 

 

 

 

 

 

 

Cp

 

 

 

 

 

 

 

1.6. Законы Ома и Кирхгофа в операторной форме

 

Пусть имеем некоторую

ветвь

m n (рис. 1.13),

выделенную из

неко-

торой сложной цепи и содержащую R, L, C и источник ЭДС e(t) .

 

Рис.1.13

Замыкание ключа во внешней цепи приводит к переходному процессу, при этом начальные условия для тока в ветви и напряжения на конденсаторе в общем случае ненулевые.

Для мгновенных значений токов и напряжений можно записать:

 

 

di

 

1 t

umn

t iR L

 

 

 

idt uC 0 e t .

dt

 

C

 

 

 

0

Тогда на основании приведенных выше соотношений получим:

Umn p I p R Lp

1

Li 0

uC

0

E p ;

Cp

p

 

 

 

 

 

26

 

 

U mn

p Li 0

uC

0

E p

 

 

 

p

 

(1.20)

I

p

 

 

 

 

 

.

 

 

 

 

 

 

 

 

 

Z p

 

 

 

 

 

 

 

 

 

 

 

 

 

 

где Z p R Lp

1

 

- операторное сопротивление рассматриваемого участ-

 

Cp

 

 

 

 

 

 

 

 

 

ка цепи.

Следует обратить внимание, что операторное сопротивление Z p соответствует комплексному сопротивлению ветви Z j в цепи синусоидального тока при замене оператора р на j . Слагаемое Li(0) представляет собой внут-

реннюю ЭДС, обусловленную запасом энергии в магнитном поле индуктивной катушки вследствие протекания через нее тока i(0) до коммутации. Слагаемое uC (0) / p представляет собой внутреннюю ЭДС, обусловленную запасом энер-

гии в электрическом поле конденсатора вследствие наличия напряжения на нем uC (0) непосредственно до коммутации.

Уравнение (1.20) является математической записью закона Ома для участка цепи с источником ЭДС в операторной форме. В соответствии с ним для ветви на рис. 1.13 можно составить операторную схему замещения, представленную на рис. 1.14. В соответствии с (1.20) внутренняя ЭДС Li(0) направлена

согласно с направлением тока I(p), внутренняя ЭДС uC (0) / p - встречно току.

Рис.1.14

Первый закон Кирхгофа в операторной форме: алгебраическая сумма изо-

бражений токов, сходящихся в узле, равна нулю

 

 

n

 

 

 

 

 

I

p

0 .

(1.21)

 

 

1

 

 

 

Второй

закон Кирхгофа

в

операторной форме: –

алгебраиче-

ская сумма изображений ЭДС,

действующих в контуре, равна алгебраической

сумме изображений напряжений на пассивных элементах этого контура,

 

 

m

 

m

 

 

 

E

p

U p .

(1.22)

 

 

1

 

1

 

27

При записи уравнений по второму закону Кирхгофа следует помнить о необходимости учета внутренних ЭДС (ненулевых начальных условий). С их учетом последнее соотношение может быть переписано в развернутом виде:

m

 

 

uC 0

m

 

1

 

 

 

E

p L i 0

 

R Lp

I p .

(1.23)

1

p

1

 

Cp

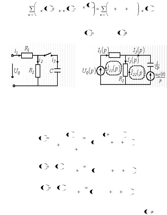
В качестве примера запишем выражение для изображений токов в цепи

на рис. 1.15 для двух

случаев: а)-

uC 0

0; б) - uC 0

0.

 

 

а)

б)

Рис.1.15

Впервом случае (рис.1.15, а) при нулевых начальных условиях определим

всоответствии с законом Ома в операторной форме (1.20) изображения токов

I1( p) , I2 ( p), I3 ( p) :

I1

p

 

U 0 p

 

 

 

 

 

U 0 1

R2Cp

 

 

;

 

 

 

 

R2

 

 

 

 

p R R Cp

R

 

 

 

 

 

 

 

 

 

 

 

 

R

 

 

R1

 

 

 

 

 

1

2

1

2

 

 

 

 

 

 

 

R2Cp 1

 

 

 

 

 

 

 

 

 

 

 

 

 

 

 

 

 

 

 

 

 

 

 

 

 

 

 

 

 

I2

p

I1

p

1

 

 

 

 

 

 

 

U0

 

 

 

;

R2Cp 1 p R1R2Cp R1

 

 

 

 

 

 

 

R2

I3

p

I1

p

 

R2Cp

 

 

 

 

 

 

U0 R2C

 

.

 

R2Cp 1 R1R2Cp R1

 

 

 

 

 

 

 

R2

Во втором случае при ненулевых начальных условиях uC 0 0 следует учесть внутреннюю ЭДС uC (0) / p и составить операторную схему замещения

(рис. 1.15, б). Изображения токов в ней определяются любым методом расчета линейных цепей, например, методом контурных токов:

28

I

11

p

R

R

I

22

p R

U0

;

 

 

 

 

 

 

 

 

1

2

 

2

p

 

 

 

 

 

 

 

 

 

 

 

 

 

 

 

 

 

I11

p R2

I22

R2

 

1

 

 

uC

0

,

 

 

Cp

 

 

p

 

 

 

 

 

 

 

 

 

 

 

 

 

откуда I1 p I11 p 1; I2 p I11 p I22 p и I3 p I22 p .

1.7.Переход от изображений к оригиналам. Теорема разложения

Вторым этапом расчета переходных процессов является переход от изображения искомой величины к ее оригиналу, который может быть осуществлен следующими способами:

1. Непосредственное применение формулы обратного преобразования Лапласа с использованием теоремы вычетов:

 

1

j

f t

F p e pt dp ,

 

2 j

 

j

 

 

которое представляет собой решение интегрального уравнения (1.14). Этот способ используется в символьных вычислениях компьютерной математики, на-

пример Mathcad .

2. По таблицам соответствия между оригиналами и изображениями.

В научной и учебной литературе имеется достаточно большое число формул соответствия, охватывающих практически все задачи электротехники. Согласно данному способу, необходимо получить изображение искомой величины в виде соответствующем табличному, после чего выписать из таблицы выражение оригинала.

Например, для изображения тока в R-L цепи (рис. 1.3) можно записать изображение тока:

I p

U0 p

 

U0

U0 1

 

 

1

 

 

.

 

 

 

 

 

 

 

 

 

 

 

Z p

 

p R pL

 

R p

 

p

 

R

 

 

 

 

 

 

 

 

 

 

 

L

 

 

 

 

 

 

 

 

 

 

 

Тогда, в соответствии с данными табл. 1.1,

 

U0

 

R

 

 

1 e

 

t

 

i t

L

,

R

 

 

 

 

 

что соответствует известному результату.

29

3. С использованием теоремы разложения.

 

 

 

Пусть изображение F p

искомой переменной определяется отношением

двух полиномов:

 

 

 

 

 

 

 

 

 

N p

 

b pm

b

pm 1 b p b

F p

 

 

 

m

m 1

1

0

,

 

 

 

 

 

 

 

 

M p

 

an pn

an 1 pn 1 a1 p a0

где степень полинома в числителе меньше степени полинома в знаменателе ( m n ) и полином M ( p) 0 не имеет кратных корней.

Это выражение может быть представлено в виде суммы простых дробей:

 

 

 

 

N p

 

 

 

n

 

A

 

 

 

 

 

 

 

 

 

 

 

 

 

 

 

 

 

 

 

 

 

 

 

 

 

 

 

 

 

,

 

 

 

 

 

 

 

 

 

 

 

 

 

 

 

 

 

 

 

 

 

 

 

 

 

 

 

 

 

 

 

 

 

 

 

 

 

 

 

 

 

 

 

 

 

 

 

 

 

 

 

 

 

 

 

 

 

 

 

 

 

 

 

 

 

 

 

 

 

 

 

 

 

 

 

 

 

 

M p

 

 

 

1 p

 

 

p

 

 

 

 

 

 

 

 

 

 

 

 

где p

- к-й корень уравнения M p

0 .

 

 

 

 

 

 

 

 

 

 

 

 

 

 

 

Для определения коэффициентов A умножим левую и правую части соотно-

шения на

p p :

 

 

 

 

 

 

 

 

 

 

 

 

 

 

 

 

 

 

 

 

 

 

 

 

 

 

 

 

 

 

 

 

 

 

n

 

A

 

 

 

 

 

 

 

 

 

N p

p

p

 

 

 

 

p

 

p

 

 

 

 

 

 

 

A

 

 

.

 

 

 

 

 

 

 

 

 

 

 

 

 

 

 

 

 

 

 

 

 

 

 

 

 

 

 

i

1

p

 

 

 

pi

 

 

 

 

 

 

M p

 

 

 

 

 

 

 

 

 

 

 

 

 

 

 

 

 

 

 

 

 

 

 

 

 

 

 

 

 

 

i

 

k

 

 

 

 

 

 

 

 

 

 

 

 

 

 

 

 

 

 

 

 

 

 

 

 

При

p

p

 

 

 

 

 

 

 

 

 

 

 

 

 

 

 

 

 

 

 

 

 

 

 

 

 

 

 

 

 

 

 

 

 

 

A 1

 

N p

 

 

 

 

lim

 

 

p

 

p

.

 

 

 

 

 

 

 

 

 

 

 

 

 

 

 

 

 

 

 

 

 

 

 

 

 

 

 

 

 

 

 

 

 

 

 

 

 

 

 

p

 

 

p

 

 

M p

 

 

 

 

 

 

Раскрывая полученную неопределенность по правилу Лопиталя, получим

 

 

 

 

 

 

 

 

 

 

 

 

 

 

 

d

 

p

 

p

 

 

 

 

 

 

 

 

 

 

 

 

 

 

 

 

 

 

 

 

 

 

 

 

 

 

 

 

N p

 

 

 

A

 

N p

 

 

lim

 

dp

 

 

 

 

 

.

 

 

 

 

 

 

 

M '

 

 

 

 

 

 

 

 

 

 

 

 

 

 

 

 

 

p

 

p

 

 

p

 

 

 

M '

p

 

 

Таким образом,

 

 

 

 

 

 

 

 

 

 

 

 

 

 

 

 

 

 

 

 

 

 

 

 

 

 

 

 

 

 

 

 

 

 

 

 

N p

 

 

n

 

 

N p

 

 

 

1

 

 

 

 

 

 

 

F p

 

 

 

 

 

 

 

 

 

 

 

 

.

 

 

 

 

 

 

 

 

 

 

 

 

 

 

 

 

 

 

 

 

 

 

 

 

 

 

 

 

 

 

 

 

 

 

 

 

M p

 

 

 

1 M '

 

 

p

 

 

p

 

p

 

 

 

 

 

 

 

 

 

 

 

 

 

 

 

 

 

 

 

 

 

 

Учитывая, что множители

N p

 

 

 

 

у слагаемых суммы правой части есть по-

 

 

 

 

 

 

 

 

M

'

p

 

 

 

 

 

 

 

 

 

 

 

 

 

 

 

 

 

 

 

 

 

 

 

 

 

 

 

 

 

 

 

 

стоянные числа и оригиналами простых дробей являются показательные функции (табл.1.1)

30