Материал: m083700d

Внимание! Если размещение файла нарушает Ваши авторские права, то обязательно сообщите нам

76Feldbus-Controller 750-837, /02x-000, 750-838, /02x-000 Prozessabbild

Diese Klemmen stellen sich mit 1x 12...48 Byte dar, so dass das Objekt 0x4200-0x4202 für Gateway-Modul Eingänge und das Objekt 0x4300-0x4302 für Gateway-Modul Ausgänge verwendet wird. Dabei wird pro Klemme ein Index belegt, in dem Subindex 1 die Mailboxgröße, Subindex 2 die Mailbox und Subindex 3 bis 48 die Prozessdaten enthält.

3.1.5.2.6 Systemklemmen

Systemklemmen mit Diagnose

750-610, -611

Die Potentialeinspeiseklemmen 750-610 und –611 mit Diagnose liefern zur Überwachung der Versorgung 2 Bits in das Prozesseingangsabbild.

Eingangsprozessabbild

Bit 7

Bit 6

Bit 5

Bit 4

Bit 3

Bit 2

Bit 1

Bit 0

 

 

 

 

 

 

Diagnosebit S 2

Diagnosebit S

 

 

 

 

 

 

1

 

 

 

 

 

 

Sicherung

 

 

 

 

 

 

Spannung

 

 

 

 

 

 

 

Für die Digitalen Eingänge wird das Objekt 0x6000 (auch 0x2000 möglich) verwendet.

WAGO-I/O-SYSTEM 750

CANopen

Feldbus-Controller 750-837, /02x-000, 750-838, /02x-000

• 77

Datenaustausch

 

 

 

3.1.6 Datenaustausch

Der Austausch der Prozessdaten findet bei dem CANopen Feldbus-Controller über die Kommunikationsobjekte statt.

Jedes Objekt besteht aus einem CAN-Telegramm, das maximal 8 Byte Nutzdaten und eine im Netzwerk eindeutige COB-ID (Communication Object I- dentifier) enthält.

Mittels dieser Kommunikationsobjekte erfolgt die Übertragung von Daten, das Auslösen von Events, das Signalisieren von Fehlerzuständen, usw.

Die für die Kommunikationsobjekte notwendigen Parameter, sowie Parameter und Daten des CANopen Teilnehmers sind in einem Objektverzeichnis abgelegt.

3.1.6.1 Kommunikationsobjekte des Controllers

Der Feldbus-Controller 750-837, /020-000, /021-000 und 750-838, /020-000, /021-000 unterstützt folgende Kommunikationsobjekte:

32 Tx-PDOs,

für den Prozessdatenaustausch von Eingangsdaten des Feldbus-Knoten

32 Rx-PDOs,

für den Prozessdatenaustausch von Ausgangsdaten des Feldbus-Knoten

2 Server SDOs,

für den Austausch von Konfigurationsdaten und zur Information zum Knotenzustand

16 Client SDOs,

für die Abfrage von Konfigurationsdaten des eigenen oder 16 anderer Feldbus-Knoten (Master-Funktion)

Synchronisations Objekt (SYNC), zur Netzwerksynchronisation

Emergency Objekt (EMCY)

Netzwerk Management Objekte

-Module Control Protocols

-Error Control Protocols

-Bootup Protocol

WAGO-I/O-SYSTEM 750

CANopen

78Feldbus-Controller 750-837, /02x-000, 750-838, /02x-000 Datenaustausch

3.1.6.2 Kommunikationsschnittstellen

Für den Austausch von Daten besitzt der CANopen Feldbus-Controller drei Schnittstellen:

die Schnittstelle zum Feldbus (-Master),

die SPS-Funktionalität des PFCs (CPU) und

die Schnittstelle zu den Busklemmen.

Ein Datenaustausch findet zwischen Feldbus-Master und den Busklemmen, zwischen SPS-Funktionalität des PFCs (CPU) und den Busklemmen und zwischen Feldbus-Master und SPS-Funktionalität des PFCs (CPU) statt.

3.1.6.3 Speicherbereiche

Für die physikalischen Einund Ausgangsdaten steht in dem Controller jeweils ein Speicherbereich von 256 Worten (Wort 0 ... 255) zur Verfügung. Für die Abbildung der nach IEC 61131-3 definierten PFC-Variablen hat der Controller einen zusätzlichen Speicherbereich. In diesem erweiterten Speicherbereich (jeweils Wort 256 ... 511) werden die PFC-Variablen hinter das physikalische Prozessabbild gemappt.

Bei allen WAGO Feldbus-Controllern ist die Aufteilung der Speicherbereiche und der Zugriff der SPS-Funktionalität (CPU) auf die Prozessdaten gleich. Unabhängig von dem Feldbus-System erfolgt der Zugriff über ein anwendungsbezogenes IEC 61131-3 Programm.

Der Zugriff von der Feldbusseite auf die Daten ist feldbusspezifisch.

 

Programmierbarer Feldbus Controller

 

 

Speicherbereich für

 

 

 

Eingangsdaten

 

 

 

Wort 0

1

Busklemmen

Feldbus

Eingangs-

 

 

 

klemmen

 

 

 

Wort 255

 

 

 

 

Wort 256

3

IEC 61131-

 

 

PFC-

 

 

 

Programm

 

 

Eingangs-

 

 

 

 

 

variablen

CPU

 

 

Wort 511

 

 

 

Speicherbereich für

 

 

 

Ausgangsdaten

 

 

 

Wort 0

2

 

 

 

Ausgangs-

 

 

 

klemmen

 

 

 

 

Wort 255

4

I

O

 

Wort 256

 

 

 

 

 

PFC-

 

 

 

 

Ausgangs-

 

 

 

variablen

 

 

 

Wort 511

 

 

 

Abb. 3-11:Speicherbereiche und Datenaustausch für einen Feldbus-Controller

g012432d

WAGO-I/O-SYSTEM 750

CANopen

Feldbus-Controller 750-837, /02x-000, 750-838, /02x-000

• 79

Datenaustausch

 

 

 

Das Prozessabbild des Controllers enthält jeweils in dem Speicherbereich

Wort 0 ... 255 die physikalischen Daten der Busklemmen.

1Von der CPU und von der Feldbusseite können die Eingangsklemmendaten gelesen werden.

2Ebenso kann von CPU und Feldbusseite aus auf die Ausgangsklemmen geschrieben werden. Bei gleichzeitigem Schreiben auf einen Ausgang, wird der Wert des Masters auf den Ausgang ausgegeben.

In dem Speicherbereich Wort 256 ... 511 des Prozessabbildes sind jeweils die PFC-Variablen abgelegt.

3Von der Feldbusseite werden die PFC-Eingangsvariablen in den Eingangsspeicherbereich geschrieben und von der CPU zur Verarbeitung eingelesen.

4Die von der CPU über das IEC 61131-3-Programm verarbeiteten Variablen werden in den Ausgangsspeicherbereich gelegt und können von dem Master ausgelesen werden.

In dem Controller sind darüber hinaus weitere Speicherbereiche vorhanden, auf die von der Feldbusseite aus jedoch nicht zugegriffen werden kann:

RAM Der RAM-Speicher dient zum Anlegen von Variablen, die nicht zur Kommunikation mit den Schnittstellen sondern für interne Verarbeitungen, wie z. B. die Berechnung von Ergebnissen benötigt werden.

Retain Der Retain-Speicher ist ein nicht flüchtiger Speicher, d. h. nach einem Spannungsausfall bleiben alle Werte beibehalten. Die Speicherverwaltung erfolgt automatisch. In diesem Speicherbereich werden Merker für das IEC 61131-3-Programm abgelegt sowie Variablen ohne Speicherbereichs-Adressierung oder Variablen, die explizit mit "var retain" definiert werden.

Hinweis Durch die automatische Speicherverwaltung kann es zu Überlagerungen von Daten kommen. Deshalb wird empfohlen, Merker und retain-Variablen nicht gemischt zu betreiben.

Code- In dem Code-Speicher wird das IEC 61131-3-Programm abge- Speicher legt. Der Code-Speicher ist ein Flash-ROM. Nach dem Einschal-

ten der Versorgungsspannung wird das Programm von dem Flashin den RAM-Speicher übertragen. Nach fehlerfreiem Hochlauf startet der PFC-Zyklus bei oberer Stellung des Betriebsartenschalters oder durch einen Start-Befehl aus WAGO- I/O-PRO .

WAGO-I/O-SYSTEM 750

CANopen

80Feldbus-Controller 750-837, /02x-000, 750-838, /02x-000 Datenaustausch

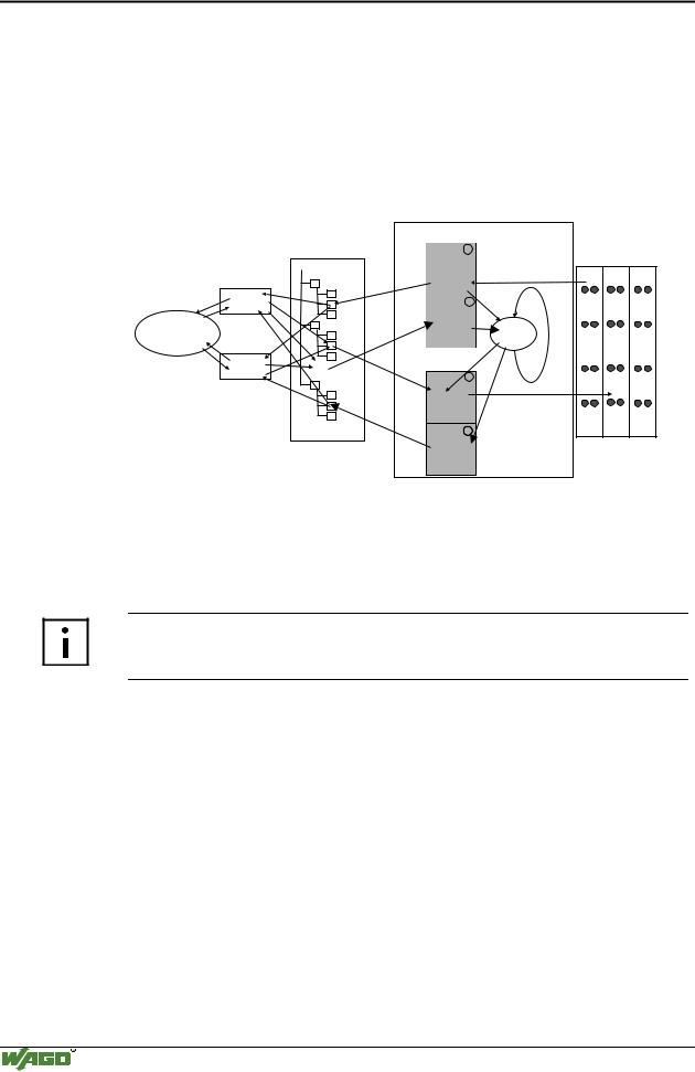
3.1.6.4 Adressierung

3.1.6.4.1 Feldbusspezifische Adressierung

Nach Einschalten der Versorgungsspannung werden die Daten vom Prozessabbild in ein Objektverzeichnis gemappt (Initialisierung). Ein CANopen Feld- bus-Master verwendet die 16 Bit Indizes und 8 Bit Sub-Indizes des Objektverzeichnisses, um die Daten über PDOs oder SDOs zu adressieren und darauf zuzugreifen. Die Lage der Daten im Prozessabbild hat deshalb für den CANopen Nutzer keine unmittelbare Bedeutung.

 

 

Programmierbarer Feldbus Controller

 

 

 

Speicherbereich für

 

 

 

 

Eingangsdaten

 

 

 

Objektverzeichnis

Wort 0

1

Busklemmen

 

 

Eingangs-

 

Index

 

 

 

klemmen

 

 

 

Sub-

 

 

 

 

 

 

 

 

Index

Wort 255

 

 

 

 

 

 

 

 

PDO

 

Wort 256

3

IEC 61131-

 

 

 

PFC-

 

 

 

 

 

Programm

 

 

 

Eingangs-

 

Feldbus-

 

 

 

 

variablen

CPU

 

Master

 

Wort 511

 

 

 

 

 

 

 

.

Speicherbereich für

 

 

SDO

Ausgangsdaten

 

 

.

 

 

 

.

Wort 0

 

 

 

 

 

2

 

 

 

 

Ausgangs-

 

 

 

 

klemmen

 

 

 

 

 

Wort 255

4

I

O

 

 

Wort 256

 

 

PFC-

 

 

 

 

 

Ausgangs-

 

 

 

 

variablen

 

 

 

Wort 511

Abb. 3-12: Feldbusspezifischer Datenaustausch für einen CANopen Feldbus-Controller g012432d

3.1.6.4.1.1Indizierung der Busklemmendaten

Falls vor der Initialisierung eine kundenspezifische Konfiguration gespeichert war und die aktuell gesteckte Klemmenkonfiguration mit der zuletzt gespeicherten übereinstimmt, erfolgt die Initialisierung mit dieser Konfiguration.

Weitere Informationen

Ein Beispiel für die Initialisierung einer kundenspezifischen Konfiguration ist in dem Kapitel 3.1.7 "Inbetriebnahme" erläutert.

In jedem anderen Fall wird bei der Initialisierung das Objektverzeichnis mit einer Defaultkonfiguration nach dem Geräteprofil DS 401 belegt.

Der Eintrag in das Objektverzeichnis erfolgt dabei getrennt nach Datenbreite (1 Bit, 1 Byte, 2 Byte, 3 Byte, usw...) und Einund Ausgang.

Die physikalische Anordnung der Busklemmen in einem Knoten ist beliebig.

WAGO-I/O-SYSTEM 750

CANopen