Материал: m013802e_b

Внимание! Если размещение файла нарушает Ваши авторские права, то обязательно сообщите нам

5.2.5 Application example

The following figure is an example of a process input image. The configuration comprises of 10 digital and 8 analog inputs. The process image thus has a data length of 8 words for the analog and 1 word for the digital inputs, i.e. 9 words in total.

Fig. 5.11: Example for process input image, controller

50

MODBUS / Configuration

15.12.99

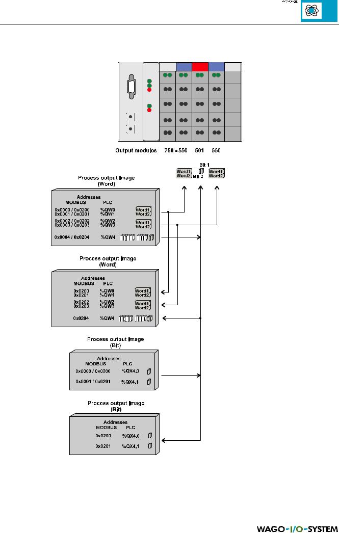
The following example for the process output image comprises of 2 digital and 4 analog outputs. It comprises of 4 words for the analog and one word for the digital outputs.

Fig. 5.12: Example for process output image, controller

MODBUS / Configuration

51

15.12.99

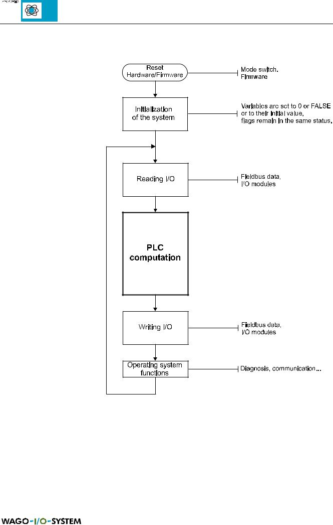
5.2.6 Controller operating system

Fig. 5.13: Operating system, controller

52

MODBUS / Configuration

15.12.99

5.3 Common coupler/controller functions

5.3.1 Implemented MODBUS functions

The following table shows the functions which support both the MODBUS coupler as well as the MODBUS controller:

Function

Function

Description

 

code

 

 

 

 

 

 

 

0x01

Read Coil Status

Read input bits and output bits as an octet string.

Functions are

 

 

 

0x02

Read Input Status

Read input bit as an octet string.

identical

 

 

 

 

 

0x03

Read Holding Registers

Read number of input words.

Functions are

 

 

 

0x04

Read Input Registers

Read number of input words.

identical

 

 

 

 

 

0x05

Force Single Coil

Write output bit.

 

 

 

 

 

0x06

Preset Single Register

Writes a value in an output word.

 

 

 

 

 

0x0B

Fetch Comm Event Ctr

Read status word and event counter.

 

 

 

 

 

0x0F

Force Multiple Coils

Writes a number of output bits.

 

 

 

 

 

0x10

Preset Multiple Regs

Writes a number of output words.

 

 

 

 

 

Table 5.29: Implemented functions

MODBUS / Configuration

53

15.12.99

5.3.1.1 Use of the MODBUS functions

The graphical review shows the MODBUS functions which have access to process illustration data.

Fig. 5.14: Review of MODBUS functions, e.g. with coupler

It is to be recommended to access the analog signals with register functions and binary signals with coil functions . If access is also required to reading and writing binary signals with register functions , the addresses are displayed as soon as a further analog modules are fitted.

54

MODBUS / Configuration

15.12.99