Материал: m013802e_b

Внимание! Если размещение файла нарушает Ваши авторские права, то обязательно сообщите нам

5.3.3 Configuration function

The following registers can be read, in order to determine the configuration of the connected modules:

Register

Designation

Access

Length

Default

Description

address

 

 

(word)

 

 

 

0 x 1022

CnfLen. AnalogOut

read

4++

pu

Number of I/O bits with the process

 

 

 

 

 

data words of the outputs

 

 

 

 

 

 

0 x 1023

CnfLen.AnalogInp

read

3++

pu

Number of I/O bits with the process

 

 

 

 

 

data words of the inputs

 

 

 

 

 

 

0 x 1024

CnfLen.DigitalOut

read

2++

pu

Number of I/O bits with the process

 

 

 

 

 

data bits of the outputs

 

 

 

 

 

 

0 x 1025

CnfLen.DigitalInp

read

1

pu

Number of I/O bits with the process

 

 

 

 

 

data bits of the inputs

 

 

 

 

 

 

0 x 1026

slaveAdr

read

1

pu

Current node address. The address

 

 

 

 

 

is read when switching on the voltage

 

 

 

 

 

supply.

 

 

 

 

 

 

 

0 x 1027

Settings

read

1

pu

The current settings are saved here.

These are interrogated when

 

 

 

 

 

 

 

 

 

 

switching on the voltage supply.

 

 

 

 

 

D0-D2:

Baud rate

 

 

 

 

 

D3-D4:

Byte Frame

 

 

 

 

 

D5:

Data Length 8/7 Bit

 

 

 

 

 

D6:

Not in use

 

 

 

 

 

D7:

Not in use

 

 

 

 

 

D8-D10:

End of Frame Time

 

 

 

 

 

D11:

RTU/ASCII mode

 

 

 

 

 

D12:

Error Check

 

 

 

 

 

 

switched off/switched on

 

 

 

 

 

D13:

Extended Functions

 

 

 

 

 

 

switched off/switched on

 

 

 

 

 

D14:

Watchdog

 

 

 

 

 

 

switched off/switched on

 

 

 

 

 

D15:

Not in use

 

 

 

 

 

 

Table 5.49: Configuration function

 

 

pu: Default value when switching voltage on

70

MODBUS / Configuration

15.12.99

5.3.4 Firmware information

These registers are used to read out information about the coupler or controller firmware.

Register

Designation

Access

Length

Default

Description

address

 

 

(word)

 

 

 

 

 

 

 

 

0x2010

Revison,

read

1

pu/co -

Firmware version (256* major + minor)

 

INFO_REVISION

 

 

 

e.g.: V2.5 = 0x0205

 

 

 

 

 

 

0x2011

Series code,

read

1

pu/co -

WAGO series number:

 

INFO_SERIES

 

 

 

750 for WAGO-I/O System

 

 

 

 

 

 

0x2012

Item number,

read

1

pu/co -

WAGO order number:

 

INFO_ITEM

 

 

 

312, 314, 315, 316 for coupler,

 

 

 

 

 

812, 814, 815, 816 for controller

 

 

 

 

 

 

0x2013

Major sub item code,

read

1

pu/co -

Extended WAGO order number.

 

INFO_MAJOR

 

 

 

Is used for special firmware versions or

 

 

 

 

 

settings:

 

 

 

 

 

0xFFFF for coupler/controller.

 

 

 

 

 

 

0x2014

Minor sub item code,

read

1

pu/co -

Extended WAGO order number.

 

INFO_MINOR

 

 

 

Is used for special firmware versions or

 

 

 

 

 

settings:

 

 

 

 

 

0xFFFF for coupler/controller.

 

 

 

 

 

 

0x2020

Description,

read

128

pu/co -

Brief description for this

 

INFO_DESCRIPTION

 

 

 

coupler/controller, max. 255 characters. If

 

 

 

 

 

not available the value 0xFF appears.

 

 

 

 

 

 

0x2021

Description,

read

16

pu/co -

Details of the manufacture time of the

 

INFO_TIME

 

 

 

firmware version, max. 31 characters. If

 

 

 

 

 

not available the value 0xFF appears.

 

 

 

 

 

 

0x2022

Description,

read

16

pu/co -

Details of manufacture date of the

 

INFO_DATE

 

 

 

firmware version, max. 31 characters. If

 

 

 

 

 

not available the value 0xFF appears.

 

 

 

 

 

 

0x2023

Description,

read

32

pu/co -

Details of the company and user of the

 

INFO_LOADER_INFO

 

 

 

firmware programming unit, max. 63

 

 

 

 

 

characters. If not available the value

 

 

 

 

 

0xFF appears.

 

 

 

 

 

 

Table 5.50: Firmware information

 

pu: Default value when switching voltage on, co: Constant

MODBUS / Configuration

71

15.12.99

5.3.5 General registers

The constants saved here can be used to test the communication with the master.

Register

Designation

Access

Length

Default

Description

address

 

 

(word)

 

 

 

 

 

 

 

 

0x2000

Zero, GP_ZERO

read

1

pu/co

Constant with zero.

 

 

 

 

0x0000

 

 

 

 

 

 

 

0x2001

Units, GP_ONES

read

1

pu/co

Constant with units. Is -1 if declared as ”signed

 

 

 

 

0xFFFF

int” or MAXVALUE if ”unsigned int”.

 

 

 

 

 

 

0x2002

1,2,3,4, GP_1234

read

1

pu/co

Constant value to test whether high and low

 

 

 

 

0x1234

bytes are changed over (Intel/Motorola format).

 

 

 

 

 

Should appear in the master as 0 x 1234. If

 

 

 

 

 

0 x 3412 appears the high and low byte must be

 

 

 

 

 

changed over.

 

 

 

 

 

 

0x2003

Mask1, GP_AAAA

read

1

pu/co

Constant to see if all bits are present. Is used

 

 

 

 

0xAAAA

together with register 0 x 2004.

 

 

 

 

 

 

0x2004

Mask2, GP_5555

read

1

pu/co

Constant to see if all bits are present. Is used

 

 

 

 

0x5555

together with register 0 x 2003.

 

 

 

 

 

 

0x2005

Largest positive

read

1

pu/co

Constant, to check the arithmetic.

 

number,

 

 

0x7FFF

 

 

GP_MAX_POS

 

 

 

 

 

 

 

 

 

 

0x2006

Largest negative

read

1

pu/co

Constant, to check the arithmetic.

 

number,

 

 

0x8000

 

 

GP_MAX_NEG

 

 

 

 

 

 

 

 

 

 

0x2007

Largest semi-positive

read

1

pu/co

Constant, to check the arithmetic.

 

number,

 

 

0x3FFF

 

 

GP_HALF_POS

 

 

 

 

 

 

 

 

 

 

0x2008

Largest semi-

read

1

pu/co

Constant, to check the arithmetic.

 

negative number,

 

 

0x4000

 

 

GP_HALF_NEG

 

 

 

 

 

 

 

 

 

 

Table 5.51: General registers

 

 

pu: Default value when switching on voltage ; co: constant

72

MODBUS / Configuration

15.12.99

6 Start-Up and Diagnosis

6.1 Run-up and error indications

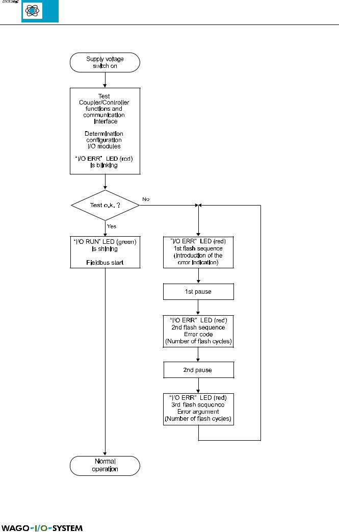
After the supply voltage connection the coupler/controller checks all the functions of its components and the communication interface. The configuration of the I/O modules is then determined. The 'I/O ERR' LED is blinking during the run-up time. The coupler/controller enters then the "fieldbus start" status after the successful run-up. The green "I/O RUN" LED indicates this status. If an error occurs, the red "I/O ERR" goes on blinking in a low frequency. The various types of error are indicated via up to 3 different flash sequences.

Display functions of the 'I/O ERR' LED:

1. Coupler/controller’s start-up phase after the supply voltage connection

2. Introduction of the error indication

3. Error code

(number of flash cycles 2nd flash sequence)

4.Error argument

(Number of flash cycles 3rd flash sequence)

Fig. 6.1: LED fieldbus start and error indication

1st flash sequence

1st pause

2nd flash sequence

2nd pause

3rd flash sequence

2nd flash sequence

3rd flash sequence

Meaning

 

 

 

Error code

Error argument

 

 

 

 

1

0

EEPROM check sum error

 

 

 

 

1

Internal storage overflow for the inline code

 

 

 

 

2

Unknown data type

 

 

 

2

0

Programmed process image assignement is not plausible

 

 

 

 

N (N>0)

Error in table comparison I/O module N (programmed

 

 

configuration), passive modules as well as potential supply modules

 

 

are not taken into account

 

 

 

3

0

I/O module(s) has (have) identified the internal bus command as

 

 

wrong

 

 

 

4

0

Data error at internal bus or internal bus break at coupler / controller

 

 

 

 

N (N>0)

Internal bus interrupted after N module

 

 

 

5

N

Internal bus error in the communication with N module

 

 

 

Table 6.1: Error diagnosis, nodes

MODBUS / Start-up and diagnosis

73

15.12.99

Fig. 6.2: Run-up coupler/controller

74

MODBUS / Start-up and diagnosis

15.12.99