Материал: Конструкция общая корнеев

Внимание! Если размещение файла нарушает Ваши авторские права, то обязательно сообщите нам

Конструкция и эксплуатация

 

воздушных судов для пилотов и

 

бортинженеров

6. Шасси самолета

Рис. 6.1. Основные типы шасси:

1 – передняя опора; 2 – главные опоры; 3 – задняя опора; 4 – подкрыльные опоры

Схема шасси и ее параметры определяют характеристики устой чивости и управляемост и самолета при его движении по грунту, в лияют на нагружение опор.

Трехопорная схема ш асси с передней опорой (см. рис. 6.1) характеризуется н аличием двух основных опор, расположенных несколько позади центра тяжести, и одной передней, вынесенной на значительное расстояние вперед от центра тяжести самолета. Такая схема пришла на смену схеме шасси с хвостовой опорой (см. рис. 6.1).

Трехопорная схема шасси с хвостовой опорой в настоя щее время применяется редко, в основном на легких учебны х и вспомогательных самолетах.

Применяетсятакжевелосипедная(двухопорная) схемашасси(см. рис. 6.1).

На современных самолетах наибольшее распространение получила трехопорная схема шасси с передней опорой. О бъясняется это следующим: носовая стойка предохран яет самолет от капотирования, что позволяет бо лее энергично затормаживать колеса; предотвращается «козление» самолета, т.к. центр тяжести расп олагается впереди основных колес, и при ударе основными стойками о ВПП при посадке угол атаки и коэффициент подъем ной силы крыла (СY) уменьшаются.

Кром е этого горизонтальное положение оси фюзеляжа обеспечивает хороший обзор экипажу, создает удобства для пассажиров, облегчает загрузк у самолета тяжелыми грузами, п озволяет разме щать реактивные двигатели горизонтальн о, при этом газовая струя не разрушает аэродрома, обеспечивает самолету хорошую устойчивость при пробеге и разбеге.

© НИЛ НОТ НИО УВАУ ГА(и), 2009 г

Составитель: В.М. Корнеев

46

 

Разработчик: С. П. Пугин.

 

Конструкция и эксплуатация

 

воздушных судов для пилотов и

 

бортинженеров

6. Шасси самолета

Вместе с тем, схема шасси с передней опорой имеет и недостатки: сложность передвижения по мягкому и вязкому грунту, т.к. «зарываются» колеса передней опоры; большая опасность при посадке с поврежденной передней опорой.

Передняя опора крепится к фюзеляжу, главные – к крылу или к фюзеляжу. Крепление основных опор к фюзеляжу часто позволяет упростить их конструкцию, уменьшить размеры и вес, особенно для самолета с высокорасположенным крылом, и всегда упрощает задачу размещения стоек в убранном положении.

Основные геометрические параметры схемы (рис. 6.2) – это продольная база, колея, высота шасси, вынос

 

основных

опор

относительно

центра

 

тяжести, а

также углы: посадочный

 

(угол между поверхностью земли и ка-

 

сательной к задней части фюзеляжа,

 

исходящей из точки соприкосновения

 

колес основных опор и грунта), угол

 

выноса основных опор. Большинство

Рис. 6.2. Параметры трехопорного шасси

перечисленных

параметров

связаны

с носовым колесом

между собой.

 

 

С целью уменьшения веса стоек желательно иметь небольшую высоту шасси. Однако чтобы обеспечить посадочный угол атаки, высоту стоек приходится увеличивать. Посадочный угол выбирается из условия, чтобы при посадке самолет не касался грунта хвостовой частью фюзеляжа.

Угол выноса шасси должен быть больше посадочного угла, для того чтобы при посадке предотвратить опрокидывание самолета на хвост.

Вынос основных опор шасси относительно центра тяжести обычно составляет 10-12 % от базы шасси, что влияет на распределение нагрузки между опорами.

© НИЛ НОТ НИО УВАУ ГА(и), 2009 г

Составитель: В.М. Корнеев

47

 

Разработчик: С. П. Пугин.

 

Конструкция и эксплуатация

 

воздушных судов для пилотов и

 

бортинженеров

6. Шасси самолета

Колея шасси влияет на характеристики поперечной устойчивости, а также на управляемость самолета при движении по грунту. На колею часто решающее значение оказывают соображения, связан ные с удобством крепления стоек и возможностью уборки шасси.

Велосипедная схема шасси характеризуется наличием двух основных опор, расположенных под фюзеляжем, и двух подк рыльных стоек, основное назначение которых – предохранить самолет от опр окидывания на крыло.

Велосипедная схема шасси – вынужденная схема. Переход к ней обусловлен трудностями размещения опор на крыле, особенно на больших самолетах с высокорасположенным крылом, у которых длина стоек при расположении под крылом может достигать 3-4 м и более.

При велосипедной схеме шасси из-за сравнительно большой нагрузки на переднюю опору отрыв ее на взлете затру дняется. Для облегчения взлета в констр укцию шасси включают механиз м «вздыбливания» передней опоры или «приседания» задней опоры. Вздыбливание уве личивает угол атаки крыла на 2-4°, благод аря чему увеличивается подъемн ая сила. Дополнительные механизмы («вздыбливания», уборки и выпуска подкрыльн ых стоек) усложняют конструкцию шасси и понижают уровень безопасности полетов.

Многоопорн ые схемы шасси (рис. 6.3) фактическ и соответствуют трехопорной схеме с передней опорой и применяются н а самолетах повышенной проходимости и на тяжелы х самолетах, которые требуют большого количества колес.

Рис. 6.3. Многоопорные шасси

© НИЛ НОТ НИО УВАУ ГА(и), 2009 г

Составитель: В.М. Корнеев

48

 

Разработчик: С. П. Пугин.

 

Конструкция и эксплуатация

 

воздушных судов для пилотов и

 

бортинженеров

6. Шасси самолета

6.2. Основные конструктивные особенности стоек шасси

В зависимости от назначения, характера нагружения и выполняемой работы различают след ующие основные элементы стойки: силовые элементы, элемент ы кинематики и управления, амортизирующие устр ойства.

Амортизирую щие устройства (амортизационные стойки, пневматики колес, гасители колебаний и т.д.) погло щают и рассеивают энергию ударов самолета о землю, уменьшаю т действующие нагрузки и препятствуют возникновению колебаний при посадке и движен ии по зем ле.

Рис. 6.4. Типы стоек:

а – телескопическая; б – рычаж ная; в – полурычажная

Телескопические стойки (рис. 6.4,а) устанавливают на самолетах, эксплуатируемых на бетонн ых и хорошо укатанных грунтовых ВПП, т.к. такая стойка плохо воспринимает продольные и боковые силы.

У стоек с рычажной подвеской колес (см. рис . 6.4,б) нагрузки с колес на шток амортизатора передаются через промежуточный подвижный элемент – рычаг. Такая стойка мож ет амортизировать не только вертикальные, но и передние удары. При этом амортизатор стойки работает только на сжатие (растяжение). Отсутствие сил прижат ия букс и сил заклинивания шт ока обеспечивает благоприятные условия для работы уплотнений амортизатора. Поэтому давление заря дки амортизатора в этой схеме может составлять до 10 0 кгс/см2 и более против 30-40 кгс/см2 в телеско-

© НИЛ НОТ НИО УВАУ ГА(и), 2009 г

Составитель: В.М. Корнеев

49

 

Разработчик: С. П. Пугин.

 

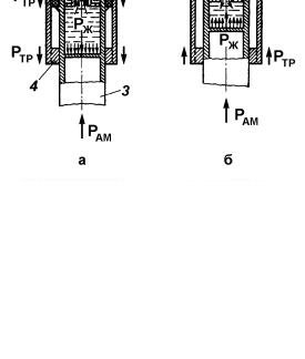
Рис. 6.5. Устройство и работа жидкостно-газового амортизатора: а – прямой ход; б – обратный ход;
1 – цилиндр; 2 – жидкость; 3 – шток с цилиндром; 4 – букса; 5 – уплотнение; 6 – плунжер; 7 – зарядныйштуцер

Конструкция и эксплуатация

 

воздушных судов для пилотов и

 

бортинженеров

6. Шасси самолета

пических стойках. Единственный недостаток рычажных стоек – они тяжелее телескопических.

Полурычажные стойки (см. рис. 6.4,в) легче рычажных, но тяжелее телескопических. В то же время они неплохо работают на восприятие продольных сил, но плохо на боковые.

К дополнительным опорам относятся предохранительные хвостовые опоры самолетов с передней стойкой шасси, предотвращающие переворачивание самолета на хвост при нарушении центровки.

6.3. Амортизаторы шасси

В настоящее время на большинстве самолетов применяются жидкост- но-газовые амортизаторы (рис 6.5), в которых жидкость и трущиеся детали рассеивают энергию удара, а

газ служит упругим элементом. Принцип работы амортизатора

заключается в следующем. Удар при посадке или наезде на препятствие передается штоку амортизатора, который, вдвигаясь в цилиндр (прямой ход), сжимает газ, поглощающий часть посадочной энергии. Кроме того, учитывая, что плунжер входит в полость штока, рабочая жидкость через калиброванные отверстия в плунжере (или через зазоры меж-

ду штоком и плунжером) перетекает из нижней полости в верхнюю. На

© НИЛ НОТ НИО УВАУ ГА(и), 2009 г

Составитель: В.М. Корнеев

50

 

Разработчик: С. П. Пугин.