
м
Структура
напівпровідникової ІС
Плівкова ІС - це ІС, у якої всі елементи і міжз’єднання виконані у вигляді різних плівок, нанесених на поверхню діелектричної підкладки.
Гібридна ІС являє собою комбінацію плівкових пасивних елементів і активних компонентів, розміщених на спільній діелектричній підкладці (рис. ).
Суміщена ІС це мікросхема, в якій активні елементи розміщені в об'ємі напівпровідникового кристала, а пасивні, виготовлені за плівковою технологією, наносяться на попередньо ізольовану діелектриком поверхню напівпровідникового кристала (рис. ).
Структура
ГІС
Корпус ІС – призначений для захисту ІС від зовнішніх впливів і для з'єднання із зовнішніми електричними колами за допомогою виводів. Разом із корпусними випускаються і безкорпусні ІС.
Підкладка ІС – заготовка, призначена для виготовлення на ній елементів гібридних ІС, міжз’єднань і контактних площадок.
Напівпровідникова пластина заготовка з напівпровідникового матеріалу, яка застосовується для виготовлення напівпровідникових інтегральних схем (рис. поз. 1).
Кристал ІС, чіп – частина напівпровідникової пластини (прямокутник 5х5 мм), у об'ємі і на поверхні якої сформовані елементи ІС, міжз’єднання і контактні майданчики (рис. поз. 2).
Контактні майданчики – металізовані ділянки на підкладці або кристалі, призначені для приєднання до виводів корпуса ІС, а також для контролю її електричних параметрів і режимів (рис. поз. 3).
Мікроскладання – мікроелектронний виріб, який виконує певну функцію і складається з елементів, компонентів і інтегральних схем (корпусних і безкорпусних) з метою мікромініатюризації електронної техніки.
Мікроблок – мікроелектронний виріб, який, окрім мікроскладань, містить ще інтегральні схеми і компоненти.
Серія ІС – це сукупність ІС, які можуть виконувати різноманітні функції, але мають єдине конструктивно-технологічне використання і призначені для спільного застосування (напр., серія 133, серія 155, серія 140)
Напівпровідникова
пластина, чіп, контактний майданчик
1. За технологією виготовлення ІС поділяють на:
напівпровідникові;
плівкові;
гібридні.
2. За функціональними призначеннями:
аналогові (АІС);
цифрові (ЦІС).
3. За ступенем інтеграції, який оцінюється показником k = lgNe,
де Ne – число елементів і компонентів у складі ІС:
малої інтеграції:
Ne ≤ 10, k = 1,
10 < Ne ≤ 100, k = 2;
середньої інтеграції:
100 < Ne ≤ 1000, k = 3;
великі інтегральні схеми (ВІС):
1000 < Ne ≤ 10000, k = 4;
надвеликі інтегральні схеми (НВІС):
10000 < Ne ≤ 100000, k = 5.
4. За функціональними можливостями:
універсальні;
спеціалізовані.
5. За типом основного активного елемента:
ІС на біполярних транзисторах;
ІС на уніполярних транзисторах (МДН, КМДН).
6. За конструктивним виконанням:
корпусні;
без корпусні.
Упроваджена на підставі ГОСТ 17021-75
1-й елемент: 1, 5, 6, 7 – напівпровідникові ІС;
2, 4, 8 - гібридні ІС;
3 - інші (плівкові, вакуумні).
2-й елемент
Означає порядковий номер розробки (точніше, даної серії). Може містити 2-3 цифри.
3-й елемент: ЛА – логічний елемент І – НЕ; ЕН – стабілізатор напруги; ТВ – JК тригер; ТМ – D-тригер; ТМ D-тригер; ТР – RS-тригер; ІP – регістр; ІE – лічильник; СА – компаратор; ПВ – АЦП; ПА – ЦАП; УВ – підсилювач ВЧ; УР – підсилювач проміжної частоти; УН – підсилювач НЧ; УВ – відеопідсилювач; УЕ – емітерний повторювач; ФВ – фільтр ВЧ; ФН – фільтр НЧ; ГС – генератор синусоїдних сигналів.

Основою мікроелектроніки є метод інтеграції (об'єднання) елементів. При цьому сукупність елементів ІС і міжз'єднань виготовляється в єдиному технологічному процесі – одержують закінчений функціональний вузол. Автономно або разом із додатковими елементами цей вузол власне утворює інтегральну схему.
Застосовуються дві основні технології виготовлення ІС – гібридна і напівпровідникова.
До технології виготовлення ІС ставлять 2 суперечливі вимоги:
1 Підвищений ступінь інтеграції (щільності упакування).
Втім, збільшення ступеня інтеграції ІС обмежує сферу її застосування, тобто призводить до зниження універсальності схеми.
Наявність двох технологій – гібридної і напівпровідникової – дещо розв'язує цю суперечність. Максимальну щільність упакування дає напівпровідникова технологія, проте вона є складною, і властивості елементів, виготовлених за нею, не завжди задовольняють вимогам ТУ (наприклад, розкид параметрів і т. ін.) Гібридна технологія є більш економною і пристосованою до спеціальних прецизійних пристроїв, дозволяє одержати ІС із кращими властивостями, хоча при цьому з низьким ступенем інтеграції.
Варто пам'ятати, що, крім напівпровідникових і гібридних ІС, існують ще й плівкові ІС.
Плівкова ІС – це така, у якої елементи і міжз'єднання виготовляються з плівок необхідної форми з різними електрофізичними властивостями і розміщуються на поверхні діелектричної підкладки або діелектричної плівки. Однак плівкова технологія не дозволяє виготовляти активні елементи із задовільними параметрами. Відтак чисто плівкові ІС – це пасивні схеми (переважно резистивні розподільники напруги, набір резисторів і конденсаторів, резистивно-ємнісні схеми). Тому всі переваги плівкової технології застосовуються у високопрецизійних гібридних ІС.
Гібридна технологія полягає у наступному (рис.). На відшліфовану діелектричну підкладку (скло, кераміка) за допомогою масок наносяться плівки резистивних і провідникових матеріалів, а також контактні площадки. Активні елементи за плівковою технологією, як уже зазначалося, не виготовляються, а виробляються окремо, у безкорпусному виконанні, а потім підпаюються. Підкладка розрізається на окремі ІС, які вкладаються до корпусів і приєднуються до контактних площадок виводів. Корпуси герметизуються і маркуються.
Розрізняють два різновиди плівкових ІС:
товстоплівкові, у яких товщина нанесених плівок d > 10 мкм;
тонкоплівкові, у яких d ≤ 1-2 мкм.
Нанесення резистивних і провідникових плівок здійснюється через випарювання у вакуумі різноманітних матеріалів за допомогою трафаретів: ніхрому, двоокису олова і т.ін.
Плівкові резистори (рис.) мають значно більший діапазон номінальних значень і менший розкид параметрів порівняно з дифузійними резисторами (виготовленими за напівпровідниковою технологією).
Опір плівкового резистора залежить від товщини і ширини плівки, її довжини і матеріалу. Для створення більших опорів застосовуються з'єднання кількох плівок, резистори зигзагоподібної форми тощо.
Плівкові
резистори:
1 – резистивна
плівка (ніхром);
2 – провідникова
плівка (алюміній);
3 – діелектрична
підкладка
Плівкові конденсатори створюються шляхом почергового нанесення на діелектричну підкладку провідникових і діелектричних плівок (рис.1).
Плівкова технологія дозволяє виконувати також індуктивності (у тому числі і трансформатори) у вигляді плоских спіралей прямокутної форми (рис. 2). На площі, яка не перевищує 25 мм², можна одержати індуктивність L ≤ 0,5 мкГн. Наноситься також феромагнітна плівка для формування осердя.
Плівковий
конденсатор Плівкова
котушка індуктивності
Напівпровідникова (монолітна, твердотільна) технологія більш придатна для масового виробництва ІС з високим ступенем інтеграції, характеристики яких не критичні щодо розкиду параметрів пасивних елементів, їх температурної нестабільності і впливу паразитних зв'язків. За напівпровідниковою технологією виготовляється більшість цифрових інтегральних схем і багатофункціональних аналогових ІС. Надійність напівпровідникових мікросхем значно вища, ніж у гібридних ІС, внаслідок невеликої кількості припаювань.
Усі елементи напівпровідникових ІС виконані всередині напівпровідникового кристала – чіпа.
Товщина чіпа – 200-300 мкм, горизонтальні розміри – від 1,51,5 мм до 6,06,0 мм.
Планарно-дифузійна технологія виготовлення біполярних напівпровідникових інтегральних схем
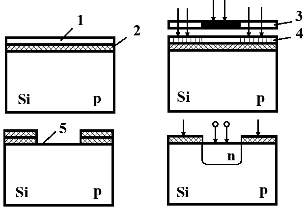
На кремнієвому кристалі (рис.) створюється тонкий шар двоокису SiO2. На нього наноситься шар 1 фоторезиста. Це речовина, яка під дією опромінення стає кислотостійкою. Фоторезист опромінюється ультрафіолетовими променями через фотошаблон 3 (фотопластинка з відповідним рисунком із прозорих і непрозорих ділянок). Опромінені ділянки 5 витравлюються травником. Цей процес називається фотолітографією. На ділянках 5 утворюються вікна, через які здійснюється процес дифузії донорних атомів із нагрітого газу 6.
и
Технологія
виготовлення біполярних структур ІС
Таким чином, у кремнієвому кристалі формуються n – області (так звані «кишені»), які відповідають емітерам усієї сукупності біполярних транзисторів цієї ІС. При повторенні операцій послідовно формуються області бази, потім колектора. Паралельно формуються пасивні елементи, а на поверхні кристала – міжз'єднання і контактні площадки.
Планарно-дифузійна технологія має такі недоліки:
нерівномірний розподіл домішок у областях;
нерівномірний опір колектора і збільшення його значення;
відсутні чіткі межі переходів, що призводить до зменшення напруги пробою між колектором і підкладкою;
підкладка дуже впливає на електричні параметри транзистора ІС.
Натомість біполярні інтегральні транзистори, виготовлені за планарно-епітаксійною технологією, відзначаються рівномірним розподілом домішок (рис. ).
У них на p-підкладці вирощується колектор n - типу. Для зменшення опору колектора, а отже, зниження втрат потужності і ступеня впливу підкладки створюють прихований n+- шар, який має менший порівняно з епітаксійним n - шаром опір. Цей прихований шар створюється за допомогою додаткової дифузії донорних домішок у відповідні ділянки підкладки.