Тема: «Лавинно-пролітниі діоди».
Нагальна необхідність мініатюризації апаратури НВЧ, підвищення її економічності і надійності викликала швидке зростання робочих частот напівпровідникових приладів. Поряд з великими успіхами в технології транзисторів цьому сприяло відкриття нових фізичних явищ в напівпровідниках.
Одним з перших явищ такого роду було виявлене НВЧ випромінювання при ударній іонізації в р-п - переходах, яке послужило основою для створення нових приладів – лавинно-пролітних діодів (ЛПД).
Лавинно-пролітний діод - напівпровідниковий діод, що має негативний диференціальний опір в НВЧ- діапазоні внаслідок розвитку так званої лавинно-пролітної нестійкості. Остання обумовлена ударною іонізацією та дрейфом носіїв заряду в р-n - переході в режимі зворотного зміщення.
Теоретичні розробки з описом ідеї створення ЛПД вперше були викладені У. Рідом в 1958 році, тому базовий варіант лавинно-пролітного діода на основі асиметричного p-n-переходу зазвичай називають діодом Ріда.
Генерація НВЧ коливань в такого сорту германієвих структур вперше спостерігалася в 1959 році Тагером А.С., а потім в 1965 році на кремнієвих діодах Р. Л. Джонсоном.
Виникнення негативного опору в ЛПД обумовлено двома фізичними процесами, що мають кінцеві часи протікання в області просторового заряду (ОПЗ) p-n-переходу в режимі лавинного множення. Перший процес пов'язаний з часом наростання лавинного струму, а другий процес пов'язаний з проходженням носіїв через пролітну область. Їх суперпозиція призводить до появи фазового зсуву між струмом і напругою на відводах діода. Одним з основних критеріїв, необхідним для роботи ЛПД, є приблизна рівність між періодом коливань НВЧ поля і характерним часом прольоту носіїв через ОПЗ.
В наш час ЛПД є одним з найбільш потужних джерел НВЧ-випромінювання.
Основними представниками сімейства ЛПД є діод Ріда, асиметричний різкий p-n-перехід, симетричний p-n-перехід (діод з двома дрейфовими областями), діод з двошаровою базою, діод з тришаровою базою (модифікований діод Ріда) і p-i-n-діод.
Для виготовлення ЛПД використовують кремній та арсенід галію.
Розглянемо будову і параметри ЛПД на основі класичного діода Ріда зі структурою p+-n-i-n+ (рис.). Діод складається з сильно легованого р+-еміттера і неоднорідно легованої n-бази (рис. 1, а). Вузький шар n-бази легований сильно (n-шар), інша частина бази легована слабо (i-шар). Розподіл поля в такій структурі для зворотної напруги U0, більшої, ніж напруга пробою Ui, показано на рис. 1 (б). При цьому напруженість поля в області р-n-переходу перевищує поле ударної іонізації Ei і поблизу р-n-переходу генеруються електронно-діркові пари (область множення). Дірки швидко пролітають до електрода крізь вузький сильно легований емітер, не надаючи істотного впливу на роботу приладу. Електрони, покинувши область множення, пролітають потім протяжну слабо леговану n- область (область дрейфу).
|
|
В області множення і в області дрейфу електрони рухаються з однією і тією ж дрейфовою швидкістю, що не залежить від напруженості поля - швидкістю насичення υs. Значення поля Es, при якому дрейфова швидкість електронів насичується, становить для електронів в Si і GaAs величину 104 В/см, що значно менше значення поля в області множення (3-5) 105 В/см. Характерне значення υs ~107 см/с.
|
|
Схема, зонна діаграма, розподіл концентрації легуючої домішки N, електричного поля E та коефіцієнта ударної іонізації a в діоді Ріда при напрузі, близькій до напруги лавинного пробою |
Нехай крім постійної напруги U0 до діода прикладена змінна напруга U частотою f (рис. а). З ростом напруги U відбувається різке збільшення концентрації носіїв в області множення внаслідок експоненціального характеру залежності коефіцієнта ударної іонізації від поля. Однак оскільки швидкість росту концентрації електронів dn/dt пропорційна вже наявній в області множення концентрації n, момент, коли n досягає максимуму, запізнюється по відношенню до моменту, коли максимуму досягає напруга на діод (рис. б). В умовах, коли υs не залежить від поля, струм провідності в області множення Iс пропорцій концентрації n: Ic = enυsS (е - заряд електрона, S - площа діода). Тому крива на рис. б являє собою також і залежність струму Ic в області множення від часу.
|
|
Коли напруга на діоді спадає і концентрація носіїв в області множення різко зменшується, струм на електродах приладу I (повний струм) залишається постійним (рис. в). Згусток електронів що сформувався в області множення рухається через область дрейфу з постійною швидкістю υs. Поки згусток електронів не увійде у контакт, струм через діод залишається постійним (теорема Рамо - Шоклі). З порівняння рис. а і в видно, що напруга, яка подається на ЛПД, коливається практично в протифазі зі струмом, таким чином має місце від'ємний диференціальне опір. Цей опір є частотно-залежним. Час прольоту носіїв через область дрейфу, t =L/υs, де L-довжина області дрейфу, практично дорівнює повній довжині діода. Зміщення фаз між струмом і напругою може бути реалізоване тільки на частоті f =1/t (і на гармоніках). Більш точний розрахунок встановлює співвідношення між f і L: f = pv/L |
|
Залежність напруги (а), концентрації носіїв (б) та струму (в) на ЛПД від часу
|
Механізм виникнення від'ємного диференціального опору є малосигнальним: коливання спонтанно наростають в резонаторі, налаштованому на відповідну частоту, при подачі на діод досить великого постійного зміщення.
На рис.1 і 2 показана типова структура та конструкція ЛПД із структурою р+-n-n+, змонтованого на тепловідводній пластині.
|
|
Структура лавинно-пролітного діода 1 - контактний шар; 2 – область утворення лавини (р-n-перехід); 3 – область дрейфу електронів; 4 - область дрейфу дірок |
|
|
Конструкція лавинно-пролітного діода з мезаструктурою, змонтованої на тепловідводі: 1 - омічний контакт; 2 - сильно легований шар з електронною провідністю (n+- шар); 3 - слабко легований шар з електронною провідністю (n-шар); 4 - сильно легований шар з дірковою провідністю (р+ - шар); 5 - тепловідводна металізована пластина |
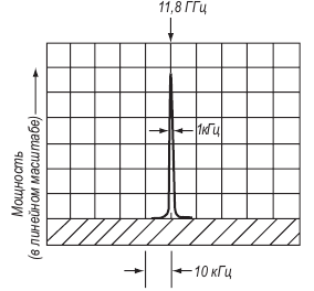
Напівпровідникова ЛПД структура зазвичай монтується в типовий НВЧ корпус. Як правило, діод кріпиться дифузійною областю або металевим електродом на мідний або алмазний тепловідвід для забезпечення ефективного охолодження p-n-переходу під час роботи. Для роботи на частотах, що відповідають резонансної частоті власного контуру діода, достатньо помістити його в розріз коаксіального контуру. При роботі на частотах, відмінних від частоти власного контуру діода, останній розміщують у зовнішньому резонаторі. На рис.1 показана типова схема НВЧ резонатора для вимірювання спектра НВЧ коливань, що генеруються ЛПД, а на рис.2 - спектр НВЧ коливань, що генеруються ЛПД в режимі лавинного множення з негативним опором.
|
|
|
|
НВЧ-резонатор для ЛПД міліметрового діапазону довжин хвиль |
Спектр коливань, що генеруються p-i-n-діодом (U = 54 В)
|
|
|
|
|
Характеристики ЛПД. Поруч у експериментальними точками вказані значення ККД в процентах. SD - одна область дрейфу; DD - дві області дрейфу
|
Діод Ганна - напівпровідниковий діод, що складається з однорідного напівпровідника, що генерує високочастотні коливання при прикладанні постійного електричного поля.
Фізичною основою, що дозволяє реалізувати такі властивості в діоді, є ефект Ганна, який полягає в генерації високочастотних коливань електричного струму в однорідному напівпровіднику з N-подібною вольт-амперною характеристикою.
Ефект Ганна виявлений американським фізиком Дж. Ганном (J. Gunn) в 1963 г. в кристалі арсеніду галію (GaAs, сполука А3В5) з електронною провідністю. Ганн виявив, що при прикладанні електричного поля E (Eпор ≥ 2-3 кВ/см) до однорідних зразків з арсеніду галію n-типу в зразках виникають спонтанні коливання струму. Пізніше він встановив, що при E> Eпор у зразку, зазвичай у катода, виникає невелика ділянка сильного поля - «домен», який дрейфує від катода до анода зі швидкістю ~ υ = 106 м/с і зникає на аноді. Потім у катода формується новий домен, і процес періодично повторюється. Моменту виникнення домену відповідає падіння струму, що протікає через зразок. Моменту зникнення домену у анода - відновлення колишньої величини струму. Період коливань струму приблизно дорівнює прогонному часу, тобто часу, за який домен дрейфує від катода до анода.

Ефект Ганна спостерігається головним чином у двухдолинних напівпровідниках, зона провідності яких складається з однієї нижньої долини і кількох верхніх долин. Для того, щоб при переході електронів між долинами виникав від'ємний диференціальний опір, повинні виконуватися наступні вимоги:
середня теплова енергія електронів повинна бути значно меншою енергетичного зазору між побічною та нижньою долинами зони провідності, щоб за відсутності прикладеного зовнішнього електричного поля більша частина електронів перебувала у нижній долині зони провідності;
ефективні маси і рухливості електронів у нижній і верхніх долинах повинні бути різними. Електрони нижньої долини повинні мати високу рухливість μ1, малу ефективну масу m1* і низку густину станів. У верхніх побічних долинах електрони повинні мати низьку рухливість μ2, більшу ефективну масу m2* і високу густину станів;
енергетичний зазор між долинами повинен бути меншим, ніж ширина забороненої зони напівпровідника, щоб лавинний пробій не наступав до переходу електронів в верхні долини.
З вивчених і таких що знайшли застосування напівпровідникових матеріалів переліченим вимогам найбільше відповідає арсенід галію (GaAs) n-типу.
|
|
Розглянемо міждолинний перехід електронів в GaAs. Прикладемо до однорідного зразку електричне поле. Якщо напруженість поля в зразку мала, то всі електрони перебувають у нижній долині зони провідності (в центрі зони Бріллюена). Оскільки середня теплова енергія електронів значно менша енергетичного зазору між дном верхньої та нижньої долин зони провідності, вони не переходять в верхню долину (рис. ).
|
|
Схематична діаграма, що показує енергію електрона в залежності від хвильового числа в області мінімумів зони провідності арсеніду галію n-типу
|
Електрони нижньої долини мають малу ефективну масу m1* і високу рухливість μ1. Густина струму, що проходить через зразок, визначається концентрацією електронів у нижній долині n1 (n1 = n0, де n0 - рівноважна концентрація електронів в напівпровіднику):
J = en1υ = en1μЕ.
Збільшимо прикладена електричне поле. З ростом поля зростає швидкість дрейфу електронів. На довжині вільного пробігу l електрони набирають енергію eEl, віддаючи при зіткненнях з фононами кристалічної гратки меншу енергію. Коли напруженість поля досягає порогового значення Eпор, з'являються електрони, здатні переходити в верхню долину зони провідності.
Подальше збільшення поля приводить до зростання концентрації електронів у верхній долині. Перехід з нижньої долини у верхню супроводжується значним зростанням ефективної маси і зменшенням рухливості, що веде до зменшення швидкості дрейфу. При цьому на вольт-амперній характеристиці зразка з'являється ділянка з негативним диференціальним опором (НДО)
N-подібна
вольт-амперна характеристика