Материал: fomin-n-v-sistemy-upravlenija-elekt-437151079-unlocked

Внимание! Если размещение файла нарушает Ваши авторские права, то обязательно сообщите нам

1.7. Защиты в схемах электропривода

Нормальная эксплуатация электроустановок и электрооборудования возможна при правильной организации их защиты в аварийных режимах. Защитой называют аппарат или узел схемы, который отключает электропривод после возникновения в нем каких – либо аварийных режимов. Аварийными режимами в электрических цепях двигателя могут быть: короткие замыкания, кратковременные и длительные перегрузки по току двигателя, перебои в электроснабжении, недопустимое снижение напряжения в сети и др. Аварийными режимами для механической части электропривода могут быть: заклинивание механизма, расцепление рабочего органа (РО) с валом двигателя, превышение допустимой скорости двигателя или РО, выход РО за пределы зоны допустимых перемещений.

В электроприводах постоянного и переменного тока применяют следующие основные виды защит:

Максимально – токовая защита обеспечивает немедленное отключение силовой цепи при возникновении недопустимо больших токов (при коротких замыканиях).

В силовых цепях эта защита осуществляется (рис.1.16 – 1.18):

-плавкими предохранителями;

-автоматическими выключателями;

-максимально – токовыми реле

Рис.1.16. Максимально – токовая защита плавкими предохранителями FU двигателей переменного (а) и постоянного (б)

тока

41

Рис.1.17. Максимально – токовая защита двигателей переменного (а) и постоянного (б) тока автоматами QF

Ток плавкой вставки в предохранителях и ток уставки автомата или максимально – токового реле выбирают для асинхронных короткозамкнутых двигателей из следующих условий:

-при нормальном пуске (время пуска менее 5 с) Iвсн ≥0,4 Iп;

-при тяжелом пуске (время пуска более 10 с) ток плавкой вставки равен Iвсн≥(0,5…0,6)Iп;

-независимо от условий пуска Iвсн = (1,3…1,5)Iп,

-где Iп – пусковой ток двигателя.

Для асинхронных двигателей с контактными кольцами (с фазным ротором) и двигателей постоянного тока номинальный ток плавкой вставки принимается равным Iвсн = (1,0…1,25)Iндв, Iвсн = (1,2…1,3)Iп.

Рис.1.18. Максимально – токовая защита двигателей переменного (а) и постоянного (б) тока при помощи реле максимального тока FA с

42

воздействием на линейный контактор KM (в) и реле напряжения FV (г)

Минимально – токовая защита (при обрыве обмотки возбуждения) обеспечивает отключение двигателя от сети.

Эта защита осуществляется при помощи минимального токового реле KF, включенного в контролируемую цепь, как правило, в цепь обмотки возбуждения двигателя постоянного тока или синхронного

(рис.1.19,а).

При протекании в цепи номинального тока возбуждения, реле KF втянуто и его контакт в цепи катушки контактора KM замкнут, разрешая подключение двигателя к напряжению питающей сети.

При снижении тока в контролируемой цепи ниже значения тока уставки, реле KF отключается, его контакт в цепи катушки KM размыкается, КМ обесточивается, что приводит к отключению двигателя от сети.

Обрыв обмотки возбуждения в машинах постоянного тока может привести к недопустимому возрастанию якорного тока при работе под нагрузкой, или к недопустимому возрастанию угловой скорости вращения электродвигателя при работе на холостом ходу.

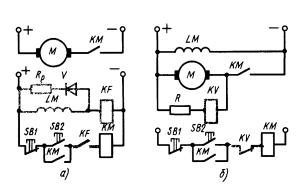
Рис.1.19. Схема защиты двигателя постоянного токаот «обрыва поля» (а) и превышения напряжения (б)

Защита от перенапряжения в обмотке возбуждения

необходима при отключении обмотки от сети. В этом случае из–за большой индуктивности обмотки возбуждения, может возникнуть ЭДС самоиндукции, значительно превышающая номинальную, что может привести к пробою изоляции обмотки. Для предотвращения этого режима обмотку обычно шунтируют разрядным резистором Rр, величина

43

сопротивления которого выбирается в 3 – 6 раз больше сопротивления обмотки возбуждения (рис.1.19,а). Для снижения потерь электрической энергии в цепь разрядного резистора включается диод V, предотвращающий протекание тока сети по резистору Rр.

Защита от превышения напряжения обеспечивает отключение двигателя от сети при увеличении напряжения более (10 – 15)% от номинального. При этом с помощью реле напряжения KV (рис.1.19,б) отключается от сети обмотка якоря двигателя.

Тепловая защита двигателя (защита от обрыва фазы) –

обеспечивает отключение двигателя от сети при длительной перегрузке его током, несколько превышающим номинальный.

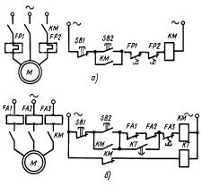
При продолжительном режиме работы асинхронного двигателя используют два тепловых реле FP1 и FP2 (рис.1.20,а), или автоматические выключатели с тепловым расцепителем (рис.1.20,б). При повторно – кратковременном режиме работы асинхронного двигателя применяют два максимально – токовых реле FA1 и FA2 (рис.1.20,б), при этом реле FA3 служит для обеспечения максимально – токовой защиты. Для асинхронных двигателей используют два тепловых или максимально

– токовых реле в двух фазах, для машин постоянного тока – одно реле.

Рис.1.20. Тепловая защита с помощью тепловых (а) и максимально

– токовых (б) реле

Номинальный ток нагревательного элемента Iнэ теплового реле и теплового расцепителя автомата Iтр выбирают из условия Iнэ = Iтр ≈ Iндв.

44

В схему, показанную на рис.1.20,б вводится реле времени КТ, которое шунтирует контакты реле FA1 и FA2 во время пуска двигателя, т. к. пусковой ток значительно больше тока срабатывания реле FA1 и FA2. Ток уставки максимально – токовых реле FA1 и FA2 выбирают из условия:

I< Iуст < I,

где I, I– токи при работе двигателя на двух и трех фазах.

При обрыве одной из фаз асинхронного двигателя, он будет продолжать работу на двух фазах, но при этом возрастет потребляемый из сети ток, что вызовет срабатывание либо тепловых реле, либо максимально – токовых реле, приводящее к отключению двигателя от сети.

Защита от самозапуска (нулевая защита) обеспечивает отключение двигателя от сети при исчезновении или чрезмерном снижении напряжения сети. При кнопочном управлении (рис.1.21,а) защиту осуществляет контактор KM, который, отпадая, размыкает свой блокировочный контакт, шунтирующий кнопку SB2, и поэтому самовключения контактора не произойдет.

При управлении с помощью командоконтроллера используют реле минимального напряжения FV (рис.1.21,б), которое включается при нулевом положении командоконтроллера и шунтирует контакт SM0, обеспечивая работу схемы с нулевого начального положения.

Рис.1.21. Узлы схем нулевой защиты двигателейпеременного и постоянного тока с помощьюлинейного контактора КМ (а) и реле

напряжения FV (б)

45