Материал: anishik_v_m_uglov_v_v_cherenda_n_n_rezerfordovskoe_obratnoe

Внимание! Если размещение файла нарушает Ваши авторские права, то обязательно сообщите нам

Рис. 1.5. Спектр РОР от системы: пленка Al-Ni на углеродной подложке

Рис. 1.6. Спектр РОР от системы: пленка Al-Ni на молибденовой подложке

11

Контрольные вопросы

1.Какой физический процесс лег в основу метода РОР?

2.Какие ограничения налагаются на энергию бомбардирующей частицы?

3.Что такое кинематический фактор? От чего он зависит?

4.Разрешение по массе. От каких величин оно зависит?

5.Укажите cхематично на спектре РОР местоположение сигналов от элементов, локализованных на поверхности, в следующих системах: SiO2, W3Mn78Si19.

ЛАБОРАТОРНАЯ РАБОТА № 2

ОПРЕДЕЛЕНИЕ ОСНОВНЫХ ФИЗИЧЕСКИХ ПАРАМЕТРОВ МЕТОДА РЕЗЕРФОРДОВСКОГО ОБРАТНОГО РАССЕЯНИЯ

Цель работы: по спектру РОР определить параметры, необходимые для проведения количественного анализа состава материала мишени и построения зависимостей концентрации элементов от глубины.

Проведя качественный элементный анализ образца на основе спектра РОР (см. лабораторную работу № 1), можно определить состав поверхности исследуемого материала. Однако метод РОР позволяет провести не только качественный, но и количественный анализ. Для этого необходимо ввести следующие понятия: сечение рассеяния, энергетические потери, сечение торможения, высота энергетического спектра, а также научиться определять эти величины по спектру РОР.

1.Сечение рассеяния

Впредыдущей лабораторной работе была установлена связь между

энергией Е0 налетающей частицы массы М1 и энергией КМЕ0, которой эта частица обладает после упругого столкновения с первоначально покоя-

щейся частицей массы М2. Теперь определим, как часто происходят такие столкновения, приводящие к актам рассеяния на определенный

угол Θ. Для этого вводится понятие дифференциального сечения рассеяния. Пусть узкий пучок быстрых частиц нормально падает на тонкую однородную мишень, которая шире пучка. Детектор, расположенный под углом Θ к направлению падения, регистрирует каждую частицу, рассеян-

12

ную в дифференциальном телесном угле d(рис. 2.1). Если Q есть полное число частиц, падающих на мишень, а dQ – число частиц, зарегистрированных детектором, то дифференциальное сечение рассеяния dσ/dопределяется следующим образом:

 

1

 

 

 

 

dσ =

dQ

1

 

,

(2.1)

d

 

 

 

 

 

Nt dQ

 

 

где N – атомная плотность мишени, t – толщина мишени.

Рис. 2.1. Схема обратного рассеяния ионов, падающих на мишень толщиной t

Если рассмотреть количество ионов, рассеянных в конечный телесный угол , а не в дифференциальный телесный угол d, то вероятность такого события описывается интегральным сечением рассеяния Σ:

= dσ d. (2.2)

d

ВРОР телесный угол для типичной детектирующей системы довольно мал (~10 –2 ср) и угол рассеяния хорошо определен. Тогда удобно

ввести среднее дифференциальное сечение рассеяния σ:

σ =

1

dσ d.

(2.3)

 

 

d

 

13

Для очень малых углов детекторов σ → dσ/d, обычно эту величину называют сечением рассеяния. Дифференциальное сечение рассеяния в лабораторной системе отсчета определяется формулой Резерфорда:

 

 

 

 

 

 

 

 

 

 

 

 

M1

 

 

 

 

2

 

 

2

 

 

 

 

 

 

 

 

 

 

 

 

 

 

 

 

1/ 2

 

 

 

 

 

 

 

 

 

 

 

 

 

 

 

 

 

 

 

 

 

 

 

 

 

2

 

 

[1

 

 

 

 

 

sin Θ

 

 

]

 

+ cos Θ

 

 

 

Z Z

 

e

2

 

M

2

 

 

 

 

dσ

 

2

 

 

4

 

 

 

 

 

 

 

 

 

 

 

 

 

 

 

=

1

 

 

 

 

 

 

 

 

 

 

 

 

 

 

 

 

 

 

 

.

(2.4)

d

16πε0 E

sin4 Θ

 

 

 

 

 

 

 

 

 

 

 

 

 

 

2

 

 

 

 

 

 

 

 

 

 

M1

 

 

 

 

1/ 2

 

 

 

 

 

 

 

 

 

 

 

 

 

[1

 

 

 

 

Θ

 

 

 

 

 

 

 

 

 

 

 

 

 

 

 

 

 

sin

 

]

 

 

 

 

 

 

 

 

 

 

 

 

 

M

2

 

 

 

 

 

 

 

 

 

 

 

 

 

 

 

 

 

 

 

 

 

 

 

 

 

где Z1, Z2 – атомные номера соответственно налетающей частицы и атома мишени; Е – энергия частицы в мишени перед рассеянием; е – заряд электрона, εo – электрическая постоянная (8,854 10 – 12 Ф/м).

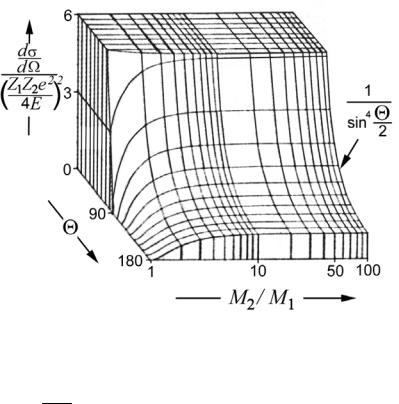
Рис. 2.2. Зависимость дифференциального сечения рассеяния от Θ и М21

На рис. 2.2 представлена зависимость dσ/dот угла рассеяния Θ и

отношения 1 = M 2 , определяемая уравнением (2.4). Для случая x M1

М1<<М2, формула (2.4) может быть представлена в виде степенного ряда:

dσ

 

Z1Z

2e

2

2

 

 

 

M1

 

 

 

 

 

 

 

4 Θ

 

 

.

(2.5)

 

=

 

 

 

 

 

d

 

16πε0 E

 

 

2

M

2

 

 

 

 

 

 

 

 

 

 

 

 

 

 

 

 

14

Это выражение обнаруживает следующие существенные зависимости дифференциального сечения рассеяния:

1.dσ/dпропорционально Z12. Тогда выход обратного рассеяния для заданного атома мишени при использовании пучка ионов He (Z1=2) в четыре раза больше, чем в случае протонного пучка H (Z1=1), но составляет только одну девятую от выхода в случае использования ионов угле-

рода (Z1= 6);

2.dσ/dпропорционально Z22. Для любой данной бомбардирующей частицы тяжелые атомы являются гораздо более эффективными центрами рассеяния, чем легкие атомы;

3.dσ/dобратно пропорционально квадрату энергии бомбардирующей частицы Е2, следовательно, выход рассеянных частиц быстро увеличивается при уменьшении ее энергии.

Значения dσ/dдля различных элементов и энергий падающих ионов гелия приведены в приложении 1. Следует отметить, что в дальнейшем анализ спектров будет базироваться на модели однократного рассеяния. То есть предполагается, что ион, попавший в детектор, испытывает только один акт рассеяния. В реальных условиях эта модель применима не всегда, что приводит к необходимости введения соответствующих поправок для расчетов.

2. Энергетические потери. Сечение торможения

Прохождение частицы через любое вещество сопровождается потерей ею энергии, которая передается атомам вещества. Величина энергетических потерь Е при прохождении расстояния t зависит от вида бомбардирующих частиц, от плотности и состава мишени и от скорости частиц. Для определенной частицы и энергии в определенной среде энергетические потери на единицу длины, обозначаемые dE/dt, при энергии Е падающего пучка определяются как:

lim

 

E

=

dE

(E) .

(2.6)

t 0 t

dt

 

 

 

 

Тогда энергия Е после прохождения пути t дается выражением:

 

E(t) = E

 

 

t

 

(2.7)

0

dE dt .

 

 

 

0 dt

 

 

Часто удобно заменять реальную функцию dE/dt приближенной. В простейшем случае dE/dt заменяют значением при энергии Е0 падающей частицы (рис. 2.3):

15