Геодезическая сеть, развиваемая на основе геодезической сети более высокого порядка, называется геодезической сетью сгущения.
Для обоснования съемок масштаба 1:5000 и крупнее, а также для обеспечения топографо-геодезических работ при инженерных изысканиях и строительстве зданий и сооружений государственную геодезическую сеть сгущают путем построения дополнительной сети. Ранее такие сети сгущения называли геодезическими сетями местного значения, или местными сетями.
Плотность пунктов государственной геодезической сети на 1 км2 должна быть не менее: четырех пунктов на застроенных территориях, одного пункта на незастроенных, двух пунктов на вновь осваиваемых.
При недостаточной плотности пунктов государственной плановой геодезической сети прокладывают сеть 4-го класса, которая может иметь некоторое отличие от государственной. Если на расстоянии 5 км от границ участков работ отсутствуют пункты государственной геодезической сети и площади участков не превышают 20 км2 (для съемки в масштабе 1:2000 и крупнее), то сети сгущения строят как локальные.
Геодезические сети сгущения строят методом триангуляции, трилатерации и полигонометрии 4-го класса, а также 1-го и 2-го разрядов.
Триангуляционные, трилатерационные и полигонометрические сети одинаковых разрядов являются равноценными в отношении точности. Поэтому геодезические сети сгущения создают тем методом, который дает наибольшую экономию сил и денежных средств.
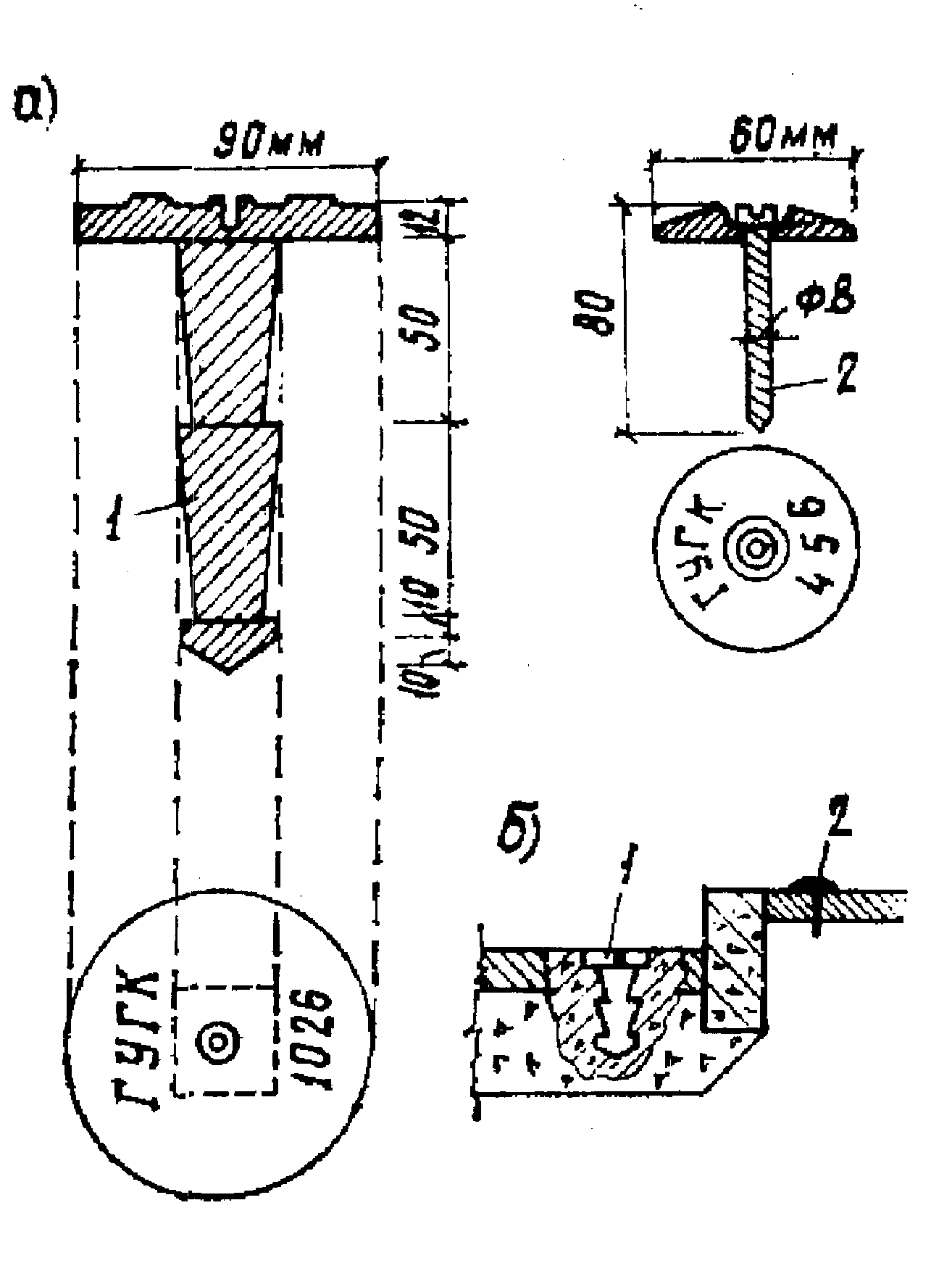
Каждый пункт сети сгущения любого разряда закрепляется на местности центром (рис. 18 и 19) в соответствии с действующими нормативными документами. Наружными знаками центров служат вехи и простые пирамиды высотой до 6 м.

Рис. 19. Закрепление пунктов сетей сгущения:
а центр пункта полигонометрии на участке
с твердым покрытием: 1 марка; 2 дюбель-гвоздь;
б закрепление марки и гвоздя в твердом покрытии
Высотную сеть сгущения развивают в отдельных районах при недостаточном числе реперов государственной нивелирной сети для обоснования съемок в масштабе 1:50001:500 и инженерно-геодезических работ. Ее создают проложением отдельных ходов, как нивелирование II, III и IV классов, но со своими характеристиками:
длина хода между исходными пунктами высшего класса: 40 км для II класса, 15 км для III класса;
длина хода между узловыми точками: 10 км для II класса, 5 км для III класса;
средняя квадратическая погрешность среднего превышения на 1 км хода: 0,8 мм для II класса, 1,7 мм для III класса и 6,7 мм для IV класса;
расстояние между знаками: на застроенной территории 2 км для II класса, 0,2 км для III и IV классов; на незастроенной территории 5 км для II класса, 0,5–2 км для IV класса.
В горной местности отметки пунктов сетей сгущения могут определяться тригонометрическим нивелированием для съемок с высотой сечения рельефа 2 и 5 м, а в особых случаях – при высоте сечения рельефа 1 м.
Сеть сгущения закрепляется на местности грунтовыми или стенными реперами, а также марками.
Линейные измерения на местности производят непосредственным или косвенным методами. Для непосредственного измерения расстояний используют землемерные ленты, измерительные рулетки или инварные проволоки, которые последовательно укладывают в створе измеряемой линии. При вычислении длины линии учитывают поправки, связанные с компарированием мерного прибора, его температурой и углом наклона линии к горизонту. С помощью стальных лент и рулеток длины линий измеряют с относительной погрешностью 1:1000 - 1:5000 в зависимости от методики и условий измерений.
При косвенном методе измерений используют оптические или электронные дальномеры, позволяющие получать расстояния по измеренным углам, базисам, времени и другим параметрам. Принцип работы оптических дальномеров основан на решении прямоугольного треугольника (рис. 36), в котором по малому (параллактическому) углу и противолежащему катету b (базису) вычисляют длину другого катета D = b . ctg. Для удобства измерений одну из величин (b или ) принимают постоянной, а другую измеряют. Поэтому оптические дальномеры бывают с постоянным углом и переменным базисом (например, нитяный дальномер) и постоянным базисом и переменным углом. Точность измерения расстояний оптическими дальномерами характеризуется относительной погрешностью от 1:200 до 1:2000.
![]()
Рис.36 Параллактический треугольник
Электронные дальномеры, к которым относят светодальномеры, лазеные рулетки, электронные дальномерные насадки, измеряют расстояния с использованием электромагнитных волн. Погрешность измерения составляет от 3 мм до (10 мм + 5 мм/км).
МЕХАНИЧЕСКИЕ ПРИБОРЫ ДЛЯ НЕПОСРЕДСТВЕННОГО ИЗМЕРЕНИЯ ДЛИН
ЛИНИЙ
Мерные ленты. При геодезических работах измеряют линии мерными лентами длиной 20 и 24, реже 50 и 100 м. Мерные ленты изготавливаются из стали или инвара (сплава 64 % стали и 36/о никеля, обладающего малым температурным коэффициентом линейного расширения). Поконструкции различают штриховые и шкаловые ленты.
При инженерных геодезических работах обычно применяют штриховые стальные мерныеленты типа ЛЗ (лента землемерная).
Штриховая лента (рис. 91, а) представляет собой стальную полосу длиной 20 и 24 м, шириной 15—20 мм и толщиной 0,3—0,4 мм. За длину ленты принимается расстояние между штрихами, нанесенными против середины закруглений специальных вырезов, в которые вставляются металлические заостренные шпильки для фиксации концов ленты на" земной поверхности в процессе измерений.
Шкаловая лента представляет собой сплошную полосу, на концах которой имеются шкалы длиной по 10 см с миллиметровыми делениями (см. рис. 91, г). Разбивка на метровые и дециметровые отрезки на ленте отсутствует. За длину ленты принимается расстояние между нулевыми делениями шкал.
Измеряемая линия предварительно разбивается на пролеты, длина которых примерно равна номинальной длине ленты (24 или 48 м). Длины пролетов фиксируются штрихами, которые прочерчиваются на подкладываемых под концы ленты башмаках, а также иглами либо лезвиями специальных ножей. Натяжение ленты производится с помощью динамометра. Отсчеты по шкалам
берутся с точностью до 0,2 мм.
Измерение длин шкаловыми лентами может производиться как по поверхности земли, так и в подвешенном состоянии на специальных штативах с блоками. Точность измерения длин шкаловыми лентами при благоприятных условиях достигает 1 :7000, а инварными — 1 : 100 000.
Рулетки. Рулетки предназначены для измерения коротких линий при маркшейдерских, топографо-геодезических и строительных работах. Рулетки бывают стальные длиной 10, 20, 30, 50 м и более и тесьмяные длиной 5, 10 и 20 м.
В инженерно-геодезических работах используются металлические рулетки в закрытом корпусе типа РЗ (рис. 92, а), на крестовине типа РК (рис. 92, б), на вилке типа РВ (рис. 92, в) и др.; в маркшейдерской практике чаще применяются горные рулетки на вилке или крестовине типов РГ-20, РГ-30 и РГ-50, изготавливаемые из нержавеющей стали, обладающие высокими механическими свойствами и большой коррозионной стойкостью.
а когда число станций более 25 на 1 км, то
мм,
(8)
где n число станций.
На сильно пересеченной и горной местности высоты пунктов съемочных сетей, развиваемых для съемок с высотой сечения рельефа 2 и 5 м, а в особых случаях и 1 м, определяют тригонометрическим нивелированием. При этом длины ходов должны быть не более: при высоте сечения рельефа 2 и 5 м 2 км; при высоте сечения рельефа меньше 1 м 1 км.
Съемочную сеть закрепляют на местности временными знаками: деревянными столбами, металлическими трубами (рис. 20), гвоздями и кольями (рис. 21).
Выбор метода создания съемочных сетей определяется из технико-экономических соображений с учетом района работ и условий поставленного задания.
Обычно в открытых холмистых малозастроенных районах выгоднее развивать сети микротриангуляции и применять метод тригонометрического нивелирования; в равнинных заселенных застроенных районах выгоднее прокладывать теодолитные ходы и выполнять геометрическое нивелирование. Целесообразно использовать оба метода как для плановых, так и для высотных съемочных сетей.
Временный характер закрепления большинства пунктов съемочных сетей соответствует их назначению быть геодезической основой для единовременного решения поставленных конкретных задач. Пункты съемочных сетей закрепляются постоянными знаками, когда планируется долговременное их использование. Если съемочная сеть является самостоятельной геодезической основой, что допускается при выполнении топографических съемок на территории площадью до 1 км2, то не менее 1/5 всех пунктов закрепляется постоянными знаками.
При создании съемочных сетей рекомендуется использовать предметы местности: углы капитальных зданий и центры смотровых колодцев подземных коммуникаций.
Металлические рулетки представляют собой полосу из стали (реже—инвара), на которой нанесены сантиметровые или миллиметровые деления. По точности нанесения шкал рулетки делятся на 1-й, 2-й и 3-й классы. Точность измерения длин линий стальной рулеткой достигает 1: 50 000 и выше.
Для грубых измерений, когда можно пренебрегать погрешностями в несколько сантиметров (например, при съемке ситуации), используются тесьмяные рулетки в пластмассовых или металлических футлярах. Тесьмяная рулетка выполнена в виде полотняной полосы с проволочной стабилизирующей основой, окрашенной масляной краской, на которой отпечатаны сантиметровые
деления и подписи дециметров и метров. Точность ее невелика, так как тесьма со временем вытягивается; кроме того, прочность этих рулеток значительно меньше, чем стальных. В маркшейдерском деле тесьмяные рулетки применяются при замерах горных выработок.
Мерные проволоки. При точных и высокоточных линейных измерениях применяют стальные и инварные проволоки длиной 24 и 48 м, диаметр проволоки— 1,65 мм. На обоих концах проволоки расположены шкалы длиной 8 см с миллиметровыми делениями (рис. 93, а).
Измерение длин линий мерными проволоками производится по кольям или по целикам, устанавливаемым на штативах в створе линий. При измерениях проволока подвешивается на блочных станках под натяжением 10-килограммовых гирь (рис. 93, б). Пролеты между целиками или кольями измеряют несколько раз. Отсчеты по обеим шкалам проволоки производят одновременно с точностью до 0,1 мм.
Инварные проволоки входят в комплект базисных приборов БП-1, БП-2 и БП-3, которые используются для измерения базисов в сетях триангуляции и длин сторон в полигонометрии, а также при точных инженерно-геодезических работах. В зависимости от числа проволок в комплекте, условий и методики измерений точность линейных измерений стальными проволоками колеблется от 1:10000 до 1:25000, а инварными проволоками— от 1:30000 до 1:1000000.
ИЗМЕРЕНИЕ ДЛИН ЛИНИЯ МЕРНЫМИ ЛЕНТАМИ
Вешение линий. При непосредственном измерении длин линий в инженерных геодезических работах широко применяются штриховые стальные мерные ленты. В процессе измерения лента должна укладываться в створе линии местности, т. е. в отвесной плоскости, проходящей через конечные точки линии.
Перед измерением на местности створ линии обозначается вехами, представляющимисобой заостренные деревянные шесты длиной 1,5—2,5 м, раскрашенные попеременно через 20 см вбелый и красный цвета. При измерении коротких' (100—150 м) линий в условиях равнинной местности достаточно установить вехи в конечных точках линии. В случаях измерения длинных линий, особенно в условиях сложного рельефа, в створе линий устанавливается ряд дополнительных вех. Установка вех в створе измеряемой линии называется вешением линии.
После вешения створ линиинеобходимо расчистить и подготовить для измерений: удалить с него камни и кочки, раздвинуть высокую траву и мешающие измерениям ветки кустарника и т. д. Измерение длин мерной лентой состоит в последовательном откладывании по створу измеряемой линии ленты с фиксацией ее концов с помощью шпилек. Измерения выполняются двумя мерщиками в следующей последовательности.
В начальной точке линии задний мерщик втыкает шпильку 1 (рис. 100) и надевает на нее задний конец ленты. Передний мерщик, имеющий остальные 10 (или 5) шпилек комплекта, разматывает ленту вдоль измеряемой линии и по командам заднего мерщика укладывает ее в створе линии. Путем встряхивания ленты передний мерщик добивается, чтобы вся лента лежала в створе линии, натягивает ее и фиксирует передний конец шпилькой 2. Шпильки должны втыкаться в землю отвесно и на достаточную глубину, чтобы при натяжении ленты они не наклонялись и не сдвигались с места. Далее передний мерщик снимает ленту со шпильки и протягивает ее на один пролет. Задний мерщик, забрав шпильку 1, доходит до оставленной передним мерщиком шпильки 2 и надевает на
нее свой конец ленты. Передний мерщик вновь натягивает ленту по створу линии и отмечает ее конец шпилькой 3 и т. д.
![]()
КОМПАРИРОВАНИЕ МЕРНЫХ ПРИБОРОВ
Фактическая длина мерного прибора обычно отличается от эталона.. Поэтому передизмерениями должна быть определена фактическая длина применяемого мерного прибора путем ее сравнения с эталоном, имеющим установленную точность. Практически в качестве образцовой меры
(эталона) может быть использован мерный прибор, точность измерений которым в 3— 5 раз выше, чем поверяемым. Процесс сравнения длины рабочего мерного прибора с образцовой мерой называется компарированием.
В общем случае процесс компарирования можно рассматривать как измерение одной и той жем длины образцовой и рабочей линейными мерами. Компарирование производится на лабораторных (стационарных) и полевых компараторах либо упрощенным способом.
При компарировании мерных приборов на стационарном компараторе сначала с высокой точностью определяют его длину с помощью образцовых инварных жезлов. Затем сравнением длины компаратора с длиной поверяемого мерного прибора устанавливают фактическую длину последнего. Наиболее совершенный из стационарных компараторов в производит эталонирование инварных проволок базисных приборов с точностью до 1:2 500 000.
Компарирование стальных и инварных проволок, мерных лент и рулеток, предназначенных для точных измерений, может выполняться на полевых компараторах. Полевой компаратор устраивают на ровной и открытой местности с устойчивым грунтом в виде линии длиной 120 или 240 м, т. е. кратной длинам проволок и лент. Концы компаратора закрепляют бетонными монолитами, на
верхней поверхности которых имеются специальные марки. Длину компаратора измеряют несколько раз образцовыми инварными проволоками. Затем эту же длину многократно измеряют рабочим прибором и вычисляют поправку за компарирование.
Длины рабочих стальных лент и рулеток поверяют упрощенным способом. На ровной поверхности (например, на бетонном полу или асфальте) укладывают рядом образцовую и рабочую меры, имеющие одинаковую номинальную длину, и совмещают их нулевые деления. Обоим мерным приборам задают одинаковое натяжение (обычно 10 кг) и линейкой измеряют разность Д/к между
фактической длиной / мерного прибора и длиной 1о образцового (контрольного) прибора, т.е.
Δlk = l − lo,
где Δlk — поправка за компарирование.
Тогда фактическая длина рабочей ленты (рулетки) будет
l = lo + Δlk , (X.1)
где lo — номинальная длина рабочей ленты или рулетки.
При этом поправка за компарирование Δlk считается положительной, если длина рабочей ленты больше номинальной, и отрицательной, если меньше номинальной. В. случае когда при линейных измерениях необходимо учитывать температурные поправки, то следует измерить температуру to, при которой производилось компарирование. По окончании компарирования к каждому мерному прибору (проволоке, ленте, рулетке) прилагают свидетельство (аттестат), в котором указываются способ и дата компарирования, длина прибора, натяжение и температура компарирования.
Поправки, вводимые в измеренные длины.
В измеренные на местности длинылиний вводятся поправки за компарирование мерного прибора, температуру и наклон линии (за приведение линии к горизонту).
Поправка за компарирование в измеренное расстояние вычисляется по формуле
ΔDк = (Dизм / l)* Δlк
где Dизм—длина измеренной линии; l—длина мерного прибора; Δlк—поправка за компарирование мерного прибора, приводимая в его свидетельстве (аттестате).
Поправка за температуру определяется по формуле
ΔDt = a(t − t0 )Dизм , (X.22)
где а—коэффициент линейного расширения (для стали а= 12,5-10-6 ); t — температура
мерного прибора при измерении; to—температура компарирования.