Классификация теодолитов.
Согдасно ГОСТ 10529-86, теодолиты изготавливаются типов Т1, Т2, Т5, Т15, Т30 и Т60.
Цифры в шифре обозначают среднюю квадратическую погрешность измерения горизонтальных углов одним приемом в секундах.
Теодолиты классифицируют по точности, материалам изготовления кругов, конструктивным особенностям, назначению.
По точности теодолиты делятся на три группы: высокоточные – Т1; точные – Т2, Т5; технические – Т15, Т30, Т60.
По материалам изготовления кругов теодолиты бывают с металлическими и стеклянными (из оптического стекла) угломерными кругами. Теодолиты со стеклянными кругами называются оптическими.
Все современные теодолиты являются оптческими.
По конструкции теодолиты делятся на простые и повторительные.
У простого теодолита лимб горизонтального круга или не имеет своей оси вращения, или имеет приспособления для поворота и закрепления его в различных положениях.
У повторительного теодолита лимб горизонтального круга имеет свою ось вращения, а также закрепительный и наводящий винты.
По назначению выделяют теодолиты маркшейдерские Т15М, Т30М.
В обозначении теодолита, имеющего прямое изображение, добавляется буква П, а имеющего компенсатор буква К.
Отчетные устройства. Вкачества отчетных устройств используются в теодолитах шкаловые и штриховые микроскопы. Труба отчетного микроскопа расположена рядом с окуляром зрительной трубы. Вращением диоптрийного кольца окуляра микроскоп устанавливают по глазу: в поле зрения должны быть чётко видны отчетный индекс или шкала и штрихи лимбов. Названия кругов обозначены буквами: г – горизонтальный, в – вертикальный. Для отчитывания в теодолите Т30 используется штриховой микроскоп, а в остальных приборах – шкаловой.
Цена деления лимбов теодолита Т30 – 10’. Отчеты берутся по щтриху – индексу с точностью до десятых долей « на глаз» наименьшего деления лимбов, т.е. с точностью 1’.
ПОВЕРКИ И ЮСТИРОВКИ ТЕОДОЛИТА
Перед началом измерений теодолит необходимо тщательно осмотреть и проверить, так как даже серийно выпускаемые приборы имеют свои индивидуальные особенности. В первую очередь производят проверку и регулировку его механических деталей, обращая внимание на состояние иработу всех винтов прибора: подъемных, зажимных и наводящих винтов лимба и алидады, наводящего винта уровня вертикального круга, исправительных (юстировочных) винтов уровней, колонок, сетки нитей и т. п. Вращение лимба и алидады должно быть плавным, без заеданий и колебаний. Горизонтальный и вертикальный угломерные круги не должны иметь механических повреждений; изображения делений шкал и сетки нитей должны быть четкими. Зрительная труба должна быть уравновешенной и иметь свободное вращение.
Присутствие пыли и грязи на оптических деталях прибора не допускается. После внешнего осмотра теодолита выполняют его поверки и юстировки.
В соответствии с принципом измерения горизонтального угла конструкция теодолита должна удовлетворять следующим основным геометрическим условиям (см. рис. 79):
1. Ось цилиндрического уровня U1U1 должна быть перпендикулярна к оси вращения теодолита ZZ.
2. Визирная ось зрительной трубы VV должна быть перпендикулярна к горизонтальной оситеодолита (оси вращения трубы) НН.
3. Горизонтальная ось теодолита НН должна быть перпендикулярна к оси вращения теодолита ZZ.
Дополнительные геометрические условия вытекают из теории измерения вертикальных углов.
Действия, имеющие целью установить соблюдение предъявляемых к конструкции прибора геометрических условий, называются поверками. Для обеспечения выполнения нарушенныхусловий производят юстировку (регулировку) прибора.
Рассмотрим основные поверки и юстировки технических теодолитов
ЗРИТЕЛЬНЫЕ ТРУБЫ
Устройство зрительной трубы. Для визирования на удаленные наблюдаемые предметы в геодезических приборах используют зрительные трубы. Большинство из них дает обратное изображение предметов и относится к типу астрономических; в некоторых теодолитах используются трубы, обеспечивающие прямое изображение. Перед наблюдением зрительная труба должна быть отрегулирована таким образом, чтобы в поле зрения трубы отчетливо было видно изображение визирной цели. Такая установка зрительной трубы называется ее фокусированием. По характеру фокусировки различают трубы с внешним и внутренним фокусированием.
В современных геодезических приборах применяют трубы с внутренним фокусированием, меющие постоянную длину. Конструкция таких труб обеспечивает большее увеличение при меньшей длине по сравнению с трубами с внешним фокусированием, а также предохраняет трубу от проникновения в нее пыли и влаги.
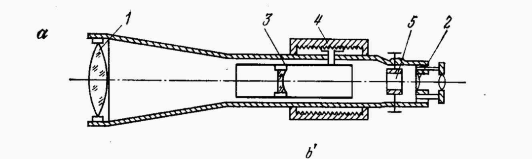
Оптическая система зрительной трубы с внутренним фокусированием (рис. 82, а) -состоит из объектива 1, окуляра 2, внутренней фокусирующей линзы 3, которая перемещается внутри трубы вращением кремальеры 4 (кремальерного винта или кольца) и сетки нитей 5.
Совместное действие объектива и фокусирующей линзы равносильно действию одной собирательной линзы с переменным фокусным расстоянием, называемой телеобъективом. Принципиально оптическая схема трубы с телеобъективом (рис. 82, б) не отличается от схемы простой зрительной трубы (трубы Кеплера) с внешней фокусировкой, но обладает более совершенной конструкцией.
Предмет АВ, расположенный за двойным фокусным расстоянием, рассматривается через объектив 1 (см. рис. 82, б). Его изображение аb, получаемое с помощью телеобъектива, будет действительным, обратным и уменьшенным. Указанное изображение увеличивается окуляром 2, в результате чего получается мнимое и увеличенное изображение а'b' наблюдаемого предмета.
![]()

Рис. 82. Зрительная труба: а – продольный разрез; б – ход лучей в зрительной трубе
Изображение предмета, получаемое простой зрительной трубой, сопровождается оптическими искажениями, основными из которых являются сферическая и хроматическая аберрации. Сферическая аберрация вызывается тем, что лучи света (особенно падающие на края линзы) после преломления не пересекаются в одной точке и дают тем самым неясное и расплывчатое изображение. Хроматическая аберрация заключается в том, что лучи света после преломления в линзе разлагаются на составные цвета радуги и окрашивают края изображений. Для ослабления влияния оптических искажений в зрительных трубах применяют диафрагмы, задерживающие прохождение крайних лучей света, а также сложные объективы и окуляры, состоящие из 2 - 3 линз и более с разной кривизной и различными коэффициентами преломления
стекла.
Эксцентриситет алидады – несовпадение оси вращения алидады с геометрическим центром лимба.
1.Ось цилиндрического уровня (касательная к внутренней поверхности ампулы в нульпункте) должна быть перпендикулярна вертикальной оси вращения теодолита. Для поверки этого условия устанавливают цилиндрический уровень параллельно двум подъемным винтам и, вращая их, приводят пузырек на середину. Затем поворачивают цилиндрический уровень на 180 и, если пузырек отклонился более чем на одно деление, с помощью исправительных винтов смещают пузырек к центру на половину отклонения. Затем, поворачивая прибор на 90 и вращая третий незадействованный винт, окончательно горизонтируют прибор. Все остальные поверки выполняються после первой.
2.Визирная ось трубы (ось, проходящая через оптический центр объектива и перекрестие сетки нитей) должна быть перпендикулярна оси вращения трубы. Эта поверка сводится к определению коллимационной погрешности - горизонтального угла между фактическим положением визирной оси и требуемым. Для выполнения поверки наводят визирную ось трубы на удаленную, четко видимую на горизонте точку и снимают отсчеты по горизонтальному кругу при КП и КЛ. Отсчеты должны отличаться на 180 00', в противном случае имеет место коллимационная погрешность.
Если коллимационная погрешность, определяемая по формуле С=(КЛ - КП)/2, превышает 2t, где t - точность отсчетного устройства, выполняют юстировку: вычисляют средний отсчет и устанавливают его на горизонтальном круге. В этом случае наблюдаемая точка не будет совпадать с перекрестием сетки нитей. Предварительно ослабив один вертикальный исправительный винт, двумя горизонтальными совмещают перекрестие сетки с наблюдаемой точкой. Результаты измерений и вычислений записывают в журнале определения коллимационной погрешности.
Горизонтальная ось теодолита должна быть перпендикулярна к оси вращения теодолита.
Выполнение условия необходимо для того, чтобы после горизонтирования теодолита
коллимационная плоскость занимала отвесное положение. Поверка может быть выполнена двумя способами.
На расстоянии 10—20 м от стены здания устанавливают теодолит и визируют на высоко расположенную точку А на стене здания (рис. 89, б). Наклоняя трубу, проектируют эту точку до горизонтального положения визирной оси и отмечают на стене проекцию точки а1. Повторив ту же операцию при втором положении трубы, отмечают точку а2. Если точки а1 и а2 не совпадут, то не выполнено условие, т. е. необходимо изменить положение горизонтальной оси теодолита относительно вертикальной.
На расстоянии 10—20 м от теодолита подвешивают отвес на длинной нити. Наводят перекрестие сетки нитей на верхнюю точку отвеса и плавно опускают зрительную трубу до горизонтального ее положения; при этом наблюдают, не сходит ли изображение нити отвеса с перекрестия сетки нитей.
В современных теодолитах соблюдение этого условия гарантируется предприятием- изготовителем. Тем не менее поверка условия должна быть обязательно выполнена.
В случае несоблюдения условия исправление положения горизонтальной оси теодолита в полевых условиях не производится; его выполнение допускается только в специальной мастерской или в заводских условиях, так как требует частичной разборки прибора.
Следует учесть, что среднее из отсчетов по лимбу, взятых при наведении на точку при двух положениях трубы (КП и КЛ), свободно от влияния наклона оси вращения трубы.
Вертикальный штрих сетки нитей должен располагаться в коллимационной плоскости трубы.Иначе, горизонтальный штрих сетки нитей должен быть перпендикулярным к оси вращения теодолита.
Выполнение данного условия требуется для создания удобств при визировании на отвесные предметы (например, вехи). Для этого, тщательно установив ось вращения теодолита в отвесное положение, визируют на нить отвеса, подвешенного на расстоянии 5 - 10 м от прибора. Если вертикальный штрих сетки не совпадает с изображением нити отвеса, то необходимо исправить положение сетки нитей путем ее поворота. Для этого слегка ослабляют винты, скрепляющие окулярную часть с корпусом трубы, и поворачивают окулярную часть вместе с сеткой нитей дотребуемого положения; затем винты закрепляют. Отклонение вертикального штриха от отвесной линии допускается не более чем на '/з величины биссектора сетки нитей.
После юстировки второй основной штрих сетки должен быть горизонтальным, так как взаимная перпендикулярность штрихов гарантируется заводом-изготовителем. Чтобы убедиться в этом, наводят горизонтальный штрих на какую-либо точку и наводящим винтом поворачивают алидаду горизонтального круга; при этом поверяемый штрих должен оставаться на изображении очки. При невыполнении условия юстировку повторяют.
5.Место нуля вертикального круга (отсчет по ВК, когда визирная ось и ось цилиндрического уровня горизонтальны) должно быть близким к нулю или отличаться от нуля не более чем на 2t. Для поверки не менее двух раз определяют место нуля по формуле МО=(КЛ+КП)/2, где КЛ и КП - отсчеты по вертикальному кругу при наведении средней горизонтальной нити на точку. Если вычисленное значение место нуля недопустимо, устанавливают наводящим винтом трубы отсчет по вертикальному кругу равный вычисленному углу наклона на точку (n = КЛ - МО). Вращая вертикальные исправительные винты сетки нитей (рис.25), предварительно ослабив один горизонтальный винт, совмещают среднюю горизонтальную нить с наблюдаемой точкой. Образцы записей отсчетов и вычислений С и МО приведены в журнале.

Рис.25. Сетка нитей теодолита