480
Рисунок П.А.7. Схема поезда, состоящего из электровоза ВЛ10У, транс- портера грузоподъемностью 220 т (тип 3925), вагонов прикрытия и 4-осных
вагонов с распределенной нагрузкой 7,2 тс/м
Пример 8. Перевозимый транспортером груз 220 т. Длина загружения линии влияния λ = 5 м, α = 0, 0 (рисунок П.А.8).
Рисунок П.А.8. Линия влияния усилия при λ = 5 м, α = 0, 0
Проверка загружения (рисунок П.А.8) производится по неравенствам (приложение Б, формула Б.4.)
P λ > a |
(P + P + P ) ; 21, 68 5 >1, 4(3 21, 68) |
|
17 |
k |
18 19 20 |
|
|
108, 4 > 91, 06 |
Условие невыгоднейшего загружения выполнено, критическим явля-
ется груз P .
17
481
Эквивалентная нагрузка от классифицируемого подвижного состава равна ( приложение Б, формула Б.2):
|
|
2 |
P a |
|
|
|||
k |
|
= |
|
∑ i i |
= |
2 21, 68(0,9 + 2,3 + 3, 6 + 5, 0) |
= 20, 47 тс/м пути. |
|
0 |
|
|
|
|||||
|
|
|
λ 2 |
25 |
|
|||
Эквивалентная нагрузка от эталонной нагрузки по схеме С1 при |
||||||||
λ = 5 м, |
|
α = 0, 0 (приложение |
В, таблица В.1) равна kc = 2, 077 тс/м пути. |
|||||
(1+µ0) =(1+µ) (пункт 3.3)
Класс нагрузки (пункт 3, формула 3.1):
K |
|
= |
k0 (1 + µ0 ) |
= |
k0 |
= |
20, 47 |
= 9,86 . |
|
0 |
|
|
|
||||||
|
|
kc (1 |
+ µ ) |
|
kc |
2, 077 |
|
||
|
|
|
|
|
|||||
Пример 9. Перевозимый транспортером груз 220 т. Длина загружения линии влияния λ = 5 м, α = 0,5 (рисунок П.А.9).
Рисунок П.А.9. Линия влияния усилия при λ = 5 м, α = 0,5
На длине загружения λ=5 м может быть установлено три оси транспортера с осевой нагрузкой 21,68 тс ( рисунок П.А.9) . Правильность их расположения проверяется неравенствами (приложение Б, формула Б.5):
|
|
∑ |
P |
|
≤ |
1 |
P ; 21, 68 < |
1 |
3 21,68 ; 21, 68 < 32,52 ; |
|||||
|
|
|
|
|
|
|||||||||
|
|
лев |
|
|
2 |
∑ i |
2 |
|
|
|||||
∑ |
P |
+ P |
> |
1 |
|
|
P ; |
21,68 + 21, |
68 > |
1 |
3 21, 68 ; 43,36 > 32,52 . |
|||
лев |
|
кр |
|
2 |
|
∑ i |
|
|
2 |
|
||||
Условие невыгоднейшего загружения выполнено, критическим является
груз P .
19
Эквивалентная нагрузка от классифицируемого подвижного состава равна (приложение Б, формула Б.3):
|
|
|
|
|
|
|
482 |
|
|
|
4 |
Pa |
4 21, 68(1,1 + 2,5 +1, 2) |
|
|||
k |
|
= |
|
∑ i i |
= |
=16, 65 тс/м пути. |
||
0 |
|
|
|
|||||
|
|
|
λ 2 |
|
25 |
|
||
Эквивалентная |
нагрузка |
от эталонной нагрузки по схеме С1 при |
||||||
λ = 5 м, α = 0,5 (приложение В, таблица В.1) равна kc =1,817 тс/м пути. (1+µ0) =(1+µ) (пункт 5.2)
Класс нагрузки (пункт 3, формула 3.1):
K0 = k0 = 16, 65 = 9,16 . kc 1,817
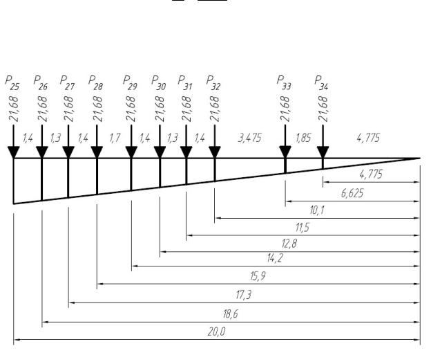
Пример 10. Перевозимый транспортером груз 220 т. Длина загружения линии влияния λ = 20 м, α = 0, 0 (рисунок П.А.10).
Рисунок П.А.10. Линия влияния усилия при λ = 20 м, α = 0, 0
Проверку загружения (рисунок П.А.10) произведена |
по неравенствам |
||
(приложение Б, формула Б.4). |
|
||
P λ > a |
(P + P + P + P + P + P + P + P + P ) ; |
||
25 |
k |
26 27 28 29 30 31 32 |
33 34 |
21, 68 20 >1, 4(7 21, 68 + 2 15, 6); 433, 6 > 256,14
Эквивалентная нагрузка от классифицируемого подвижного состава равна (приложение Б, формула Б.2):
483
|
|
|
|
|
|
|
2 |
Pa |
|
|
|
|
|
||
|
|
|
|
k |
|
= |
|
∑ i i |
= |
|
|
|
|
||
|
|
|
|
0 |
|
λ 2 |
|
|
|
|
|
||||
|
|
|
|
|
|
|
|
|
|
|
|
|
|
||
= |
[ |
|
|
|
|
|
|
|
i |
|
|
|
] |
|
= |
+ 21,68(10,1 |
+11,5 +18, 6 + 20, 0 +12,8 +14, 2 +15,9 +17,3) |
|
|||||||||||||
|
2 15, 6(4, 775 + 6, 625) |
|
|
|
|||||||||||
|
|
|
|
|
|
|
|
|
|
|
|
|
|
|
|
|
|
|
|
|
|
|
|
|
202 |
|
|
|
|
|
|
|
|
|
|
=13,94 тс/м пути. |
|
|
|
|
|||||||
|
Эквивалентная нагрузка от эталонной нагрузки по схеме С1 при λ =5 м, |
|
|
|
|||||||||||
|
α = 20,0 (приложение В, таблица В.1) равна kc=1,505 тс/м пути. (1+µ0) |
|
|||||||||||||
=(1+µ) (пункт 3.3) |
|
|
|
|
|
|
|
|
|
|
|
|
|
|
|
|
Класс нагрузки (пункт 3, формула 3.1): |
|
|
|
|
|
|||||||||
|
|
K |
|
= |
k0 |
(1 + µ0 ) |
= |
13,94 |
= 9, 26 . |
|
|
|
|||
|
|
0 |
kc (1 + µ ) |
1,505 |
|
|
|
||||||||
|
|
|
|
|
|
|
|
|
|||||||
|
|
|
|
|
|
|
|
|
|
||||||
Пример А.11. Перевозимый транспортером груз массой 220 т. Длина загружения линии влияния λ = 20 м, α = 0,5 (рисунок П.А.11).
Рисунок П.А.11. Линия влияния усилия при λ = 20 м, α = 0,5
На длине загружения λ=20 м может быть установлено десять осей транспортера с осевой нагрузкой 21,68 тс (рисунок П.А.11). Правильность их расположения проверяется неравенствами (приложение Б, формула Б.5):
|
|
|
|
|
|
|
∑ |
P |
< |
1 |
P ; |
|
|
|
|
|
|
|
|
|
|
|
|
|
|
|
|
|
|
|
|
||||
|
|
|
|
|
|
|
лев |
2 |
∑ i |
|
|
|
|
|
|
||
P + P + P + P ≤ |
1 |
(P + P + P + P + P + P + P + P + P + P |
) |
||||||||||||||
|
|||||||||||||||||
25 |
26 |
27 |
28 |
2 |
25 |
26 |
27 |
28 |
29 |
30 |
31 |
32 |
33 |
34 |
|
||
|
|
|
4 21, 68 < |
1 |
(8 21, 68 + 2 15, 6) ; 86, 72 <102,32 ; |
|
|
|
|||||||||
|
|
|
|
|
|
|
|||||||||||
|
|
|
|
|
2 |
|
|
|
|
|
|
|
|
|
|
|
|
484
|
|
|
|
|
|
|
|
|
∑ |
P |
|
+ P |
|
≥ |
1 |
|
|
P ; |
|
|
|
|
|
|
|||||
|
|
|
|
|
|
|
|
|
|
|
|
|
|
|
|
|
|
||||||||||||
|
|
|
|
|
|
|
|
|
лев |
|
|
кр |
|
|
2 ∑ i |
|
|
|
|
|
|
||||||||
|
P + P + P + P + P > |
1 |
(P + P + P + P + P + P + P + P + P + P ); |
||||||||||||||||||||||||||
|
|||||||||||||||||||||||||||||
25 |
26 |
27 |
28 |
29 |
2 |
|
|
25 |
|
26 |
|
|
27 |
|
28 |
29 |
30 |
31 |
32 |
33 |
34 |
|
|||||||
|
|
|
|
|
|
|
|
|
|
|
|
|
|
|
|
|
|
|
|
|
|
|
|
|
|
|
|
|
|
|
|
|
|
|
86, 72 + 21, 68 >102,32 ; 108, 4 >102,32 . |
|
|
|
|
||||||||||||||||||||
|
Условие невыгоднейшего загружения выполнено, критическим является |
||||||||||||||||||||||||||||
груз P . |
|
|
|
|
|
|
|
|
|
|
|
|
|
|
|
|
|
|
|
|
|
|
|
|
|
|
|
|
|
29 |
|
|
|
|
|
|
|
|
|
|
|
|
|
|
|
|
|
|
|
|
|
|
|
|
|
|
|
|
|
|
Эквивалентная нагрузка от классифицируемого подвижного состава |
||||||||||||||||||||||||||||
равна (приложение Б, формула Б.3): |
|
|
|
|
|
|
|
|
|
|
|
|
|
|
|
|
|
|
|||||||||||
|
|
|
|
|
|
|
|
|
|
|
|
|
|
|
4 |
|
|
Pa |
|
|
|
|
|
|
|
|
|
||
|
|
|
|
|
|
|
|
|
|
|
k |
|
= |
|
∑ i i |
|
= |
|
|
|
|
|
|
|
|||||
|
|
|
|
|
|
|
|
|
|
|
0 |
|
|
λ |
2 |
|
|
|
|
|
|
|
|
||||||
|
|
|
|
|
|
|
|
|
|
|
|
|
|
|
|
|
|
|
|
|
|
|
|
|
|
||||
|
|
|
|
|
|
|
|
|
|
|
|
|
|
|
|
|
i |
|
|
|
|
|
|
|
|
|
|||
= |
4[15, 6(0,575 + 2, 425) + 21, 68(5,9 + 7,3 +8, 6 +10 + 4, 2 + 5, 6 + 6,9 +8,3)] |
= |
|||||||||||||||||||||||||||
|
|
|
|
|
|||||||||||||||||||||||||
|
|
|
|
|
|
|
|
|
|
|
|
|
202 |
|
|
|
|
|
|
|
|
|
|
|
|
|
|
||
|
|
|
|
|
|
|
|
|
|
=12, 78 тс/м пути. |
|
|
|
|
|
|
|||||||||||||
|
Эквивалентная нагрузка от эталонной нагрузки по схеме C1 при λ = 20 |
||||||||||||||||||||||||||||
м, α = 0,5 (приложение В, таблица В.1) равна |
|
kc =1,317 тс/м пути. |
|
|
|||||||||||||||||||||||||
|
Класс нагрузки (пункт 3, формула 3.1): |
|
|
|
|
|
|
|
|
|
|||||||||||||||||||
|
|
|
|
|
|
K |
|
= |
k0 (1 + µ0 ) |
= |
12,78 |
= 9,70 . |
|
|
|
|
|
||||||||||||
|
|
|
|
|
|
0 |
|
|
|
|
|
|
|
||||||||||||||||
|
|
|
|
|
|
|
|
|
kc |
(1 |
+ µ ) |
|
1,317 |
|
|
|
|
|
|
|
|||||||||
|
|
|
|
|
|
|
|
|
|
|
|
|
|
|
|
|
|
||||||||||||
Пример А.12. Перевозимый транспортером груз 125 т. Длина загружения линии влияния λ = 5 м, α = 0,0 . Тара транспортера 126,9 т (пункт 5.3). Осевая нагрузка от транспортера на путь при массе перевозимого груза 125 т состав- ляет:
126,9 +125 =15,74 тс.
16
Эквивалентная нагрузка от транспортера грузоподъемностью 220 т при полной его загрузке (масса груза 220 т) равна 20,47 тс/м, класс - 9,86 (пункт 6.9.12). Отношение осевых нагрузок транспортера с грузом массой 125 т и массой 220 т составляет:
15,74 = 0,726 .
21,68
Эквивалентная нагрузка транспортера с грузом, равным 125 т, k0 = 20, 47 0,726 =14,86 тс/м пути. Класс нагрузки K0 = 9,86 0, 726 = 7,16 .
Пример 13. Требуется определить условия пропуска поезда, состоящего из электровоза ВЛ10У, 16-осного транспортера грузоподъемностью 220 т с ва-