470
6.10.3.3. Поворотный кран ГЭПК-130У в рабочем положении с грузом 120 т
Длина линии |
α=0,0 |
|
α=0,5 |
|
|
Эквивалентная нагруз- |
|
Эквивалентная нагруз- |
|
||
влияния, м |
Класс |
Класс |
|||
ка, тс/м |
ка, тс/м |
||||
|
|
|
|||
|
|
|
|
|
|
1 |
78,00 |
10,86 |
78,00 |
10,86 |
|
2 |
55,58 |
12,56 |
39,00 |
10,07 |
|
3 |
42,04 |
12,14 |
32,07 |
10,59 |
|
4 |
38,27 |
12,44 |
29,25 |
10,87 |
|
5 |
33,86 |
11,84 |
28,08 |
11,23 |
|
б |
32,18 |
11,87 |
26,00 |
10,96 |
|
7 |
30,25 |
11,65 |
25,47 |
11,21 |
|
8 |
29,25 |
11,69 |
24,74 |
11,30 |
|
9 |
28,89 |
11,93 |
24,37 |
11,51 |
|
10 |
28,20 |
12,01 |
23,64 |
11,51 |
|
12 |
27,17 |
12,23 |
23,24 |
11,95 |
|
14 |
25,95 |
12,27 |
22,77 |
12,31 |
|
16 |
25,05 |
12,40 |
22,34 |
12,63 |
|
18 |
24,52 |
12,66 |
21,89 |
12,91 |
|
20 |
24,15 |
12,98 |
21,51 |
13,21 |
|
25 |
23,61 |
13,86 |
21,09 |
14,14 |
|
30 |
23,10 |
14,63 |
20,82 |
15,07 |
|
35 |
22,16 |
14,97 |
20,47 |
15,80 |
|
40 |
20,95 |
14,96 |
19,65 |
16,04 |
|
45 |
19,76 |
14,80 |
18,67 |
15,99 |
|
50 |
18,65 |
14,55 |
17,68 |
15,77 |
|
60 |
16,66 |
13,87 |
15,89 |
14,57 |
|
70 |
15,07 |
13,15 |
14,37 |
13,40 |
|
80 |
13,81 |
12,48 |
13,07 |
12,36 |
|
90 |
12,78 |
11,87 |
11,99 |
11,47 |
|
100 |
11,89 |
11,26 |
11,10 |
10,73 |
|
110 |
11,10 |
10,67 |
10,32 |
10,06 |
|
120 |
10,39 |
10,11 |
9,68 |
9,51 |
|
130 |
9,76 |
9,59 |
9,13 |
9,03 |
|
140 |
9,20 |
9,11 |
8,64 |
8,59 |
|
150 |
8,70 |
8,70 |
8,21 |
8,21 |
|
160 |
8,25 |
8,29 |
7,81 |
7,85 |
|
170 |
7,84 |
7,91 |
7,45 |
7,52 |
|
180 |
7,47 |
7,57 |
7,12 |
7,21 |
|
190 |
7,13 |
7,25 |
6,82 |
6,93 |
|
200 |
6,82 |
6,96 |
6,54 |
6,67 |
471
6.10.3.4. Поворотный кран ГЭПК-130У в рабочем положении без груза
Длина линии |
α=0,0 |
|
α=0,5 |
|
|
Эквивалентная нагруз- |
|
Эквивалентная нагруз- |
|
||
влияния, м |
Класс |
Класс |
|||
ка, тс/м |
ка, тс/м |
||||
|
|
|
|||
|
|
|
|
|
|
1 |
58,40 |
8,13 |
58,40 |
8,13 |
|
2 |
41,61 |
9,40 |
29,20 |
7,54 |
|
3 |
31,47 |
9,09 |
24,01 |
7,93 |
|
4 |
28,66 |
9,32 |
21,90 |
8,14 |
|
5 |
25,35 |
8,87 |
21,03 |
8,41 |
|
6 |
24,09 |
8,89 |
19,47 |
8,21 |
|
7 |
22,65 |
8,73 |
19,07 |
8,39 |
|
8 |
21,90 |
8,75 |
18,53 |
8,46 |
|
9 |
21,63 |
8,93 |
18,24 |
8,61 |
|
10 |
21,11 |
8,99 |
17,70 |
8,62 |
|
12 |
20,34 |
9,15 |
17,40 |
8,95 |
|
14 |
19,43 |
9,19 |
17,05 |
9,22 |
|
16 |
18,75 |
9,28 |
16,74 |
9,47 |
|
18 |
18,36 |
9,48 |
16,39 |
9,67 |
|
20 |
18,09 |
9,72 |
16,11 |
9,89 |
|
25 |
17,68 |
10,38 |
15,79 |
10,59 |
|
30 |
17,30 |
10,96 |
15,59 |
11,28 |
|
35 |
16,61 |
11,22 |
15,35 |
11,85 |
|
40 |
15,73 |
11,24 |
14,75 |
12,04 |
|
45 |
14,87 |
11,14 |
14,03 |
12,01 |
|
50 |
14,14 |
11,03 |
13,29 |
11,85 |
|
60 |
12,83 |
10,68 |
11,98 |
10,98 |
|
70 |
11,79 |
10,29 |
10,93 |
10,19 |
|
80 |
10,94 |
9,89 |
10,06 |
9,51 |
|
90 |
10,23 |
9,50 |
9,34 |
8,93 |
|
100 |
9,59 |
9,08 |
8,72 |
8,43 |
|
110 |
9,01 |
8,66 |
8,19 |
7,98 |
|
120 |
8,48 |
8,25 |
7,73 |
7,59 |
|
130 |
8,00 |
7,86 |
7,33 |
7,25 |
|
140 |
7,56 |
7,49 |
6,98 |
6,94 |
|
150 |
7,17 |
7,17 |
6,66 |
6,66 |
|
160 |
6,81 |
6,84 |
6,37 |
6,40 |
|
170 |
6,49 |
6,55 |
6,09 |
6,15 |
|
180 |
6,19 |
6,27 |
5,84 |
5,92 |
|
190 |
5,92 |
6,02 |
5,60 |
5,69 |
|
200 |
5,67 |
5,78 |
5,38 |
5,49 |
472
Приложение А
Примеры классификации подвижного состава и определения условий пропуска его по металлическим пролетным строениям железнодорожных мостов
(справочное)
Требуется проклассифицировать поезд, состоящий из 8-ми осного электровоза серии 2ЭС5 с осевой нагрузкой 25 тс и 4-осных вагонов грузоподъемностью 73,5 т с осевой нагрузкой 25 тс модель 12-196-01 (рисунок П.А.1).
Рисунок П.А.1. Схема поезда, состоящего из электровоза 2ЭС5 и 4-осных вагонов модели 12-196-01
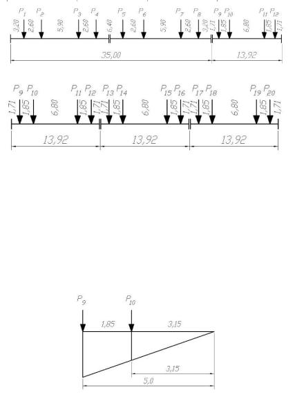
Пример А.1. Длина загружения линии влияния λ – 5 м, α = 0,0.
Проверка загружения (рисунок П.А.2) производится по неравенствам (приложение Б, формула Б.4):
Рисунок П.А.2. Линия влияния усилия при λ =5 м, α = 0,0
Р9 λ >ak(P10); 25·5>1,85·(25); 125>46,25.
Условие невыгоднейшего загружения выполнено, критическим является груз Р9
473
Эквивалентная нагрузка от классифицируемого подвижного состава равна (приложение Б, формула Б.2):
|
|
|
2 |
P a |
|
|
|
2 25(3,15+5,0) |
|
|
|||
k |
|
= |
|
∑ |
i i |
= |
|
|
|
=16,3 тс/м пути. |
|||
0 |
|
|
|
2 |
|
|
|||||||
|
|
|
λ |
2 |
|
|
|
|
|
|
|
||
|
|
|
|
|
|
|
|
5 |
|
|
|
|
|
Эквивалентная нагрузка от эталонной нагрузки по схеме С1 при λ =5 м, |
|||||||||||||
α = 0,0 (приложение В, таблица В.1) равна kc = 2,077 тс/м пути. (1+µ0) |
|||||||||||||
=(1+µ) (пункт 3.3) |
|
|
|
|
|
|
|
|
|
|
|
|
|
Класс нагрузки (пункт 3, формула 3.1.): |
|
|
|||||||||||
|
|
|
|
|
K0 |
= |
k0 (1 + 0 ) |
= |
16,3 |
= 7,85. |
|||
|
|
|
|
|
kC (1 + ) |
|
|||||||
|
|
|
|
|
|
|
|
2, 077 |
|
||||
Пример А.2. Длина загружения линии влияния λ = 5 м, α = 0,5 .
На длине загружения λ=5 м может быть установлено две оси с вагонной нагрузкой 25 тс (рисунок П.А.3) . Правильность их расположения проверяется неравенствами (приложение Б, формула Б.5):
Рисунок П.А.3. Линия влияния усилия при λ=5,0 м, α=0,5
|
∑ |
P ≤ |
1 |
P ; |
25 ≤ |
1 |
|
2 25 ; 25=25. |
|||
|
|
|
|||||||||
|
лев |
2 |
∑ i |
2 |
|
|
|
||||
∑ |
P + P > |
1 |
|
|
P ; 25 + 25 > |
1 |
(25 + 25); 50 > 25 . |
||||
лев кр |
2 |
∑ i |
|
|
2 |
|
|||||
Условие невыгоднейшего загружения выполнено, критическим является груз P10.
Эквивалентная нагрузка от классифицируемого подвижного состава равна (приложение Б, формула Б.3):
|
4 Pa |
4 25(0, 65 + 2,5) |
|
|
|
k = |
∑ i i |
= |
=12, 6 |
тс/м пути. |
|
|
52 |
||||
0 |
λ 2 |
|
|
||
474
Эквивалентная нагрузка от эталонной нагрузки по схеме С1 при λ=5,0 м, α=0,0 (приложение В, таблица В.1) равна kc=1,817, тс/м пути. (1+µ0) =(1+µ) (пункт 3.3)
Класс нагрузки (пункт 3, формула 3.1):
K0 |
= |
k0 (1 + 0 ) |
= |
k0 |
= |
12, 6 |
= 6,93 . |
kc (1 + ) |
kc |
|
|||||
|
|
|
1,817 |
|
|||
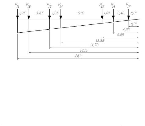
Пример А.3. Длина загружения линии влияния λ=20,0 м, α=0,0.
Проверку загружения (рисунок П.А.4) произведена по неравенствам (приложение Б, формула Б.4).
P11λ>аK (P12+ P13+ P14+ P15+ P16+ P17);
25·20>1,85(6·25); 500>277,5.
Рисунок П.А.4. Линия влияния усилия при λ=20,0 м, α=0,0
Эквивалентная нагрузка от классифицируемого подвижного состава равна (приложение Б, формула Б.2):
|
|
2 |
Pa |
||
k |
|
= |
|
∑ i i |
= |
0 |
|
|
|||
|
|
|
λ 2 |
||
= 2 25(0,81 + 4, 23 + 6,08 +12,88 +14,73 +18,15 + 20) = 9,61тс/м пути. 202
Эквивалентная нагрузка от эталонной нагрузки по схеме С1 при λ =5 м,
α = 20,0 (приложение В, таблица В.1) равна kc=1,505 тс/м пути, (1+µ0) =(1+µ) (пункт 3.3)
Класс нагрузки (пункт 3, формула 3.1):