Здесь величина M didt1 e2M представляет собой ЭДС взаимной индук-
ции, которая током первичной обмотки i1 наводится во вторичной обмотке. Именно эта ЭДС обусловливает ток i2 во вторичной обмотке трансформатора и нагрузке Zн.
Составляющая u1M M didt2 в первом уравнении системы (3.127) является падением напряжения, которое компенсирует ЭДС взаимной индукции e1M M didt2 , наводимой током вторичной обмотки i2 в первичной обмотке.
Наличие ЭДС e1M и e2M характеризуют двухстороннюю магнитную связь в схеме воздушного трансформатора.
В режиме холостого хода, когда вторичный контур разомкнут, ток i2 = 0 и система уравнений (3.127) приобретает вид:
r i |
L |
di1х.х |
u |
; |
|
|||||
|
1 1х.х |
1 |
|
dt |
1 |
|
(3.128) |
|||
|
|
|
|
|
di1х.х |
|
|
|||
u |
2х.х |
M |
e |
. |
||||||
|
||||||||||
|
|
|
|
dt |
|
|
2Mх.х |
|
||
|
|
|
|
|
|
|
|
|
||
В этом режиме магнитная связь односторонняя, поскольку магнитный поток вторичной обмотки отсутствует.
Уравнения (3.79) в комплексной форме имеют вид:
r1r2
j L |
I |
j MI |
U |
1 |
; |
|
||||
1 |
|
1 |
|
|
|
2 |
|
|
(3.129) |
|
j L |
|
I |
|
U |
|
j MI . |
||||
|
|
2 |
|
|||||||
2 |
2 |
|
|
|
|
1 |
|
|||
Решение системы уравнений (3.129) позволяет определить токи первичной и вторичной обмоток и исследовать режимы трансформатора в полном диапазоне изменения параметров, т. е. от режима холостого хода (Zн = ∞) до режима короткого замыкания (Zн = 0).
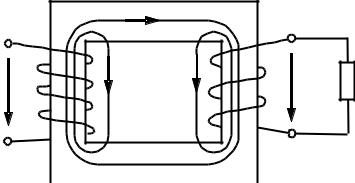
Уравнения трансформатора с ферромагнитным сердечником формируются в несколько иной форме. Рассмотрим идеализированную модель двухобмоточного трансформатора (рис. 3.27), принимая условие ac const , где ac – абсолютная магнитная проницаемость сердечника.
105
|
Магнитная проницаемость сердечника во много раз превышает магнитную |
|||||||||
проницаемость воздуха, поэтому магнитный поток в основном замыкается внут- |
||||||||||
ри сердечника и образуется составляющая Ф, называемая основным магнитным |
||||||||||
потоком; |
незначительная |
|
|
|
|
|||||
часть общего потока от- |
|
|
|
|
||||||
ветвляется в воздух. |
|
|
|
|
|
|
||||
|
На |
рис. 3.27 |
|
эта |
1S |
2S |
|
|
||
часть |
обозначена |
пото- |
u2 |
ZН |
||||||
u |
|
|||||||||
косцеплениями |
1S |
и |
1 |
|
|
|
||||
|
|
|
|
|||||||
2S . Поскольку магнит- |
|
|
|
|
||||||
ная |
проницаемость воз- |
|
|
|
|
|
|
духа |
величина |
постоян- |
r1 , L1 , w1 |
r2 , L2 , w2 |
|||
ная |
( aв 0 ), |
то спра- |
|
|
Рис. 3.27. Схема замещения |
||
ведливы соотношения: |
|
двухобмоточного трансформатора |
|||||
|
|
|
|
L i ; |
(3.130) |
||
|
|
|
1S |
1S 1 |
|||
|
|
|
2S L2Si2, |
|
|
||
где L1S и L2S – индуктивности рассеяния первичной и вторичной обмоток.
С обеими обмотками связан основной магнитный поток Ф, поэтому он и определяет взаимную магнитную связь между обмотками.
Система уравнений (3.127) для рассматриваемой модели приобретает вид:
|
|
|
|
r i L |
di1 |
w |
d |
u |
; |
|
|||||
|
|
|
|
|
1 1 |
1S |
|
dt |
|
1 |
|
dt |
1 |
(3.131) |
|
|
|
|
|
|
|
|
|
|
|
|
|
|
|
||
|
|
|
|
r i |
L |
|
di2 |
u |
2 |
w d . |
|
||||
|
|
|
|
|
2 2 |
2S |
dt |
|
|
|
2 |
dt |
|
||
|
|
|
|
|
|
|
|
|
|
|
|
|
|
||
В системе уравнений (3.131) |
|
|
|
|
|
|
|
|
|
||||||
w |
d |
u |
e |
– |
падение напряжения, |
компенсирующее ЭДС e |
, |
||||||||
1 |
dt |
1 |
1M |
|
|
|
|
|
|
|
|
|
|
1M |
|
наводимую в первичной обмотке потоком Ф;
w2 ddt e2M – ЭДС, наводимая потоком Ф во вторичной обмотке; w1, w2 – число витков первичной и вторичной обмоток соответственно.
106
Отношение ЭДС
e1M |
|
w1 |
(3.132) |
|
e |
w |
|||
|
|
|||
2M |
2 |
|
||
является одним из важнейших параметров применяемых трансформаторов и называется коэффициентом трансформации:
K |
w1 |
. |
(3.133) |
|
|||
|
w |
|
|
2 |
|
|
|
Приближенное значение коэффициента трансформации определяется как отношение напряжений U1 и U2.
3.10.3.Особенности расчета разветвленных цепей
смагнитно-связанными элементами
Рассмотрим особенности составления уравнений по законам Кирхгофа на примере схемы рис. 3.28. Сложность состоит в том, что в отличие от обычных цепей здесь на правило знаков, связанное с обходом контура, накладывается еще правило согласного и встречного включения. Поэтому рекомендуется следующая последовательность действий.
|
. |
|
|
|
UL1 |
r |
|
|
I |
C |
|
|
1 |
1 |
|
E1 |
L1 |
M12 |
|
|
|
||
|
r2 |
L2 |
2 |
|
|
. |
I |
E |
M23 |
UL2 |
|
2 |
|
. |
|
|
UL3 r3 |
3 |
|
|
|
|
I |
L3
Рис. 3.28. Разветвленная цепь с магнитно-связанными элементами
Сначала необходимо стрелками обозначить падения напряжений U L1 , UL2 , UL3 на индуктивностях согласно с направлениями токов ветвей. Значения
107
этих напряжений с учетом магнитных связей выражаются с применением правила определения согласного и встречного включения:
|
U |
L1 |
j L I |
|
j M |
12 |
I ; |
|
|
|
|
|
||||
|
|
|
|
|
|
|
||||||||||
|
|
1 1 |
|
|
|
2 |
|
|
|
|
|
|||||
|
U |
L2 |
j L I |
|
j M |
12 |
I |
j M |
23 |
I |
; |
(3.134) |
||||
|
|
2 |
2 |
|
|
|
1 |
|
3 |
|
|
|||||
|
U |
L3 |
j L I |
|
|
j M |
23 |
I . |
|
|
|
|
||||
|
|
3 3 |
|
|
2 |
|
|
|
|
|
||||||
Затем составляется система уравнений для двух контуров и одного узла схемы:
|
|
|
|
|
|
|
1 |
|
|
|
|
|
|
|
|
|
|
|
|
|
U |
L1 |
r I |
j |
C |
I |
U |
L2 |
r I |
|
E |
; |
|||||||||
|
|
|
1 1 |
|
|
|
1 |
|
|
|
2 |
2 |
1 |
|
||||||
r I |
U |
L2 |
r I |
|
U |
L3 |
E |
2 |
; |
|
|
(3.135) |
||||||||
|
2 |
2 |
|
|
|
3 3 |
|
|
|
|
|
|
|
|
||||||
I |
I |
|
I 0. |
|
|
|
|
|
|
|
|
|
|
|
|
|||||
1 |
|
2 |
|
3 |
|
|
|
|
|
|
|
|
|
|
|
|
|
|
|
|
Подстановка значений напряжений (3.134) в уравнения (3.135) приводит к конечной системе уравнений:
r j |
L |
1 |
M |
12 |
I |
|
r j L M |
12 |
I |
|
j M |
23 |
I |
|
E |
; |
|||||||||||||||
|
|
|
|
||||||||||||||||||||||||||||
1 |
|
|
1 |
|
C |
|
|
|
1 |
2 |
|
|
2 |
|
|
|
2 |
|
|
3 |
1 |
|
|||||||||
|
|
|
|
|
|
|
|
|
|
|
|
|
|
|
|
|
|
|
|
|
|
|
|
|
|
|
|
|
|
||
|
|
|
|
|
|
j |
|
|
|
|
M 23 |
|
|
|
|
j |
|
|
|
|
|
|
|
|
|
|
(3.136) |
||||
|
r2 |
L2 |
|
L3 |
|
|
|
E2; |
|||||||||||||||||||||||
j M12I1 |
|
|
|
|
|
I2 |
r3 |
|
|
|
M 23 I3 |
|
|
|
|||||||||||||||||
I |
I |
I |
0, |
|
|
|
|
|
|
|
|
|
|
|
|
|
|
|
|
|
|
|
|
|
|
|
|
|
|||
1 |
2 |
|
3 |
|
|
|
|
|
|
|
|
|
|
|
|
|
|
|
|
|
|
|
|
|
|
|
|
|
|
|
|
которая и подлежит решению.
В итоге видно, что система уравнений (3.135) составлена только с учетом правил, которые сформулированы в подразд. 2.1 при рассмотрении законов Кирхгофа. Разделение на отдельные этапы составления соотношений (3.134) и уравнений (3.135) позволяет избежать ошибок в знаках членов конечной системы уравнений (3.136).
Для решения подобных задач может быть применен и метод контурных токов, но его реализация сложнее, так как требуется использовать дополнительные правила составления уравнений. Метод узловых потенциалов принципиально неприменим, поскольку его основу составляет зависимость тока ветви только от напряжения на зажимах этой же ветви. В данном случае этот принцип нарушается, так как из-за наличия магнитных связей ток ветви зависит от режимов и других ветвей.
108
3.10.4. Примеры расчета электрических цепей
смагнитно-связанными элементами
Пр и м е р 1 . В электрической цепи (рис. 3.29) имеют место следующие параметры:
U = 5 В, |
r1 = 2 Ом, |
r2 = 2 Ом, |
xL1 = 4 Ом, |
xL2 = 3 Ом, |
xC = 2 Ом, |
xM = 1 Ом. |
|
|
|
Требуется:
а) комплексным методом определить ток цепи; б) построить векторную диаграмму.
Р е ш е н и е . Расчетный ток входит в начало первой и конец второй катушки, следовательно, катушки включены встречно.
Рис. 3.29. Электрическая цепь с магнитно-связанными элементами
По второму закону Кирхгофа имеем:
uC ur1 uL1 uM ur 2 uL2 uM u
или
I jxC r1 jxL1 jxM r2 jxL2 jxM U .
После подстановки и вычислений определяем комплексное действующее значение входного тока цепи:
I 1e j36,9 .
Соответствующая векторная топографическая диаграмма приведена на рис. 3.30.
109