Материал: 4809

Внимание! Если размещение файла нарушает Ваши авторские права, то обязательно сообщите нам

21

Эстакаду поперечных транспортеров делают деревянной или металлической. Ее высота должна обеспечить размещение под ней лесонакопителей или отводящих устройств, если они имеются. Лесонакопители часто выполняют в виде вагонеток, устанавливаемых под люками, через которые в них проваливаются отсортированные бревна.

Для улучшения процесса формирования пачки над лесонакопителем 5 (см. рис. 11, а) размещают комплект автоматически управляемых рычагов 4, образующих емкость, в которую проваливаются сортименты из люков 3. Вначале рычаги занимают положение I, затем по мере заполнения раскрываются и, плавно опуская пачку в лесонакопитель, переходят в положение II. Благодаря использованию рычагов, высота падения сортиментов все время остается минимальной, обеспечивая равномерное заполнение емкости.

При сортировке по схемам раскроя под каждым люком устанавливают комплект вагонеток-лесонакопителей, соответствующих схеме раскроя хлыста (бревна). Вместо лесонакопителей под люками могут быть отводящие устройства в виде продольных транспортеров 2, рис. 11, б.

4 Сортировка манипуляторами.

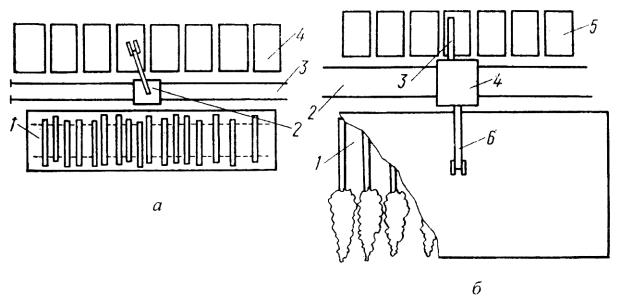
На сортировке и пакетировании круглых лесоматериалов при сравнительно небольшом числе сорторазмеров эффективно применять манипуляторы. Сортировочно-пакетирующий участок располагают в зоне действия консольно-козлового или башенного крана. Нерассортированные сортименты поступают на питатель 1 (рис. 13, а), откуда их поштучно забирает полноповоротный манипулятор 2, передвигающийся по рельсовому пути 3 и укладывает их в соответствующие лесонакопители 4. Сформированная в накопителе пачка укладывается им в штабель или погружается на подвижной состав.

По условиям работы манипулятор должен иметь грузоподъемность 2…3 т. Питатель представляет собой эстакаду, оборудованную растаскивающим устройством с челночным захватом. Подача сортиментов на питатель может производится непосредственно от раскряжевочной установки, поперечным транспортером или самоходным погрузчиком. В зависимости от требуемой производительности и дробности сортировки питатель обслуживается одним или двумя манипуляторами. Взаимное расположение питателя, рельсовых путей, манипуляторов и лесонакопителей различно в зависимости от конкретных условий.

Производительность сортировочно-пакетирующего участка с двумя манипуляторами, каждый из которых обслуживает один оператор, в зависимости от среднего объема бревна, составляет 35…45 м /час.

Сортировочно-пакетирующая установка с использованием манипуляторов по сравнению с продольными транспортерами менее металлоемка и требует значительно более простых и дешевых строительно-монтажных работ.

22

На складах с годовым грузооборотом 40…60 тыс. м3 экономически эффективно применение многооперационных машин, выполняющих наряду с обрезкой сучьев и раскряжевкой хлыстов так же и операцию сортировки.

Рис. 13. Схема расположения на складе самоходных сортировочных машин: а - манипулятора: 1 - штабель; 2 - манипулятор; 3 - рельсовый путь; 4 - лесонакопитель; б - многооперационной машины

Многооперационная машина выполняет комплекс операций (рис. 13, б) снабжена манипулятором 6 с клещевым захватом (передвигающимся вдоль стрелы), сучкорезной головкой с жесткими ножами, маятниковой пилой и приемным опрокидывающимся лотком 3. Технологическое оборудование и кабина оператора смонтированы на самоходной тележке 4, передвигающейся по рельсовому пути 2. По одну сторону пути тележки расположены лесонакопители 5, по другую - деревья 1, уложенные комлями в сторону пути. Дерево, захваченное манипулятором, перемещается в осевом направлении и подается на обработку. Машина перемещается от накопителя к накопителю, останавливаясь против каждого из них на время, необходимое для опрокидывания лотка 3 и перегрузки из него в накопитель отпиленного сортимента. Машина может обрабатывать деревья диаметром в месте реза до 0,6 м; скорость продольного перемещения ствола 0,3…1 м/с; скорость перемещения машины до 1,5 м/с. Производительность машины при обслуживании одним оператором составляет в среднем 20 м3/час.

23

5 Управление процессом сортировки круглых лесоматериалов

При изучении вопроса управления процессом сортировки круглых лесоматериалов рассмотрим функционирование продольных сортировочных транспортеров для различных вариантов размещения лесонакопителей:

1. Размещение лесонакопителей производится по мере убывания сменных объемов сортиментов QСМi

2.Размещение лесонакопителей производится по мере возрастания сменных объемов сортиментов QСМi

3.Размещение лесонакопителей производится по схеме когда максимальный сменный объем сортиментов QСМi в центре а на концах транспорте-

ра наименьшие.

4. Размещение лесонакопителей производится по схеме когда минимальный сменный объем сортиментов QСМi в центре а на концах транспорте-

ра максимальные.

В качестве оценочного показателя рекомендуется принять удельные энергозатраты на единицу производительности труда. Оптимальный вариант размещения лесонакопителей определяется по минимуму этого показателя:

 

 

 

 

 

 

 

 

 

 

 

 

 

 

 

Lijk g μ lс

 

 

ЭУД

m

 

,

 

 

 

 

 

 

 

 

 

 

 

То 1 2

Vс

 

η

где m - средневзвешенная масса перемещаемых сортиментов;

Lijk - средневзвешенный путь перемещения i -го сортимента в j - ый накопитель в k -ом варианте размещения лесонакопителей, м;

g- ускорение свободного падения, м/с2;

μ- коэффициент трения скольжения траверс по направляющим транс-

портера (трение со смазкой стали по древесине); μ 0,18...0,2 ;

lс - средняя длина сортируемых сортиментов, м;

То - продолжительность смены, с; при пятидневной рабочей неделе -

28800 с, при шестидневной рабочей неделе – 25 200 с; 1 - коэффициент использования рабочего времени, 1 =0,75…0,9;

2 - коэффициент загрузки транспортера, т.е. отношение суммарной

длины всех сортиментов, расположенных на транспортере, к расстоянию между осями его ведущей и ведомой звездочек;

- скорость тягового органа, м/с;

Vс - средний объем сортируемых сортиментов, м3;

η - общий КПД кинематических пар, передающих вращающий момент от электродвигателя к ведущей звездочки тягового органа.

Средневзвешенная масса перемещаемых сортиментов определяется следующим образом

24

I

mi QСМi

 

 

 

i 1

m

QСМ

 

 

 

где QСМi - сменный объем сортировки i -го сортимента, м3;

Q

QГ

;

 

СМ

N n

 

QСМ - сменный объем сортировки всех сортиментов, м3;

Q

QГi

;

 

СМi

N n

 

где QГ – годовой объем сортировки, м3;

QГ i – годовой объем сортировки i -го сортимента, м3;

N – число рабочих дней в году, дн.; n – число смен в сутки, см.

При этом

QГi

QГ Pi

100

 

где Pi – объемный выход i-го сортимента, %.

Решение поставленной задачи выполняется по индивидуальному заданию на курсовой проект по дисциплине «Технология и оборудование лесных складов и лесообрабатывающих цехов», откуда выписывается - годовой объем производства, число рабочих дней в году, количество рабочих смен, породный состав древесины, средний объем хлыста, размерная характеристика получаемых сортиментов. После этого, рассчитывается сортиментный план проектируемого предприятия, и производится ряд предварительных вычислений с внесением результатов в таблицу форма которой, представлена в приложении 1. Далее вычерчивается схема сортировки лесоматериалов по четырем вариантам размещения лесонакопителей (приложение 2).

6 Содержание отчета по лабораторной работе

1Анализ характеристик предмета труда и их влияние на процесс сортировки.

2Обоснование способа и технологической схемы.

3Выбор технологического оборудования для реализации способа и технологической схемы (последнюю вычертить).

4Решение задачи по определению удельных энергозатрат по различным вариантам размещения лесонакопителей.

5Выводы и предложения.

25

7 Контрольные вопросы

1.При помощи какого оборудования на лесопромышленных складах производят сортировку круглых лесоматериалов?

2.По каким признакам производится сортировка круглых лесоматериа-

лов?

3.Как определяется потребная длина продольного сортировочного транспортера?

4.Назовите основные узлы сортировочного транспортера.

5.Как классифицируются бревносбрасыватели?

6.Перечислите основные требования к лесонакопителям.

7.Опишите специфику поперечных сортировочных транспортеров.